Телевизоры кинескопные Sony KV-21FT1K - инструкция пользователя по применению, эксплуатации и установке на русском языке. Мы надеемся, она поможет вам решить возникшие у вас вопросы при эксплуатации техники.
Если остались вопросы, задайте их в комментариях после инструкции.
"Загружаем инструкцию", означает, что нужно подождать пока файл загрузится и можно будет его читать онлайн. Некоторые инструкции очень большие и время их появления зависит от вашей скорости интернета.

116
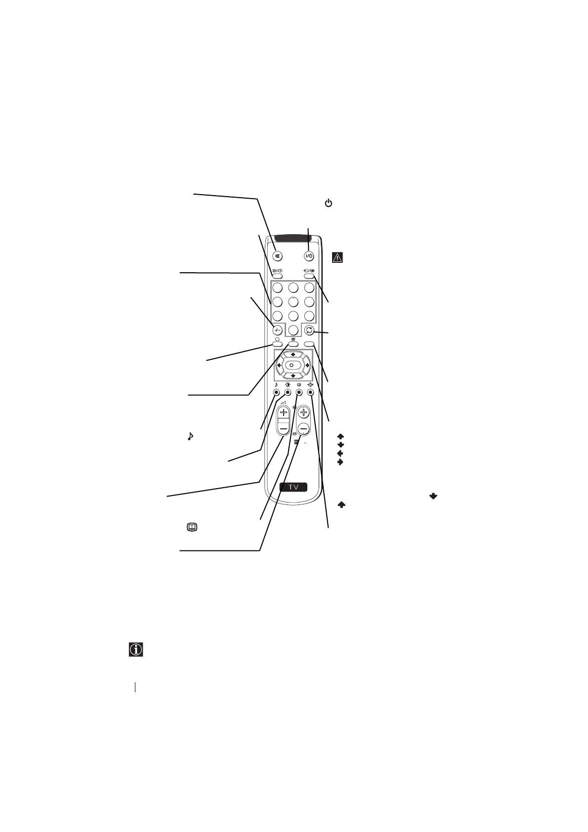
Uzaktan kumanda tuxlarwnwn genel açwklamasw
Genel tanwtwm
Ses kesme tuxu
Sesi kesmek için baswnwz.
Sesi açmak için tekrar baswnwz.
Ekranda bilgileri gürüntülemek için
Ekrandaki tüm göstegeleri
görüntülemek ve silmek için bu tuxa
baswnwz.
Kanal seçimi
Kanal seçmek için bu tuxlara baswnwz.
Wki dijitli numaralar için, mesala 23,
ilk -/-- ve devamwnda 2 ve 3
numaralarwna baswnwz.
Eqer ilk dijitte hata yaparsanwz, ikinci
dijiti girerek devam edin (0 dan 9 a) ve
ardwndan ixlemi tekrarlaywnwz.
TV modunun seçimi
TeleteÍti veya videoyu devreden
çwkarmak için bu tuxa baswnwz.
TeleteÍt seçimi
TeleteÍti görüntülemek için bu tuxa
baswnwz.
Bu tux sadece teleteÍt modunda iken
çalwxwr. Bu tuxun ortak fonksiyonu,
bu televizyonda çalwxmaz.
Görüntü modunun seçimi
Görüntü modunu deqixtirmek için bu
tuxa baswnwz.
Ses ayarw
TV ses ayarw için bu tuxa baswnwz.
Bu tux sadece teleteÍt modunda iken
çalwxwr. Bu tuxun
ortak fonksiyonu,
bu televizyonda çalwxmaz.
Kanal seçimi
Önceki veya sonraki kanalw seçmek
için bu tuxa baswnwz.
S
RM 887
PROGR
MENU
1
4
7
2
5
8
0
3
6
9
K
TV cihazwnwn geçici olarak kapatwlmasw
TV cihazwnwn geçici olarak kapatmak için bu tuxa baswnwz
(bekleme modu
yanacaktwr). Bekleme modundan
(standby) TV cihazwnwzw tekrar çalwxtwrmak için aynw tuxa
yeniden baswnwz.
Enerjiden tasarruf için cihazwnwzw kul-
lanmadwqwnwz zamanlarda tamamen
kapatmanwzw öneririz.
15 dakika süreyle TV sinyali
alwnmamasw ya da düqmeye
baswlmamasw durumunda TV
otomatik olarak bekleme/
standby konumuna geçecektir.
Girix kaynaklarwnwn seçimi
Arzu edilen girix sembolü ekranda
görününceye kadar bu tuxa baswnwz.
En son seçilen kanala dönme
Son seçilen kanalw tekrar görmek için
bu tuxa baswnwz (görmek istenilen
kanal daha önce en az 5 saniye
ekranda kalmwx olmalwdwr).
Menü sisteminin çalwxtwrwlmasw
Menüyü ekranda görüntülemek,
silmek ve normal TV ekranwna
dönmek için bu tuxa baswnwz.
Menü seçimi tuxlarw
•
MENU faaliyette olduqu zaman:
Bir yukarw noktaya çwkmak
Bir axaqw noktaya inmek
Bir önceki menü veya seçime dönmek
Bir sonraki menü veya seçime gitmek
OK
Seçimi onaylamak
•
MENU faaliyette olmadwqw zaman:
Kanallarwn genel bir listesini
gösterir. Kanal seçimi için
veya
tuxlarwna baswnwz. Seçilen kanalw
görmek için
OK
tuxuna baswnwz.
Ekran formatwnwn seçimi
Ekran formatwnw deqixtirmek için
kullanwlwr. 4.3 klasik görüntü ve 16.9
genix benzeri ekran için.
Bütün renkli tuxlar televizyonun yanwswra TeleteÍt ixlemlerinde de kullanwlwr. Daha ayrwntwlw
bilgi için bu kullanwm kwlavuzunun “TeleteÍt” bölümünü okuyunuz.
Содержание
- 84 Назначение кнопок на пульте дистанционного управления; Общее описание
- 85 выключение; Общее описание - Установка
- 86 Включение и автоматическая настройка телевизора; Первое включение телевизора в работу
- 87 Телевизор готов к работе.
- 88 Введение и работа с системой меню; Вывод системы меню на экран; Схема меню; Уровень; четкость; можно изменить только в том случае, если Вы выбрали; Цветовой тон; можно изменять только в системе цвета NTSC (например, видеопленки; Cтaндapт; и нажмите на
- 89 ТАЙМЕР ВЫКЛЮЧЕНИЯ; За одну минуту до временного; ТАЙМЕР ВКЛЮЧЕНИЯ; Индикатор
- 90 АВТОНАСТРОЙКА
- 93 RGB Чeнтpиpoвaниe
- 94 настроена. В этом случае введите другой номер страницы.; Фастекст
- 95 Подключение дополнительных устройств; Подключение; Использование дополнительных устройств; Дополнительная информация
- 96 Спецификации; Допoлнитeльнaя инфомация; Otæezataho b Cjobaknn
- 97 Выявление неисправностей; Неисправность












