Телевизоры кинескопные Sony KV-14LT1K - инструкция пользователя по применению, эксплуатации и установке на русском языке. Мы надеемся, она поможет вам решить возникшие у вас вопросы при эксплуатации техники.
Если остались вопросы, задайте их в комментариях после инструкции.
"Загружаем инструкцию", означает, что нужно подождать пока файл загрузится и можно будет его читать онлайн. Некоторые инструкции очень большие и время их появления зависит от вашей скорости интернета.

4
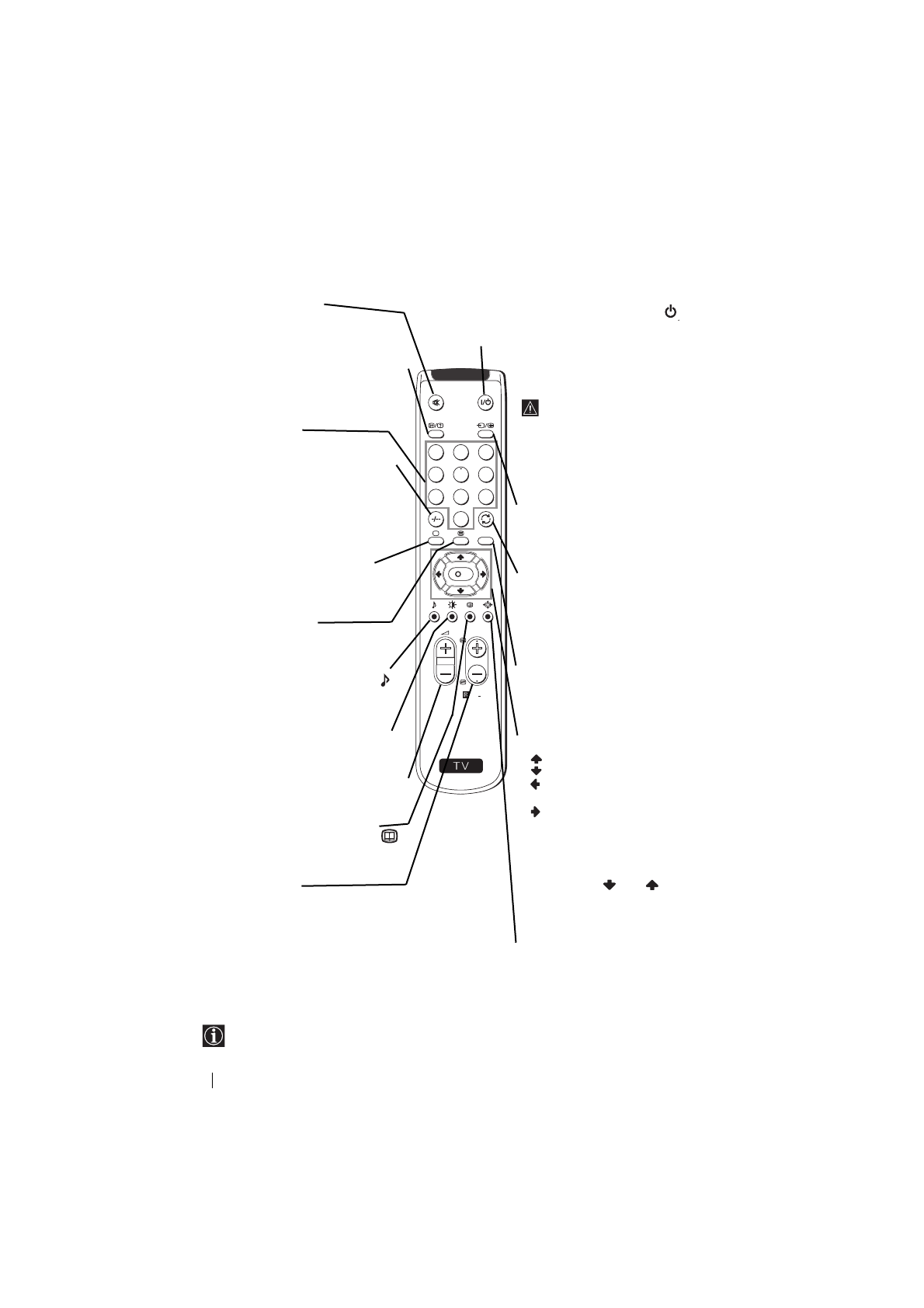
Назначение кнопок на пульте дистанционного управления
Общее описание
Отключение звука
Нажать для отключения звука.
Нажать еще раз для
восстановления звука.
Показать информацию на экране
Нажать для вывода на экран всех
указаний. Снова нажать для
отмены.
Выбор каналов
Нажать для выбора каналов.
Для номеров программы из двух
цифр, например, 23, нажмите
сначала -/--, а затем кнопки 2 и 3.
Если Вы ошиблись при вводе
первой цифры, введите вторую
цифру (от 0 до 9), после чего
повторите снова эту операцию.
Выбор режима телевизора
Нажмите для отключения
телетекста или входа сигнала
видео.
Выбор телетекста
Нажмите для включения
телетекста.
Эта кнопка работает только в
режиме телетекста. Функция
данной кнопки не предусмотрена
для данного телевизора.
Выбор Режима Изображения
Нажмите несколько раз для смены
Режима Изображения.
Регулировка Уровня Громкости
Нажмите для регулировки уровня
громкости телевизора.
Эта кнопка работает только в
режиме телетекста. Функция
данной кнопки не предусмотрена
для данного телевизора.
Выбор каналов
Нажмите для выбора следующего
или предыдущего канала.
S
RM 887
PROGR
MENU
1
4
7
2
5
8
0
3
6
9
K
Временное отключение телевизора
Нажмите для временного отключения телевизора
(загорится индикатор режима ожидания
).
Нажмите еще раз для включения телевизора из
режима временного отключения (standby).
В целях экономии
электроэнергии мы рекомендуем
полностью выключать телевизор,
если Вы им не пользуетесь..
Если в течение 15 минут нет
телевизионного сигнала, и если
Вы не нажимаете ни на одну из
кнопок, телевизор
автоматически перейдет в
режим временного отключения
(standby).
Выбор входного сигнала
Нажмите несколько раз, пока
обозначение требуемого
входного сигнала не появится на
экране.
Возвращение к последнему
выбранному каналу
Нажмите для возвращения к
последнему выбранному каналу
(предыдущий канал должен был
задержаться на экране в течение
5 секунд минимально)
Включение системы меню
Нажмите для вывода меню на
экран. Нажмите еще раз для его
выключения и для возвращения к
обычному экрану телевизора.
Кнопки выбора меню
•
Когда MENU включено:
Подняться на одну строчку.
Опуститься на одну строчку.
Вернуться к предыдущему
меню или выбору.
Перейти к последующему
меню или выбору.
OK
Подтвердить выбор.
•
Когда MENU выключено:
OK
Показывает общий список
каналов. Выберите канал,
нажимая на
или
, после
чего снова нажмите на
ОК
для
того, чтобы увидеть выбранный
канал.
Выбор формата экрана
Нажмите несколько раз для
изменения формата экрана: 4:3
для обычного изображения или
16:9 для имитaции широкого
экрана.
Помимо функций телевизора, все цветные кнопки также используются для работы
с телетекстом. Для получения более подробной информации, обратитесь к
Разделу «Телетекст» данной Инструкции по Эксплуатации.
Содержание
- 94 Назначение кнопок на пульте дистанционного управления; Общее описание
- 95 специально установленные для этого контейнеры.; Общее описание - Установка; выключение
- 96 Установка
- 97 Включение и автоматическая настройка телевизора; Первое включение телевизора в работу
- 98 Телевизор готов к работе.
- 99 Введение и работа с системой меню; Вывод системы меню на экран; Схема меню; Уровень; четкость; можно изменить только в том случае, если Вы выбрали; Цветовой тон; можно изменять только в системе цвета NTSC (например, видеопленки; Cтaндapт; и нажмите на
- 100 ТАЙМЕР ВЫКЛЮЧЕНИЯ; За одну минуту до временного; ТАЙМЕР ВКЛЮЧЕНИЯ; Индикатор
- 101 АВТОНАСТРОЙКА
- 104 RGB Чeнтpиpoвaниe
- 105 настроена. В этом случае введите другой номер страницы.; Фастекст
- 106 Подключение дополнительных устройств; Подключение; Использование дополнительных устройств; Дополнительная информация
- 107 Спецификации; Допoлнитeльнaя инфомация; Otæezataho b Cjobaknn.
- 108 Выявление неисправностей; нарушений качества изображения и звука.; Неисправность












