Телевизоры кинескопные Sony KV-14LT1K - инструкция пользователя по применению, эксплуатации и установке на русском языке. Мы надеемся, она поможет вам решить возникшие у вас вопросы при эксплуатации техники.
Если остались вопросы, задайте их в комментариях после инструкции.
"Загружаем инструкцию", означает, что нужно подождать пока файл загрузится и можно будет его читать онлайн. Некоторые инструкции очень большие и время их появления зависит от вашей скорости интернета.

7
PL
Włączanie telewizora i automatyczne programowanie
Gdy telewizor zostanie włączony po raz pierwszy na ekranie pojawią się menu dzięki
którym można: 1) wybrać język w którym wyświetlane będą wszystkie menu, 2) wybrać
kraj w którym używane będzie urządzenie, 3) odnaleźć i automatycznie zapisać wszystkie
dostępne kanały (stacje telewizyjne) i 4) zmienić kolejność w której kanały (stacje
telewizyjne) pojawiają się na ekranie.
Jeśli po jakimś czasie zaistnieje potrzeba zmiany języka w którym wyświetlane są menu,
kraju, automatycznego programowania (np. przy zmianie miejsca zamieszkania) lub
kolejności pojawiania się kanałów, można tego dokonać wybierając odpowiednie menu w
(Ustawianie). Szersza informacja znajduje się w rozdziale «Krótki przewodnik po
systemie menu” niniejszej instrukcji obsługi. Można również dokonać zmiany naciskając
przycisk telewizora.
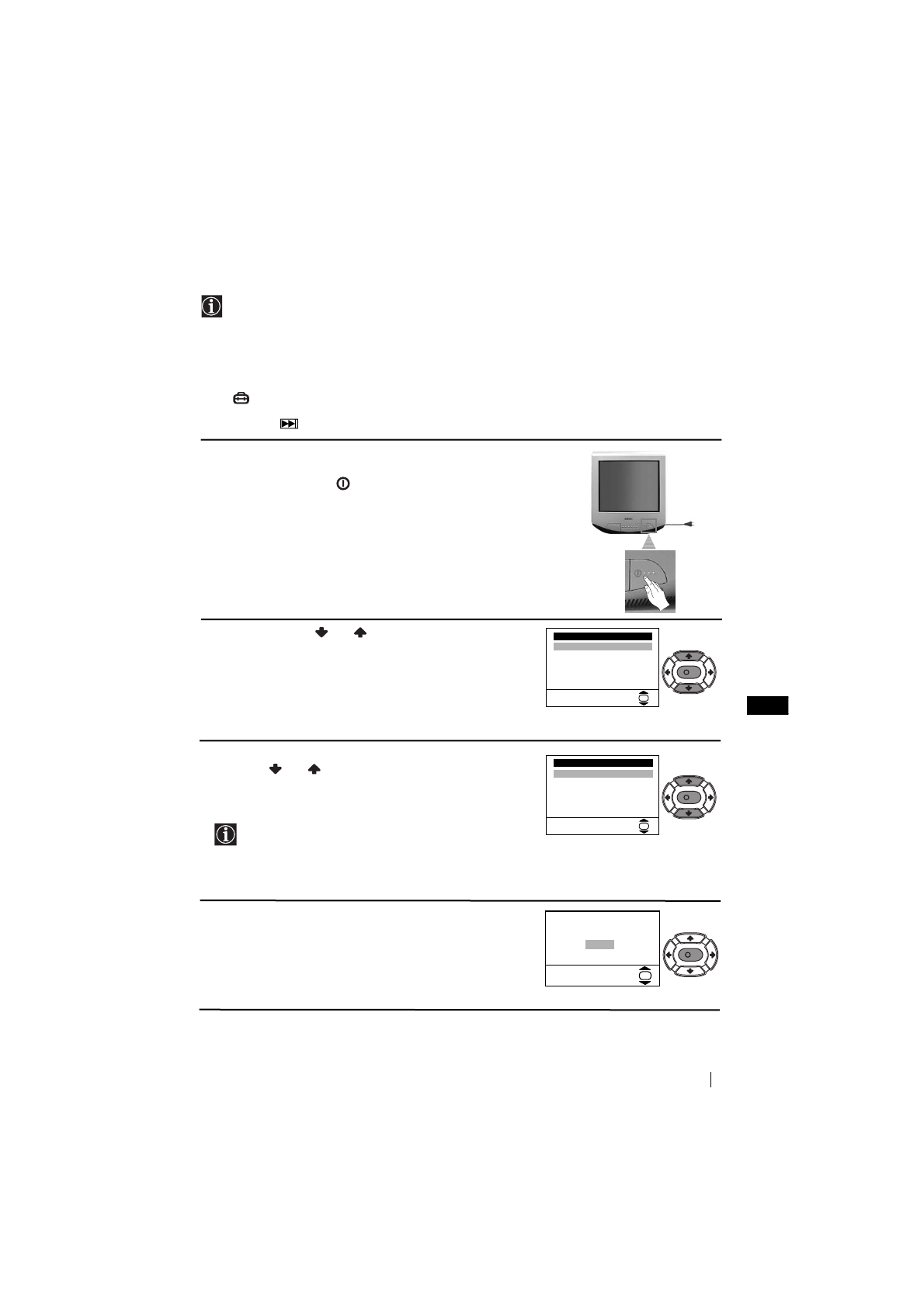
Pierwsze uruchomienie telewizora
1
Włącz przewód zasilający telewizora do gniazdka
sieciowego (220-240V AC, 50Hz). Naciśnij przycisk
włączony/wyłączony
znajdujący się z przodu
telewizora, by włączyć urządzenie.
Gdy przycisk ten zostanie naciśnięty po raz pierwszy, na
ekranie automatycznie zostanie wyświetlone menu
Language
(Język).
2
Naciśnij przycisk
lub
na pilocie by wybrać język, a
następnie naciśnij przycisk
OK
by potwierdzić wybór.
Od tego momentu wszystkie menu będą wyświetlane w
wybranym języku.
3
Na ekranie pojawi się automatycznie menu
Kraj
. Naciśnij
przycisk
lub
by wybrać kraj w którym będzie
używany telewizor, a następnie naciśnij przycisk
OK
by
potwierdzić wybór.
Jeśli na liście nie ma kraju w którym będzie
używany telewizor , wybierz “-“ zamiast nazwy
kraju.
4
Menu
Autoprogramowanie
pojawi się na ekranie.
Naciśnij przycisk
OK
by wybrać opcję
Tak
.
Language
Select Language:
English
Español
Français
Italiano
Magyar
Nederlands
OK
Kraj
Wyb
ó
r kraju:
-
Бългapия
Č
esk
á
rep.
Magyarország
Polska
Rom
â
nia
OK
Czy chcesz rozpocząć
automatyczne programowanie?
Tak
Nie
OK
K
K
K
kontynuuje...
Содержание
- 94 Назначение кнопок на пульте дистанционного управления; Общее описание
- 95 специально установленные для этого контейнеры.; Общее описание - Установка; выключение
- 96 Установка
- 97 Включение и автоматическая настройка телевизора; Первое включение телевизора в работу
- 98 Телевизор готов к работе.
- 99 Введение и работа с системой меню; Вывод системы меню на экран; Схема меню; Уровень; четкость; можно изменить только в том случае, если Вы выбрали; Цветовой тон; можно изменять только в системе цвета NTSC (например, видеопленки; Cтaндapт; и нажмите на
- 100 ТАЙМЕР ВЫКЛЮЧЕНИЯ; За одну минуту до временного; ТАЙМЕР ВКЛЮЧЕНИЯ; Индикатор
- 101 АВТОНАСТРОЙКА
- 104 RGB Чeнтpиpoвaниe
- 105 настроена. В этом случае введите другой номер страницы.; Фастекст
- 106 Подключение дополнительных устройств; Подключение; Использование дополнительных устройств; Дополнительная информация
- 107 Спецификации; Допoлнитeльнaя инфомация; Otæezataho b Cjobaknn.
- 108 Выявление неисправностей; нарушений качества изображения и звука.; Неисправность












