Сварочное оборудование Сварог TIG 250 «REAL» (W229) - инструкция пользователя по применению, эксплуатации и установке на русском языке. Мы надеемся, она поможет вам решить возникшие у вас вопросы при эксплуатации техники.
Если остались вопросы, задайте их в комментариях после инструкции.
"Загружаем инструкцию", означает, что нужно подождать пока файл загрузится и можно будет его читать онлайн. Некоторые инструкции очень большие и время их появления зависит от вашей скорости интернета.

37
REAL TIG 250 (W229)
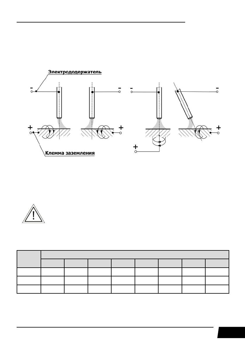
13.4. ЭЛЕКТРОМАГНИТНОЕ ДУТЬЕ
При сварке на постоянном токе также следует учитывать эффект
электромагнитного
дутья
дуги. Для уменьшения данного фактора следует перемещать место клеммы заземле-
ния либо изменить угол наклона электрода (См. рис. 13.8).
Рис. 13.8. Схема отклонения дуги постоянного тока.
13.5. УВЕЛИЧЕНИЕ ДЛИНЫ СВАРОЧНЫХ КАБЕЛЕЙ
Старайтесь избегать ситуации, когда приходится использовать чрезмерно длинные кабель
электрододержателя и обратный кабель.
Если необходимо увеличить их длину, увеличивайте также и сечения
кабелей с целью уменьшения падения напряжения на кабелях.
В общем случае, постарайтесь просто пододвинуть источник ближе к зоне сварки для
использования кабелей 3 – 5 метровой длины.
Таблица 13.1. Сечение сварочного кабеля.
Сила
тока
Длина сварочного кабеля, м
15
20
30
40
45
55
60
70
100 А
КГ 1*16
КГ 1*25
КГ 1*25
КГ 1*35
КГ 1*35
КГ 1*50
КГ 1*50
КГ 1*50
150 А
КГ 1*25
КГ 1*25
КГ 1*35
КГ 1*50
КГ 1*50
КГ 1*75
КГ 1*75
КГ 1*95
200 А
КГ 1*25
КГ 1*35
КГ 1*50
КГ 1*75
КГ 1*75
КГ 1*95
КГ 1*95
Характеристики
Остались вопросы?Не нашли свой ответ в руководстве или возникли другие проблемы? Задайте свой вопрос в форме ниже с подробным описанием вашей ситуации, чтобы другие люди и специалисты смогли дать на него ответ. Если вы знаете как решить проблему другого человека, пожалуйста, подскажите ему :)





