Синтезаторы Yamaha P-155 - инструкция пользователя по применению, эксплуатации и установке на русском языке. Мы надеемся, она поможет вам решить возникшие у вас вопросы при эксплуатации техники.
Если остались вопросы, задайте их в комментариях после инструкции.
"Загружаем инструкцию", означает, что нужно подождать пока файл загрузится и можно будет его читать онлайн. Некоторые инструкции очень большие и время их появления зависит от вашей скорости интернета.

9астройки — кнопка [FUNCTION]
P-155 уководство пользователя
У
46
"екоторые настройки, например выбранный тембр
и тип реверберации, можно сохранить, чтобы не
потерять их при отключении питания инструмента.
+сли функция сохранения включена, при
отключении питания настройки сохранятся. +сли
функция сохранения отключена, при выключении
питания настройки будут потеряны. $ этом случае
после включения питания будут использоваться
настройки по умолчанию (первоначальные
настройки). (писок настроек изготовителя по
умолчанию находится на стр. 61.)
Однако сами настройки сохранения, содержимое
устройства для записи композиций пользователя
и набор символов сохраняются всегда.
м. «езервное копирование с помощью
компьютера» на стр. 52.
7ункцию сохранения можно включить или
выключить для каждой группы функций. 0ля разных
категорий функций инструмента предоставлены
различные группы сохранения: тембр, MIDI,
настройка и другие.
F8.1:
тембр
&иапазон значений:
ON/OFF
тандартное значение:
OFF
• /ембр (клавиатура, режим наложения, режим
разделения)
• 3ежим наложения (ON/OFF, тембр и функции
наложения для каждой комбинации тембров)
• 3ежим разделения (ON/OFF, тембр и функции
разделения для каждой комбинации тембров)
• 3еверберация (ON/OFF, тип и глубина для каждого
тембра)
• Эффект (ON/OFF, тип и глубина для каждого
тембра)
• #увствительность к силе нажатия (включая
громкость с параметром FIXED)
• *оля, громкость метронома (настройки
)
F8.2:
MIDI
&иапазон значений:
ON/OFF
тандартное значение:
ON
'ункции MIDI (настройки
)
(ожидается
для )
F8.3:
астройка
&иапазон значений:
ON/OFF
тандартное значение:
ON
• /ранспонирование
• 9астройка высоты звука (настройки
)
• +ыбор строя (включая тонику) (
установки)
F8.4:
прочее
&иапазон значений:
ON/OFF
тандартное значение:
ON
• *ругие функции (настройки
)
• 9астройка яркости (BRILLIANCE)
F8.5:
набор символов
Zсли композицию загрузить не удается, возможно,
придется изменить настройку набора символов.
&иапазон значений:
Int
(Английский)/
JA (Японский)
тандартное значение:
Int (Английский)
F8. îÛÌ͈ËË ÒÓı‡ÌÂÌËfl
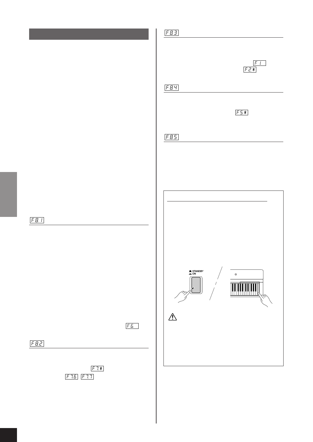
,осстановление настроек изготовителя
+се настройки, измененные функциями (F1 – F8),
можно восстановить в значения по умолчанию,
повернув переключатель
[STANDBY/ON]
в положение «ON», удерживая нажатой клавишу
C7 (крайняя справа клавиша на клавиатуре).
4ри выполнении этой операции также удаляются
композиции пользователя. &писок настроек
изготовителя см. на стр. 61.
А
ри повороте переключателя [STANDBY/ON]
в положение «ON» во время удерживания нажатой
клавиши C7 (крайняя справа клавиша на клавиатуре)
на экране появляется «
CLr
». икогда не выключайте
питание, если на экране отображается «
CLr
».
,ыключение питания в данном режиме может вызвать
проблемы в системе.
102