Синтезаторы Elenberg MS-4940 - инструкция пользователя по применению, эксплуатации и установке на русском языке. Мы надеемся, она поможет вам решить возникшие у вас вопросы при эксплуатации техники.
Если остались вопросы, задайте их в комментариях после инструкции.
"Загружаем инструкцию", означает, что нужно подождать пока файл загрузится и можно будет его читать онлайн. Некоторые инструкции очень большие и время их появления зависит от вашей скорости интернета.

14
When you do not play the keyboard, be sure to take off the plug from the
power outlet.
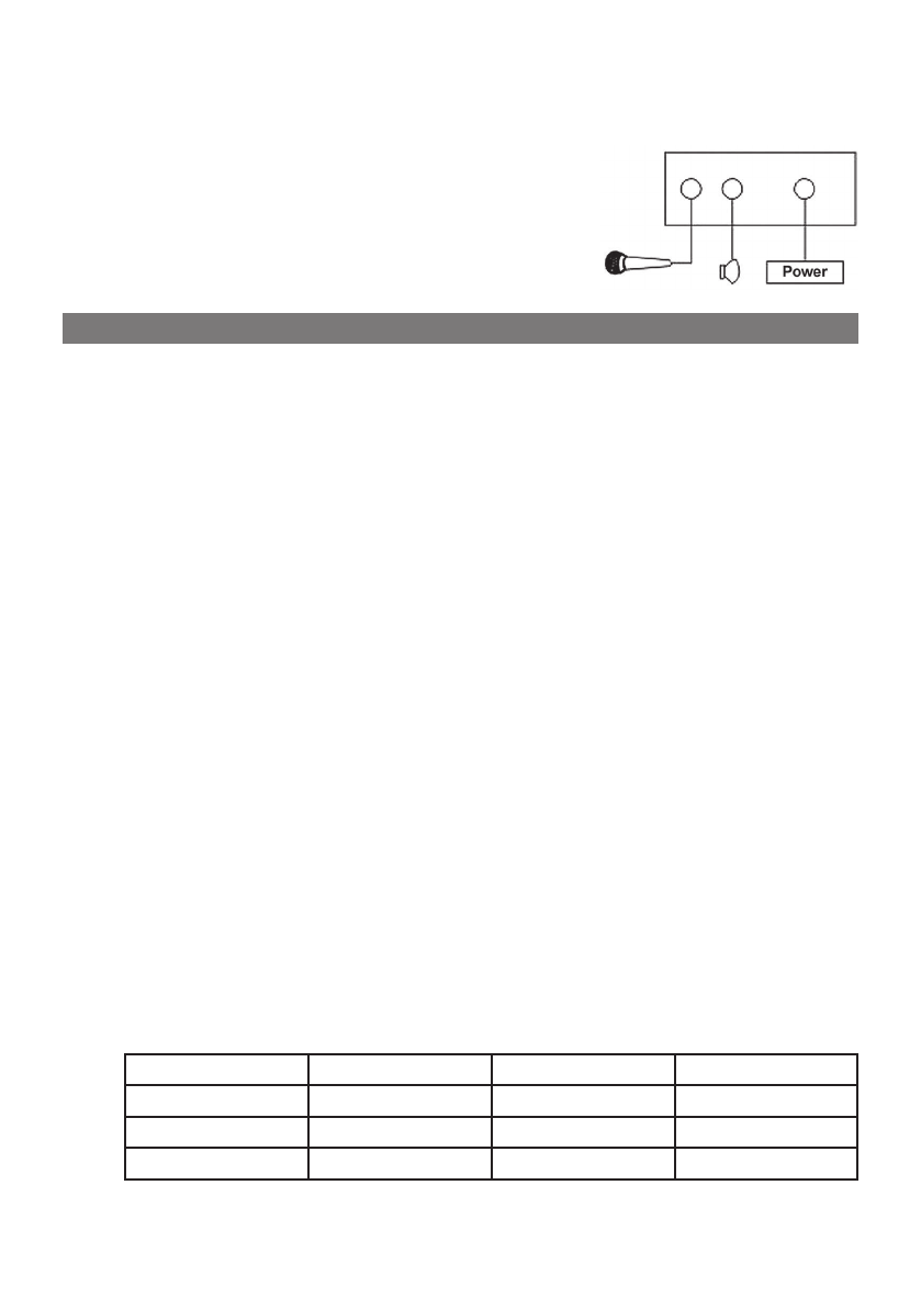
3. Microphone / External Speaker (not included)
1) Insert the plug of the microphone into the
microphone jack of the keyboard and you
can enjoy self-playing and self-singing.
2) Insert the plug of external speaker into the
speaker jack and the playing effect will be
enhanced.
Set the power switch to “ON” position with the power indicator on and you
can play the keyboard as you like. If you keep the instrument not working
for three minutes, the instrument will be in sleeping state for saving elec-
tricity. The system will be woken up and go back its function if you touch
any one of the keys.
Press the “VOLUME” button and you can have 8-level of volume control.
1. Demonstration Songs and Percussions
1) Press the “DEMO” button and the first demonstration song will be
played in circle. Press the button and the next song will be carried
on. You can change the tempo by pressing “FAST / SLOW “. Pressing
“STOP” button or any other function button, the system will quit this
function. (There are 6 demonstration songs for you to choose.)
2) Press the “PERCUSSION” buttons and you can have various kinds of
percussion sounds.
2. Selection of Timbres
When you turn on the keyboard, the default choice is piano timbre. The
other timbres are as following:
1) Press “TIMBRE SELECT” button A and you can choose the timbres from
No.1 to 8. Press “B” button and the timbres from 9 to 16 can be se-
lected. (Press one button for one timbre).
2) Press shift button for “PERCUSSION/TIMBRE” and the percussion func-
tion will be changed into timbre one and you can choose the relative
timbre on the timbre keys from 1 to 8. Press the “PERCUSSION/TIM-
BRE” button again and the relative timbres 9 to 16 are available for
you to choose on the timbre keys.
TIMBRE LIST
01 PIANO
05 J-GUITAR
09 TRUMPET
13 FLUTE
02 HARP
06 VIOLIN
10 TUBA
14 BANJO
03 ORGAN
07 STRING
11 E BASS
15 OBOE
04 BELL
08 GUITAR
12 SAXOPHONE
16 HORN
3) Press “PLAYBACK/EFFECT” button in order and you can choose rever-
beration, echo or vibrato to enhance the performance effect.
III. BASIC METHOD OF PERFORMANCE
