Шуруповерты Makita DFS452TJX2 - инструкция пользователя по применению, эксплуатации и установке на русском языке. Мы надеемся, она поможет вам решить возникшие у вас вопросы при эксплуатации техники.
Если остались вопросы, задайте их в комментариях после инструкции.
"Загружаем инструкцию", означает, что нужно подождать пока файл загрузится и можно будет его читать онлайн. Некоторые инструкции очень большие и время их появления зависит от вашей скорости интернета.

11
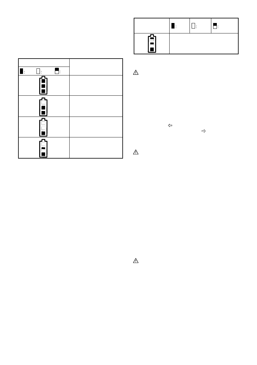
Prikaz preostale zmogljivosti akumulatorja
Sl.5
Ko povle
č
ete sprožilno stikalo, se na indikatorju
akumulatorja prikaže preostala zmogljivost akumulatorja.
Preostala zmogljivost akumulatorja je prikazana v
naslednji tabeli.
Indikator stanja akumulatorja
Preostala zmogljivost
akumulatorja
50 % - 100 %
20 % - 50 %
0 % - 20 %
VKLOP
Ne sveti
Utripa
Napolnite akumulator
015175
OPOMBA:
•
Približno eno minuto po ustavitvi motorja indikator
ugasne, da var
č
uje z zmogljivostjo akumulatorja.
Č
e želite preveriti preostalo zmogljivost
akumulatorja, rahlo povlecite sprožilno stikalo.
Zaš
č
itni sistem orodja/akumulatorja
Orodje je opremljeno z zaš
č
itnim sistemom
orodja/akumulatorja. Sistem samodejno prekine
napajanje orodja, da se podaljša življenjska doba orodja
in akumulatorja.
Orodje se bo samodejno zaustavilo med delovanjem,
č
e
sta orodje ali akumulator zamenjana pod naslednjimi
pogoji. V nekaterih primerih zasveti indikator.
Zaš
č
ita pred preobremenitvijo
Č
e orodje uporabljate tako, da to uporablja
č
ezmerni
elektri
č
ni tok, se orodje samodejno ustavi brez kakršnih
koli indikacij. V takem primeru orodje izklopite in ga
prenehajte uporabljati na na
č
in, zaradi katerega je prišlo
do preobremenitve. Nato orodje vklopite in ga znova
zaženite.
Zaš
č
ita pred pregrevanjem orodja
Č
e je orodje pregreto, se samodejno ustavi in indikator
akumulatorja prikazuje naslednje stanje. V tem primeru
po
č
akajte, da se orodje ohladi, preden ga znova
vklopite.
Indikator napolnjenosti
akumulatorja
Orodje je pregreto
VKLOP
Ne sveti
Utripa
015176
Stikalo za preklop smeri vrtenja
POZOR:
•
Pred obratovanjem vedno preverite smer vrtenja.
•
Stikalo za spreminjanje smeri vrtenja uporabite
šele, ko se stroj popolnoma ustavi.
Č
e smer
vrtenja spremenite, preden se stroj ustavi, se ta
lahko poškoduje.
Sl.6
Stroj je opremljen s stikalom za spreminjanje smeri
vrtenja. Za vrtenje v smeri urnega kazalca pomaknite
stikalo v položaj
(stran A), za vrtenje v nasprotni
smeri urnega kazalca pa v položaj
(stran B).
Ko je preklopno stikalo v nevtralnem položaju, se
glavnega stikala ne da premakniti.
POZOR:
Ko orodja ne uporabljate, vedno potisnite preklopno
stikalo v nevtralen položaj.
Nastavitev globine
Sl.7
Globino lahko nastavljate z vrtenjem lokatorja. Da
zmanjšate globino, zavrtite zaporni obro
č
v smeri proti
oznaki „B“, da jo pove
č
ate, pa v smeri proti oznaki „A“. Z
enim polnim obratom lokatorja se globina spremeni za 2
mm.
Sl.8
Lokator nastavite tako, da bo razdalja med glavo vijaka
in konico lokatorja približno 3 mm (glejte sliko). Za
preizkus privijte vijak v vzorec vašega materiala.
Č
e
globina ni primerna za uporabljeni vijak, jo ponovno
nastavite na ustrezno mero.
Kavelj
POZOR:
•
Kadar obešate orodje na kavelj, vedno odstranite
akumulator.
•
Orodja nikoli ne obešajte na visoka mesta ali na
nestabilne površine.
Sl.9
Kavelj je priro
č
en pripomo
č
ek za za
č
asno obešanje
stroja.