Проекторы NEC NP1150 - инструкция пользователя по применению, эксплуатации и установке на русском языке. Мы надеемся, она поможет вам решить возникшие у вас вопросы при эксплуатации техники.
Если остались вопросы, задайте их в комментариях после инструкции.
"Загружаем инструкцию", означает, что нужно подождать пока файл загрузится и можно будет его читать онлайн. Некоторые инструкции очень большие и время их появления зависит от вашей скорости интернета.

8. Использование дополнительных объективов
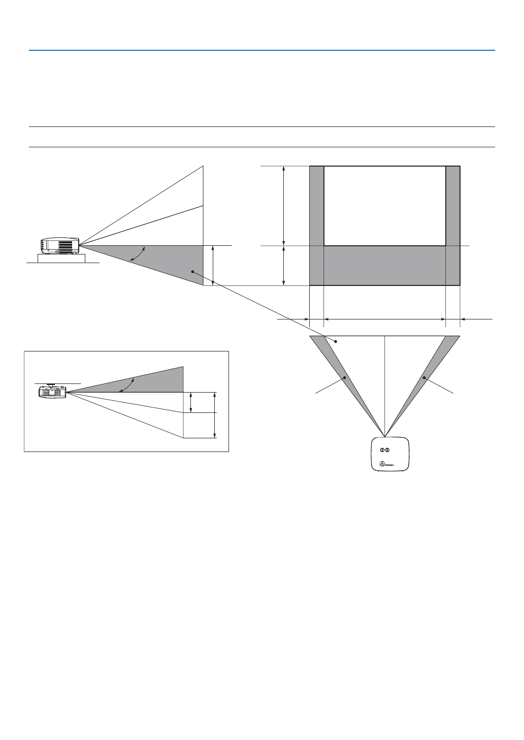
Регулируемый диапазон смещений объектива
Схема, представленная вверху справа, отображает расположение изображения в объективе. Объектив можно смещать в преде-
лах затемненного участка, используя обычное проекционное положение в качестве отправной точки.
Проектор оснащен функцией смещения объектива, которая позволяет перемещать изображение вертикально или горизонтально.
ПРИМЕЧАНИЕ: Перемещение объектива не доступно при использовании дополнительного объектива NP01FL. Объектив NP01FL
должен использоваться только для приложений с "нулевым углом".
Фронтальная со стола
Фронтальная проекция с потолка
Вертикальный
сдвиг
Вертикальный
сдвиг
Макс.
0,5V
Макс.
0,5V
1V
0,5V
0,1H
0,1H
1H
Ширина проецируемого изображения
Сдвиг влево
Сдвиг вправо
1V
Нормальное расположение
проекции
Содержание
- 2 Сведения о беспроводной локальной сети USB:; Microsoft Corporation в Соединённых Штатах и/или других странах.; ПРИМЕЧАНИЯ
- 3 Важная информация; Предостережения относительно безопасности; Меры предосторожности; ВНИМАНИЕ
- 5 • Не устанавливайте проектор в следующих условиях:; Размещение проектора в горизонтальном положении
- 6 светового луча и вентиляционного отверстия.
- 7 Замена лампы; • Чтобы заменить лампу, следуйте инструкциям, приведенным на стр.; Характеристики лампы; ектор может повредиться.
- 8 Предостережения касательно использования; пожару или поражению электрическим током.; Внимание
- 9 • Передаваемое содержимое может быть перехвачено
- 10 Оглавление
- 11 Использование функции «Просмотр»
- 12 Использование экранного меню
- 14 Комплектация; только для Северной Америки; Гарантийная политика; Проектор
- 15 Ознакомление с проектором; Поздравляем с покупкой проектора!; • Жк-дисплей с высоким разрешением и высокой яркостью
- 16 • коррекция цвета стен; Об этом руководстве пользователя
- 17 Название деталей проектора; Передняя/верхняя часть
- 18 Нижняя часть; Ручка для переноски; Переноска проектора; Винт для защиты объектива от кражи
- 19 Блокировка ручки для переноски; Осторожно поставьте проектор на торец.
- 20 Важнейшие функции
- 21 Функции панели разъемов; приведены типичные коды управления с ПК.; USB-блок для подключения к беспроводной локальной
- 22 Элементы пульта дистанционного управления; Загорается при нажатии какой-либо кнопки.; Инфракрасный передатчик
- 23 Установка элемента питания; грады или если на датчик падает слишком яркий свет.; Дистанционный датчик на корпусе проектора
- 24 Правила обращения с пультом дистанционного управления; REMOTE
- 25 Установка и подключение; Настройка экрана и проектора; Настроить экран и проектор.; Расстояние; IR
- 27 Осуществление подключений; Подключение ПК или компьютера Macintosh; Включение внешнего экрана компьютера; управления или кнопку AUTO ADJUST на корпусе проектора.
- 28 AUDIO IN; Во время просмотра цифрового сигнала DVI; (в комплект поставки не
- 29 AUDIO OUT; MONITOR OUT
- 30 COMPONENT IN; Звуковое оборудование
- 31 VIDEO IN; Кабель видеосигнала (в комплект поставки не входит)
- 32 Подключение к сети; Функция управления проектором
- 33 Пример подключения к лВС; (A) Пример подключения к проводной локальной сети; LAN; Точка беспроводного доступа
- 34 Режим Ad Hoc соответствует стандарту IEEE802.11.; (В) Пример подключения к беспроводной локальной сети (Тип сети
- 35 чатель и прерыватель.; о функции прямого выключения питания
- 36 Включение проектора; пульте дистанционного управления — кнопка POWER ON и OFF).
- 37 Примечание об экране запуска (экран выбора языка меню); Для выбора языка меню выполните такие действия:; С помощью кнопки SELECT
- 38 Выбор источника сигнала; Автоматическое обнаружение сигнала; Использование пульта дистанционного управления; Выбор из списка источников
- 39 Регулировка размера и положения изображения; Коррекция трапециевидного искажения» на стр.
- 40 Настройка положения проецируемого изображения; • Поверните лимб для смещения объектива.; LAM; Не поворачивайте его чрезмерно, иначе он может сломаться.
- 41 • Для настройки фокуса поворачивайте колечко focus.; Колесико Focus; Рычаг масштабирования
- 42 Настройка ножки для регулирования наклона; Опустите переднюю часть проектора до требуемой высоты.
- 43 Рамка экрана; Коррекция трапециевидного искажения
- 44 Повторяйте шаги 2 и 4 для коррекции трапециевидного искажения.
- 45 Автоматическая оптимизация цветовых оттенков изображения; Настройка изображения с помощью кнопки Auto Adjust; ки SELECT; Увеличение и уменьшение громкости; Увеличение громкости
- 46 Использование лазерной указки; Чтобы включить лазерную указку, нажмите и подержите кнопку LASER.; Настройка переключателя функций; Блокируйте лазер, если к прибору имеют доступ дети.
- 47 Выключение проектора; Чтобы выключить проектор:; Нажмите кнопку ENTER; После использования
- 48 Отключение изображения и звука; Увеличение и и передвижение изображения; При желании некоторую область можно увеличить до 400%.; Нажмите кнопку SELECT
- 49 Использование встроенной; Нажмите кнопку HELP на пульте дистанционного уп-; Закрытие справки; Изменение режима лампы; или
- 50 Работа с меню с помощью USB-мыши; Курсор мыши; Использование USB-мыши; С помощью USB-мыши можно управлять такими пунктами меню:
- 51 Подключение дистанционного приемника мыши к компьютеру; Дистанционный приемник мыши; Подключение с использованием порта USB
- 52 Режим перетаскивания:
- 53 Проецируемое изображение; Краеугольная; Отобразится экран краеугольной коррекции.; Экран; Во время настраивания [ОСНОВНОЙ ПРИНцИП] параметр
- 54 С помощью кнопки SELECT
- 55 Функция 3D Reform имеет такие диапазоны настройки:; ГОРИЗОНТАЛЬНО
- 56 Одновременно показывает два изображения; Выбор режима КАРТИНКА В КАРТИНКе или ПАРАллельНО [РеЖИМ]; С помощью данной опции можно выбрать два режима: PIP и Параллельно.; Основное изображение
- 57 Просмотр двух изображений; Нажмите кнопку PIP на пульте дистанционного управления.
- 60 Один раз нажмите кнопку SELECT
- 61 Проверка состояния функции безопасности; ключевого слова» введите «1234».
- 62 Отмена защиты; На экране отобразится меню.
- 63 Ограничение доступа к некоторым пунктам меню; У проектора имеется два уровня меню: СЛОЖНОЕ меню и ОСНОВНОЕ меню.; Вход в систему
- 64 Создание или добавление нового пользователя; Отобразится экран [УЧЕтНАЯ ЗАПИСЬ] для создания учетной записи.
- 65 Удаление пользователя; теперь пользователь удален.
- 66 Работа с помощью браузера HTTP; Обзор; адрес для строки ввода будет иметь вид
- 67 Структура сервера HTTP
- 68 PROJECTOR STATUS: служит для отображения состояния проектора.
- 69 Проецирование изображения с экрана компьютера через проектор; операционная среда; Допустимые ОС
- 71 Отобразится сообщение «Хотите сохранить эти параметры?».; Проецирование изображений с сетевого проектора; В окне «Доступные проекторы» будет отображено «NP3150 Series».
- 72 завершение работы с сетевым проектором; Работа с сетевым проектором будет завершена.
- 73 Управление компьютером по сети с помощью проектора [УДАлеННЫЙ; с экрана компьютера.; . ОС Windows Vista Home Premium не доступна для УДАЛЕННыЙ РА-
- 75 Система вернется к рабочему столу.; запуск удаленного рабочего стола
- 77 завершение работы с удаленным рабочим столом; Работа функции удаленного рабочего стола завершится.
- 78 Оптимальное использование функции «Просмотр»; Функции; Сохранение данных на устройство USB-памяти; Сохранять данные на устройство USB-памяти можно двумя способами.; Использование программы Ulead Photo Explorer 8.0
- 79 Управление функцией «Просмотр» с проектора (воспроизведение); Работа с меню программы «Просмотр»; Слайд и миниатюра; Позволяет перейти к следующему изображению.
- 80 Для отображения фильма; вратится к экрану миниатюр.; Панель элементов управления
- 81 Подсветка; экран миниатюр
- 82 РЕЖИМ ВОСПРОИЗВЕДЕНИЯ:
- 83 Меню МИНИАТЮРЫ; Меню МИНИАТЮРЫ содержит следующие команды:; Выход из режима «Просмотр»; те дистанционного управления.
- 84 Изменение логотипа фона; При помощи кнопки SELECT
- 85 Использование меню; Установки будут сохранены до следующих изменений.
- 86 Введение букв и цифр при помощи программной клавиатуры; чтобы выбрать символ из строки, нажимайте кнопки; Во время использования мыши:; Наведите указатель на символ и щелкните его.
- 87 Дерево меню; Меню
- 88 *2 В модели NP3151W параметр ПОЛОЖЕНИЕ недоступен.
- 89 Элементы меню; окна меню и диалоговые окна обычно имеют такие элементы:; ный параметр активен.
- 90 Служит для отображения списка сигналов. (
- 91 Использование списка ввода
- 92 Служит для ввода названия сигнала. Можно ввести до 18 букв и цифр.
- 93 СТАНДАРТНЫЙ
- 94 тельное значение цветовой температуры.
- 96 Служит для ручной настройки параметров ЧАСЫ и ФАЗА.
- 98 Выбор аспектного отношения [AСПЕктНоЕ отНоШЕНИЕ]
- 99 RGB
- 101 ПРИМЕЧАНИЕ: Эта функция не доступна для сигналов RGB.; Регулировка усиления контраста [УСИлЕНИЕ коНтРАСтА]
- 103 Изменения сохраняются при выключении проектора.
- 104 Выбор режима краеугольной коррекции [кРАЕУГольНАЯ]
- 105 использование функции коррекции цвета стены [цВЕт СтЕНы]
- 106 использование таймера выключения [Выкл тАйМЕР]
- 107 Установите новый таймер программы; В окне ТаЙмЕР ПРОГРаммы, используя кнопку SELECT
- 108 Активация таймера программы; кнопку SELECT
- 109 Удаление программ; Нажмите кнопку SELECT
- 110 Выход из системы проектора [ВыХоД Из СИСтЕМы]; Нажмите кнопку MENU и с помощью кнопки SELECT
- 111 Для цвета меню возможны две опции: цветной и монохромный.; Выбор значения параметра [ВРЕМЯ ПокАзА МЕНЮ]; ным заводским значением.; Выбор цвета или логотипа для фона с помощью параметра [ФоН]
- 112 Выбор ориентации проектора с помощью параметра [оРИЕНтАцИЯ]; ФРОНТАЛЬНАЯ СО СТОЛА
- 113 выполняется цифровая коррекция.; область, в которой сигнал отсутствует
- 114 Настройка; Отображается белый экран на экране компьютера.
- 115 стандартной комплектации не во всех регионах и странах.; Подсказки относительно настройки соединения с лВС; для соединения с беспроводной лВС.
- 117 Использование виртуальной клавиатуры
- 118 дите 12 цифровых символов.
- 119 введите 12 цифровых символов.
- 121 тИП зАЩИты; Выберите режим шифрования для безопасной передачи.
- 122 Отобразится виртуальная клавиатура.
- 123 Пример сообщения, отправляемого с проектора:
- 124 Выбор значения параметра [СкоРоСть коММУНИкАцИИ]
- 125 Для назначения пароля:; БлокИРоВкА УЧЕтНой зАПИСИ
- 126 щем включении проектора.
- 127 Для регистрации устройства памяти USB в качестве ключа защиты.; Вставьте устройство памяти USB в порт USB (тип А) проектора.
- 128 включение питания; Для удаления зарегистрированных данных памяти USB.; Информация на устройстве памяти USB будет удалена.
- 129 Выбор энергосбережения в режиме [РЕЖИМ оЖИДАНИЯ]
- 130 Установка идентификатора проектора [коНтРоль ID]; установки КОНТРОЛЬ ID.
- 131 Установка значения параметра [АВто НАСтРойкА]; Оптимизировать изображение RGB можно вручную.
- 132 Выбор формата сигнала с помощью параметра [ВыБоР СИГНАлА]
- 133 00 часов и снова начинает обратный отсчет.
- 135 нения с беспроводной ЛВС.
- 136 ным устройствам в Вашей беспроводной ЛВС.
- 137 Сброс показаний счетчика на ноль.
- 138 Техническое обслуживание; Чистка или замена фильтра; Прочистите фильтр с помощью пылесоса через крышку фильтра.; Замените лампу перед заменой фильтров.; Фильтр
- 139 Повторная установка новой крышки фильтра.; Чистка корпуса и объектива; чтобы не поцарапать объектив.
- 140 Запасная лампа и инструменты, необходимые для замены:
- 141 Возьмитесь за корпус лампы и снимите его.; Блокировка
- 142 [СбРОС НаРабОТКи ламПы], чтобы переустановить счетчики времени до
- 143 Использование дополнительных объективов; представлена информация об установке объектива.
- 144 В соответствии со схемой на стр.
- 145 Регулируемый диапазон смещений объектива
- 146 Извлеките существующий объектив из проектора.; Существующий объектив будет отсоединен.; Замена основного объектива дополнительным
- 147 использование винта для защиты объектива от кражи; Поверните объектив по часовой стрелке.; Желтый; Установка нового объектива; Вставьте объектив таким образом, чтобы желтый выступ находился
- 148 Устранение неисправностей; Показания индикаторов; защита от перегрева; Если это случится, выполните нижеописанные действия.
- 149 Типичные неисправности и способы их устранения
- 150 Если изображение отсутствует или отображается неправильно.; или переходите к сле-
- 151 Технические характеристики; оптический
- 152 Механические характеристики; tüv gs; общие технические характеристики изделий серии NP01LM
- 155 габаритные размеры корпуса
- 156 Размер экрана и проекционное расстояние; Использование графика
- 158 Список размеров экрана
- 160 Распределение контактов входного разъема D-Sub COMPUTER 1; Номер контакта Сигнал RGB (аналоговый)
- 161 Перечень совместимых входных сигналов
- 162 Коды управления и кабельные соединения ПК; Коды управления ПК
- 163 Кабельные соединения; Протокол связи
- 164 Удаление и присоединение блока беспроводной локальной сети USB
- 166 Контрольный перечень возможных неисправностей; Частота случаев; всегда; Питание