Плита Gorenje E274W - инструкция пользователя по применению, эксплуатации и установке на русском языке. Мы надеемся, она поможет вам решить возникшие у вас вопросы при эксплуатации техники.
Если остались вопросы, задайте их в комментариях после инструкции.
"Загружаем инструкцию", означает, что нужно подождать пока файл загрузится и можно будет его читать онлайн. Некоторые инструкции очень большие и время их появления зависит от вашей скорости интернета.

Руководство по эксплуатации,установке и подключению
26
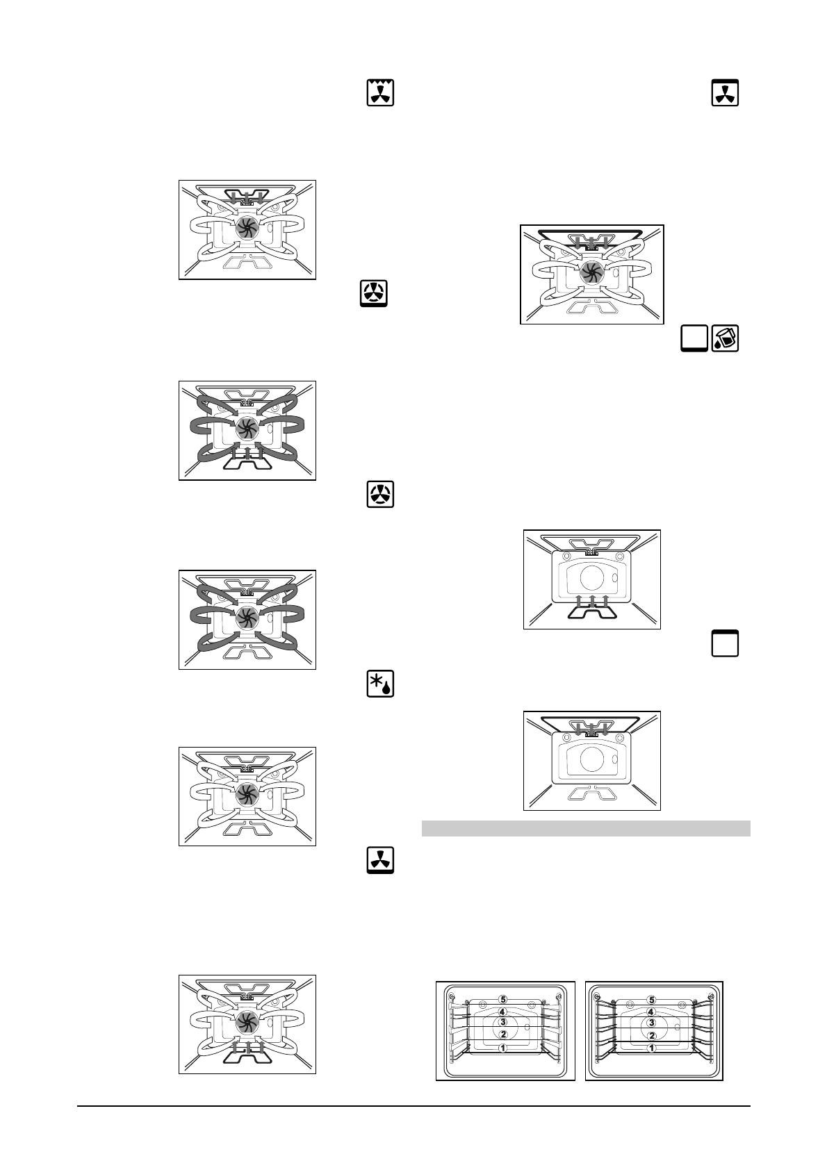
Инфракрасный нагрев + вентилятор
Одновременно работают инфракрасный нагреватель и
вентилятор. Этот режим соответствует для запекания мяса
на гриле и приготовления больших кусков мяса или птицы
на одном уровне духовки. Он подходит также для
получения хрустящей корочки.
Вентиляционный нагрев+нижний нагреватель
В таком режиме одновре-менно работает нижний
нагреватель и нагреватель вентилятора. Лучше всего этот
режим подходит для приготовления пиццы, а также сочного
печенья на 2 уровнях, фруктовых пирожных из дрожжевого
или рассыпчатого теста.
Вентиляционный нагрев
Вентилятор на задней стенке духовки создает постоянную
циркуляцию горячего воздуха вокруг готовящихся блюд.
Этот режим соответствует для запекания мяса и мучных
изделий на нескольких уровнях.
Размораживание
В этом режиме воздух циркулирует без включенных
нагревателей. Используется для постепенного
размораживания продуктов.
Нижний нагреватель + вентилятор
В этом режиме одно-временно работают нижний
нагреватель и вентилятор. Используется в основ-ном для
приготовления выпечки из низко поднимающегося
дрожжевого теста и консервирования овощей и
фруктов.Противень установите в нижние направляющие.
Не используйте очень высокие формы, поскольку нагретый
воздух должен циркулировать также сверху блюда.
Нагрев с помощью верхнего нагревателя и вентилятора
В этом режиме работает верхний нагреватель и
вентилятор. Подходит для запека-ния мяса и мучных
изделий, кроме выпечки с фруктовой начинкой.
Ориентировочные данные для предвари-тельного
нагревания, выбора уровня, температуры и времени
приготовления - в таблице приготовления с помощью
верхнего и нижнего нагревателей. Красная сигнальная
лампочка погаснет при разогреве духовки до требуемой
температуры.
Нижний нагреватель/ Aqua clean
Работает только нагреватель, расположенный внизу
духовки. Этот режим выбирайте в том случае, если Вам
необходимо запечь блюдо снизу (например, выпечка
сочного мучного изделия с фруктовой начинкой).
Но кнопку для регулировки температуры надо установить
на желаемую температуру.
Нижний нагреватель - Aqua clean может использоваться
также при очистке духовки. Подробности в связи с очисткой
можете прочитать в главе "Уход и обслуживание".
(Не относится к аппаратам с типом управления K11, см.
раздел «Духовка/Управление». Данный режим
используется для непродолжительной работы.)
Нагрев сверху
Работает только нагреватель сверху.
Этот режим используйте в том случае, когда Вы хотите
запечь блюдо сверху (напр. для дополнительного
поджаривания).
Уровни приготовления
Оборудование (решетка, мелкие и глубокие противни)
могут устанавли-ваться в духовку на 5 уровнях. В таблицах
приготовления описаны отдельные уровни. Принимайте во
внимание, что отсчет уровней производится снизу вверх!
Духовка может быть оборудована рельефными,
решетчатыми или телескопическими направляющими (в
зависимости от модели плиты). Может быть 2, 3 или 5
телескопических направляющих. Для решетчатых
направляющих решётку и противни необходимо всегда
вставлять в направляющие.