Плита Electrolux EKI 6450 AOX - инструкция пользователя по применению, эксплуатации и установке на русском языке. Мы надеемся, она поможет вам решить возникшие у вас вопросы при эксплуатации техники.
Если остались вопросы, задайте их в комментариях после инструкции.
"Загружаем инструкцию", означает, что нужно подождать пока файл загрузится и можно будет его читать онлайн. Некоторые инструкции очень большие и время их появления зависит от вашей скорости интернета.

ДУХОВОЙ ШКАФ - УХОД И ЧИСТКА
ВНИМАНИЕ!
См. Главу "Сведения по технике
безопасности".
• Переднюю часть прибора протирайте мяг‐
кой тканью, смоченной теплой водой с
моющим средством.
• Для чистки металлических поверхностей
используйте обычное чистящее средство.
• Камеру духового шкафа следует очищать
после каждого использования. Так загряз‐
нения легче удалить и они не будет приго‐
рать.
• Стойкие загрязнения удаляйте специаль‐
ными чистящими средствами для духовых
шкафов.
• После каждого использования все дополни‐
тельные принадлежности духового шкафа
следует очистить и просушить. Используй‐
те для этого мягкую тряпку, смоченную в
теплой воде с моющим средством.
• Если у вас есть принадлежности с антипри‐
гарным покрытием, для их чистки не сле‐
дует использовать агрессивные средства,
предметы с острыми краями или посудо‐
моечную машину. Они разрушают антипри‐
гарное покрытие.
Модели из нержавеющей стали или
алюминия
Очистку дверцы духового шкафа
можно производить только влажной
губкой. Протрите ее насухо мягкой
тряпкой.
Никогда не используйте абразивные
средства, металлические губки или
средства, содержащие кислоты, т.к.
они могут повредить поверхность ду‐
хового шкафа. Выполняйте чистку па‐
нели управления духового шкафа с
соблюдением аналогичных предосто‐
рожностей.
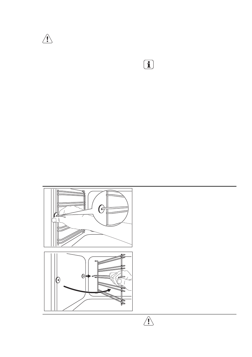
ДЕРЖАТЕЛИ РЕШЕТКИ
Для очистки боковых стенок духового шкафа
направляющие можно снять.
Снятие направляющих
1.
Потяните переднюю часть направляю‐
щей в сторону, противоположную боко‐
вой стенке.
2
1
2.
Вытяните заднюю часть направляющей
для противня из боковой стенки и сними‐
те ее.
Установка направляющих
Установка направляющих производится в об‐
ратном порядке.
Расположите телескопические на‐
правляющие надлежащим образом:
Удерживающие упоры на телескопи‐
ческих направляющих должны быть
обращены вперед.
РУССКИЙ
35
Содержание
- 3 СВЕДЕНИЯ ПО ТЕХНИКЕ БЕЗОПАСНОСТИ
- 4 ИСПОЛЬЗОВАНИЕ
- 5 УХОД И ЧИСТКА
- 7 ОПИСАНИЕ ИЗДЕЛИЯ; ОБЩИЙ ОБЗОР
- 8 ПЕРЕД ПЕРВЫМ ИСПОЛЬЗОВАНИЕМ; ПЕРВАЯ ЧИСТКА
- 9 ВАРОЧНАЯ ПАНЕЛЬ - ЕЖЕДНЕВНОЕ ИСПОЛЬЗОВАНИЕ; ФУНКЦИОНАЛЬНЫЕ ЭЛЕМЕНТЫ ПАНЕЛИ УПРАВЛЕНИЯ
- 13 ВАРОЧНАЯ ПАНЕЛЬ - ПОЛЕЗНЫЕ СОВЕТЫ; ПОСУДА ДЛЯ ИНДУКЦИОННЫХ
- 15 ВАРОЧНАЯ ПАНЕЛЬ - УХОД И ЧИСТКА
- 16 ДУХОВОЙ ШКАФ - ЕЖЕДНЕВНОЕ ИСПОЛЬЗОВАНИЕ; ОХЛАЖДАЮЩИЙ ВЕНТИЛЯТОР
- 18 ДУХОВОЙ ШКАФ - ФУНКЦИИ ЧАСОВ; ЭЛЕКТРОННЫЙ ПРОГРАММАТОР; УСТАНОВКА ФУНКЦИЙ ЧАСОВ
- 19 ОТМЕНА ФУНКЦИЙ ЧАСОВ.
- 20 УСТАНОВКА ПРИНАДЛЕЖНОСТЕЙ ДЛЯ ДУХОВОГО ШКАФА
- 22 ДУХОВОЙ ШКАФ - ПОЛЕЗНЫЕ СОВЕТЫ; ВЫПЕЧКА
- 25 Выпекание на нескольких уровнях; ТРАДИЦИОННОЕ ВЫПЕКАНИЕ НА ОДНОМ УРОВНЕ
- 28 ПИЦЦА
- 29 ОБЖАРИВАНИЕ
- 31 ЖАРКА В РЕЖИМЕ «ТУРБО ГРИЛЬ»
- 32 МАЛЫЙ ГРИЛЬ
- 33 ПОДСУШИВАНИЕ
- 34 Информация об акриламидах
- 35 ДУХОВОЙ ШКАФ - УХОД И ЧИСТКА; ДЕРЖАТЕЛИ РЕШЕТКИ
- 40 УСТАНОВКА; ТЕХНИЧЕСКИЕ ДАННЫЕ
- 41 ОХРАНА ОКРУЖАЮЩЕЙ СРЕДЫ












