Плита Electrolux EKC 54501 OX - инструкция пользователя по применению, эксплуатации и установке на русском языке. Мы надеемся, она поможет вам решить возникшие у вас вопросы при эксплуатации техники.
Если остались вопросы, задайте их в комментариях после инструкции.
"Загружаем инструкцию", означает, что нужно подождать пока файл загрузится и можно будет его читать онлайн. Некоторые инструкции очень большие и время их появления зависит от вашей скорости интернета.

• Стойкие загрязнения удаляйте специаль‐
ными чистящими средствами для духовых
шкафов.
• После каждого использования протирайте
все принадлежности духового шкафа (мяг‐
кой тряпкой, смоченной в теплой воде с до‐
бавлением моющего средства) и затем да‐
вайте им высохнуть.
• При наличии принадлежностей с антипри‐
гарным покрытием не используйте для их
чистки агрессивные средства, острые пред‐
меты и не мойте их в посудомоечной маши‐
не. В противном случае возможно повре‐
ждение антипригарного покрытия!
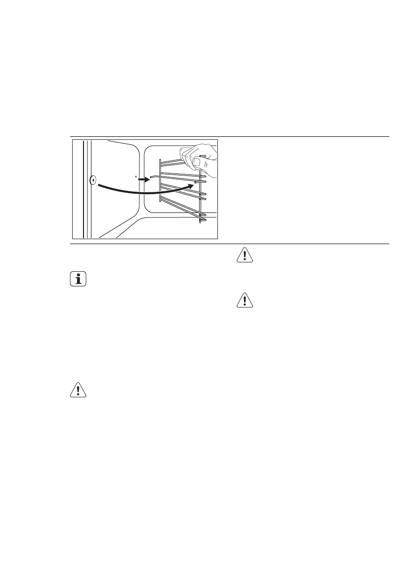
12.1 Снятие направляющих для противня
2
1
Для очистки боковых стенок духового шкафа
направляющие для противня можно снять.
1.
Потяните переднюю часть направляю‐
щей для противня в сторону, противопо‐
ложную боковой стенке.
2.
Вытяните заднюю часть направляющей
для противня из боковой стенки и сними‐
те ее.
Установка направляющих для противня про‐
изводится в обратном порядке.
Закругленные концы направляющих
для противня должны быть направле‐
ны вперед.
12.2 Очистка дверцы духового
шкафа
В дверце духового шкафа имеются две сте‐
клянные панели, установленные одна за дру‐
гой. Чтобы облегчить их очистку, снимите
дверцу духового шкафа.
ВНИМАНИЕ!
Если попытаться извлечь внутрен‐
нюю стеклянную панель, предвари‐
тельно не сняв дверцу, то дверца ду‐
хового шкафа может захлопнуться.
ВНИМАНИЕ!
Перед очисткой стеклянных панелей
убедитесь, что они остыли. Суще‐
ствует опасность, что стекло треснет.
ВНИМАНИЕ!
Стеклянные панели дверцы, имею‐
щие повреждения или царапины, ста‐
новятся хрупкими и могут треснуть.
Во избежание этого их необходимо
заменить. Для получения более под‐
робных указаний обратитесь в мест‐
ный сервисный центр.
РУССКИЙ
45
Содержание
- 25 ПОДДЕРЖКА ПОТРЕБИТЕЛЕЙ И СЕРВИСНОЕ ОБСЛУЖИВАНИЕ
- 27 УКАЗАНИЯ ПО БЕЗОПАСНОСТИ
- 28 Подключение к электросети
- 30 Внутреннее освещение
- 32 ПЕРЕД ПЕРВЫМ ИСПОЛЬЗОВАНИЕМ; Установка времени; ВАРОЧНАЯ ПАНЕЛЬ - ЕЖЕДНЕВНОЕ ИСПОЛЬЗОВАНИЕ
- 34 Примеры использования варочной панели
- 35 ДУХОВОЙ ШКАФ - ЕЖЕДНЕВНОЕ ИСПОЛЬЗОВАНИЕ; Включение и выключение
- 36 Электронный программатор; Установка функций часов
- 37 Установка принадлежностей для духового шкафа
- 41 Режим конвекции
- 44 Верхний нагрев с вентилятором; Информация об акриламидах
- 46 Снятие дверцы духового шкафа и стеклянной панели
- 49 Место для установки прибора
- 50 ОХРАНА ОКРУЖАЮЩЕЙ СРЕДЫ












