Плита Ardo HG - инструкция пользователя по применению, эксплуатации и установке на русском языке. Мы надеемся, она поможет вам решить возникшие у вас вопросы при эксплуатации техники.
Если остались вопросы, задайте их в комментариях после инструкции.
"Загружаем инструкцию", означает, что нужно подождать пока файл загрузится и можно будет его читать онлайн. Некоторые инструкции очень большие и время их появления зависит от вашей скорости интернета.

14
2. ИНСТРУКЦИИ ДЛЯ ПОЛЬЗОВАТЕЛЯ
КАК ИСПОЛЬЗОВАТЬ МНОГОФУНКЦИОНАЛЬНУЮ ДУХОВКУ
Наша электродуховка позволяет выбрать 3 различных рабочих режима:
!
ОСНОВНАЯ РАБОТА БЕЗ ПРОГРАММИРОВАНИЯ
Духовка может использоваться без программирования. В этом случае начало и конец приготовления
блюда (включение и выключение) задаются вручную.
2.
РАБОТА С ПРОГРАММИРОВАНИЕМ ВРЕМЕНИ ПРИГОТОВЛЕНИЯ
Духовка может использоваться в режиме программирования времени приготовления блюда. В этом случае
начало приготовления задается вручную, а выключение происходит автоматически.
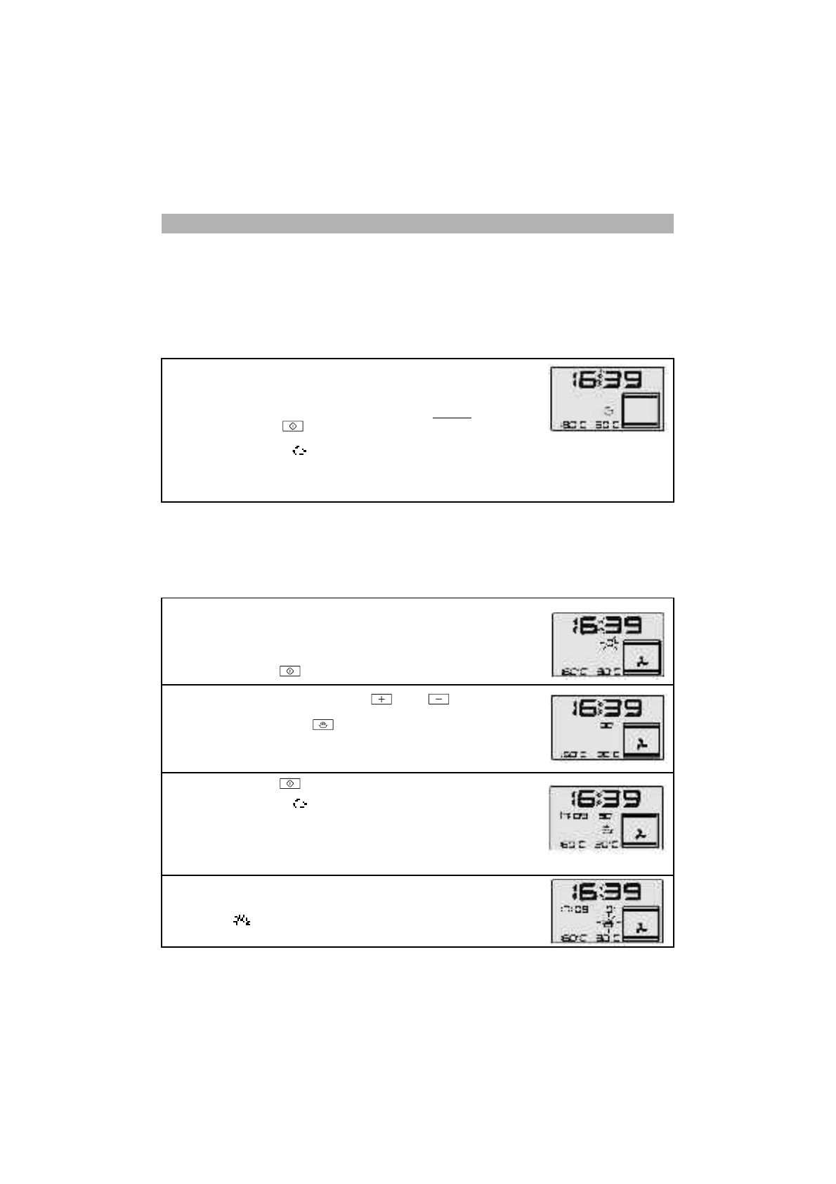
Выберите необходимую функцию при помощи ручки выбора программ (А).
Если необходимо, отрегулируйте ручкой (B)
температуру приготовления
в программах без использования гриля (2,3,4,5,6,7,11) или
степень
готовности
в программах с использованием гриля (8,9,10).
Нажмите на кнопку . На дисплее появится мигающая цифра “0”.
Установите время при помощи кнопок и/или (макс. 199) в
течение 5 секунд. При задержке цифра исчезнет с дисплея.
Снова нажмите на кнопку для подтверждения операции. При этом
значение длительности приготовления перестанет мигать. В ином случае,
мигание цифр прекратится автоматически по истечении 5 секунд и
останется действительным последнее введенное значение.
Нажмите на кнопку
для включения функции, подтвержденного
звуковым сигналом.
Загоревшийся символ
указывает на начало приготовления блюда.
На
дисплее показано ВРЕМЯ КОНЦА ПРИГОТОВЛЕНИЯ,
представляющее собой сумму значения ТЕКУЩЕГО ВРЕМЕНИ +
введенного значения ДЛИТЕЛЬНОСТИ ПРИГОТОВЛЕНИЯ и
одновременно начнется обратный отсчет длительности приготовления до
0.
По истечении установленного времени произойдет автоматическое
выключение духовки, подтвержденное звуковым сигналом и
символом . Не забудьте перевести ручку выбора программ (А) в
положение STOP.
Выберите необходимую функцию при помощи ручки выбора программ (A).
Если необходимо, отрегулируйте ручкой (B)
температуру приготовления
в программах без использования гриля (2,3,4,5,6,7,11) или
степень
готовности
в программах с использованием гриля (8,9,10).
Нажмите на кнопку
для включения функции, подтвержденного
звуковым сигналом.
Загоревшийся символ указывает на начало приготовления блюда .
По окончании приготовления
выключите духовку, установив ручку
выбора программ (A) на STOP.
Выключение подтверждается звуковым
сигналом.
RU

