Плита Gefest 3200-06 К62 - инструкция пользователя по применению, эксплуатации и установке на русском языке. Мы надеемся, она поможет вам решить возникшие у вас вопросы при эксплуатации техники.
Если остались вопросы, задайте их в комментариях после инструкции.
"Загружаем инструкцию", означает, что нужно подождать пока файл загрузится и можно будет его читать онлайн. Некоторые инструкции очень большие и время их появления зависит от вашей скорости интернета.

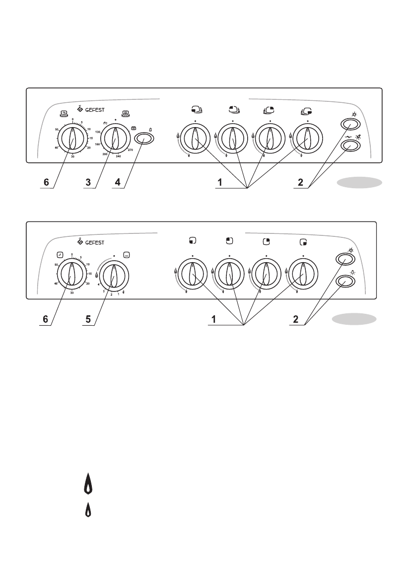
5.2 ПАНЕЛь УПРАВЛЕНИЯ
Панель плиты с терморегулятором и устройством предохранительным
(ТУПом) духовки
Панель плиты краном c безопасностью духовки
1.
Ручки крана горелки стола.
2.
Кнопки электророзжига, включения подсветки духовки и привода вертела.
3.
Ручка ТУПа горелок духовки.
4.
Кнопка предохранительного устройства ТУПа.
5.
Ручка крана горелки духовки.
6.
Ручка таймера механического.
5.3 ГОРЕЛКИ СТОЛА
Положение горелок на столе схематично изображено возле каждого крана.
символы:
Кран закрыт
максимальное пламя
малое пламя
8
Рис.3
Рис.2
1200.00.0.000 РЭ
Все краны имеют фиксированное положение «малое пламя», обеспечивающее
устойчивое горение в экономичном режиме.
Содержание
- 4 ТРЕБОВАНИЯ БЕЗОПАСНОСТИ; ОБЩИЕ УКАЗАНИЯ
- 6 ТЕХНИчЕСКИЕ ХАРАКТЕРИСТИКИ
- 8 КОМПЛЕКТНОСТь
- 9 УСТРОйСТВО И ПОРЯДОК РАБОТы
- 10 ПАНЕЛь УПРАВЛЕНИЯ; Панель плиты краном c безопасностью духовки
- 11 Терморегулятор с устройством предохранительным (ТУП) духовки
- 12 Зажигание основной горелки
- 13 Зажигание горелки гриль
- 16 ПОДГОТОВКА К РАБОТЕ
- 17 Выравнивание
- 18 Подсоединение к сети
- 19 ПО ПРИГОТОВЛЕНИЮ В ДУХОВКЕ; ПРАКТИчЕСКИЕ СОВЕТы; ПО ИСПОЛьЗОВАНИЮ ГОРЕЛОК СТОЛА
- 20 ПО ПРИГОТОВЛЕНИЮ ПИРОГОВ; Рекомендации по выпечке
- 21 ОБСЛУЖИВАНИЕ ПЛИТы; ПО ПРИГОТОВЛЕНИЮ МЯСА И РыБы
- 23 ВОЗМОЖНыЕ НЕИСПРАВНОСТИ И МЕТОДы
- 24 0 РЕКОМЕНДАЦИИ РЕМОНТНыМ СЛУЖБАМ; Регулировка для различного давления газа
- 26 1 ТЕХНИчЕСКОЕ ОБСЛУЖИВАНИЕ ПЛИТы
- 27 4 ГАРАНТИИ ИЗГОТОВИТЕЛЯ
- 28 Ро