Страница 2 - Содержание
2 RU Содержание 1 Важная информация! 3 2 Микросистема 4 Введение 4 Комплектация 4 Описание основного устройства 5 Описание пульта ДУ 6 3 Начало работы 8 Размещение 8 Подготовка антенны FM 8 Подготовка пульта ДУ 8 Подключение питания 8 Включение 9 Установка часов 9 Автоматическое сохранение FM-радиос...
Страница 3 - Важная
3 RU 1 Важная информация! Предупреждение • Запрещается снимать корпус микросистемы. • Запрещается смазывать детали этой системы. • Запрещается устанавливать эту систему на другие электрические устройства. • Запрещается смотреть на лазерный луч внутри системы. • Берегите систему от воздействия прямых...
Страница 4 - Микросистема; Введение; Комплектация
4 RU 2 Микросистема Поздравляем с покупкой и приветствуем вас в клубе Philips! Чтобы воспользоваться всеми преимуществами поддержки Philips, зарегистрируйте приобретенное устройство на сайте www.philips.com/welcome. Введение С помощью этой микросистемы вы можете: • прослушивать аудиозаписи с дисков,...
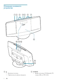
Страница 6 - Описание пульта ДУ
6 RU c / • Переход к предыдущей или следующей дорожке. • Поиск по дорожке или диску. • Настройка FM-радиостанций. • Настройка времени. d • Подтверждение выбора. • Выбор монофонического или стереофонического вещания. • Запуск или приостановка воспроизведения. e • Остановка воспроизведения или удалени...
Страница 8 - Начало работы; Размещение; Монтаж на стену; Подготовка антенны FM; Подготовка пульта ДУ
8 RU 3 Начало работы Внимание • Использование кнопок управления и регулировки или выполнение действий, отличных от описанных ниже, может привести к радиационному облучению и к другим опасным последствиям. Всегда следуйте инструкциям, приведенным в данной главе. Размещение Систему можно установить на...
Страница 9 - Включение; Переключение в режим ожидания; Установка часов
9 RU Подключите адаптер питания к: • разъему DC IN на системе. • розетке электросети. Включение Нажмите . » Система переключится на последний выбранный источник. Совет • Для выбора другого источника последовательно нажимайте SOURCE или кнопки выбора источника на пульте ДУ. Переключение в режим ожида...
Страница 10 - ние; Воспроизведение с диска; воспроизведение с
10 RU Автоматическое сохранение FM- радиостанций Если при подключении устройства к электросети не сохранено ни одной радиостанции FM, устройство предложит найти и сохранить все доступные радиостанции FM. 1 Подключите систему к источнику питания. » Отобразится сообщение [AUTO INSTALL - PRESS PLAY, ST...
Страница 11 - Воспроизведение с
11 RU 1 Вставьте запоминающее устройство USB в разъем . 2 Чтобы выбрать USB в качестве источника, нажмите на пульте ДУ кнопку USB . » Воспроизведение начнется автоматически. В противном случае нажмите . Воспроизведение с устройств с поддержкой Bluetooth Примечание • Рабочее расстояние между системой...
Страница 12 - Управление воспроизведением
12 RU Параметры воспроизведения Управление воспроизведением В режиме CD или USB: / Выбор аудиофайла. Нажмите и удерживайте для быстрого перехода вперед/назад в пределах дорожки во время воспроизведения; отпустите кнопку для возобновления воспроизведения. / Для дорожек MP3/WMA: выбор альбома или папк...
Страница 13 - Прослушивание
13 RU DSC Выбор звукового эффекта: [ POP ] (Поп) [ JAZZ ] (Джаз) [ ROCK ] (Рок) [ CLASSIC ] (Классика) [ FLAT ] (Ровный звук) Отображение дополнительной информации Во время воспроизведения нажимайте DISPLAY для просмотра времени и дополнительной информации о воспроизведении. 5 Прослушивание FM-радио...
Страница 16 - Прослушивание через; Сведения об; Характеристики; Усилитель
16 RU 1 Подключите аудиокабель (не входит в комплект) к: • разъему (3,5 мм) MP3 LINK системы. • разъему для наушников внешнего устройства. 2 Нажмите MP3 LINK для выбора канала MP3 Link в качестве источника. 3 Включите воспроизведение с внешнего аудиоустройства (дополнительные сведения см. в руководс...
Страница 17 - Информация о; Поддерживаемые форматы
17 RU Коэффициент нелинейных искажений < 3 % Отношение сигнал/ шум > 50 дБА Bluetooth Стандартная Стандарт Bluetooth версии 2.1 + EDR Диапазон частот 2,402 ~ 2,480 ГГц (диапазон частот для промышленной, медицинской и научной аппаратуры) Радиус действия 10 м (свободного пространства) Общая инфо...
Страница 18 - Типы программ RDS; Определение и
18 RU • Поддерживаемые скорости передачи: 32~320 (кбит/с), переменная скорость передачи данных Типы программ RDS НЕТ ТИПА Нет типа программы RDS NEWS Служба новостей AFFAIRS Политика и текущие известия INFO Специальные информационные программы SPORT Спортивные передачи EDUCATE Образование и повышени...
Страница 20 - Уведомление
20 RU Устройство непрерывно подключается и отключается. • Прием сигналов Bluetooth низкого качества. Расположите устройство ближе к аудиосистеме или устраните все препятствия между устройством и системой. • Некоторые устройства могут деактивировать подключение Bluetooth в целях экономии энергии. Это...