FRICO ADCSV25WL - Инструкция по эксплуатации - Страница 3

Обогреватели FRICO ADCSV25WL - инструкция пользователя по применению, эксплуатации и установке на русском языке. Мы надеемся, она поможет вам решить возникшие у вас вопросы при эксплуатации техники.

Если остались вопросы, задайте их в комментариях после инструкции.

"Загружаем инструкцию", означает, что нужно подождать пока файл загрузится и можно будет его читать онлайн. Некоторые инструкции очень большие и время их появления зависит от вашей скорости интернета.
Страница:
/ 57
Загружаем инструкцию
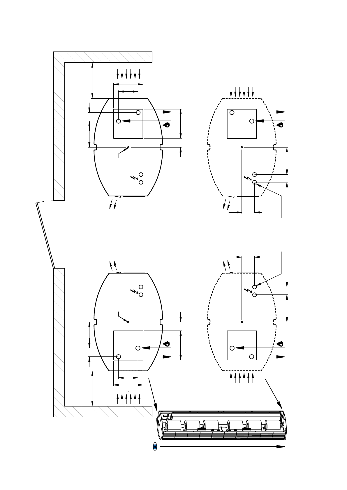
background image

Thermozone AD  Corinte W  - ADCS

2

150

150

45

100

44

134

40

65

140

140

40

65

150

44

100

134

45

150

 Min 180 

Min 180

Ø20(2x)

Ø20(2x)

Door

w

ay

 W

all

Fig 1

 W

all

M6

To

p

B

ot

tom

(seen from abo

ve)

To

p

B

ot

tom

(seen from abo

ve)

M6

Полезные видео

Характеристики

Оцените статью
tehnopanorama.ru
Остались вопросы?

Не нашли свой ответ в руководстве или возникли другие проблемы? Задайте свой вопрос в форме ниже с подробным описанием вашей ситуации, чтобы другие люди и специалисты смогли дать на него ответ. Если вы знаете как решить проблему другого человека, пожалуйста, подскажите ему :)

Задать вопрос

Часто задаваемые вопросы
Как посмотреть инструкцию к FRICO ADCSV25WL?
Необходимо подождать полной загрузки инструкции в сером окне на данной странице
Руководство на русском языке?
Все наши руководства представлены на русском языке или схематично, поэтому вы без труда сможете разобраться с вашей моделью
Как скопировать текст из PDF?
Чтобы скопировать текст со страницы инструкции воспользуйтесь вкладкой "HTML"