Мотоциклы HONDA PCBR600F 2011 - инструкция пользователя по применению, эксплуатации и установке на русском языке. Мы надеемся, она поможет вам решить возникшие у вас вопросы при эксплуатации техники.
Если остались вопросы, задайте их в комментариях после инструкции.
"Загружаем инструкцию", означает, что нужно подождать пока файл загрузится и можно будет его читать онлайн. Некоторые инструкции очень большие и время их появления зависит от вашей скорости интернета.

119
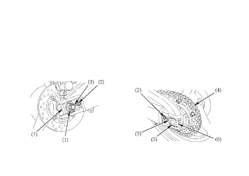
Снятие заднего колеса
1. Приподнимите заднее колесо над опорной
поверхностью, разместив под двигателем
опорный блок.
2. Ослабьте гайку (1) задней оси.
3. Ослабьте контргайки (2) и регулировочные
болты (3).
4. Снимите осевую гайку и шайбу.
5. Снимите приводную цепь (4) с ведомой
звёздочки, продвинув заднее колесо впе>
рёд.
(1) Гайка задней оси
(2) Контргайки
(3) Регулировочные болты
(7) Правая пластина регулировки цепи
6. Извлеките ось заднего колеса (5), снимите
заднее колесо, пластину (6) левого регул я >
тора цепи, пластину (7) правого регулятора
цепи и боковые втулки с качающегося ры>
чага.
Не нажимайте на педаль тормоза при снятом
колесе. Поршень суппорта будет выдавлен из
цилиндра, что приведет к вытеканию тормоз>
ной жидкости. Если это произойдёт, тормоз>
ную систему придётся ремонтировать. Для
выполнения этой операции обратитесь к офи>
циальному дилеру Honda.
(4) Приводная цепь
(5) Вал задней оси
(6) Левая пластина регулировки цепи
Содержание
- 3 РУКОВОДСТВО ПО ЭКСПЛУАТАЦИИ
- 4 ДОБРО ПОЖАЛОВАТЬ; ущерба чужой собственности и окружающей среде.
- 6 НЕСКОЛЬКО СЛОВ О БЕЗОПАСНОСТИ; • Предупреждающие таблички; > перед которой помещен символ внимания и одно; ОПАСНОСТЬ, ПРЕДОСТЕРЕЖЕНИЕ или ПРЕДУПРЕЖДЕНИЕ.; Эти сигнальные слова означают следующее:
- 7 Заголовки, относящиеся к безопасности; > такие, как важные предостережения или требования; Инструкции; ОПАСНОСТЬ; ПРЕДОСТЕРЕЖЕНИЕ
- 8 ЭКСПЛУАТАЦИЯ; БЕЗОПАСНОСТЬ МОТОЦИКЛА
- 9 cтраница; 2 ПРОЧЕЕ ОБОРУДОВАНИЕ; ФАРЫ ПО ВЫСОТЕ; 1 ЭКСПЛУАТАЦИЯ МОТОЦИКЛА; МОТОЦИКЛА ОТ ПОХИЩЕНИЯ
- 11 Всегда надевайте шлем
- 12 ЗАЩИТНАЯ ОДЕЖДА
- 13 Шлемы и защитные очки
- 14 Загрузка
- 18 Изменения конструкции
- 19 УЗЛЫ И ИХ РАСПОЛОЖЕНИЕ
- 22 ПРИБОРЫ И ИНДИКАТОРЫ; руля с электронным управлением HESD
- 23 Функционирование; топлива
- 24 ПРИМЕЧАНИЕ
- 25 Спидометр
- 29 Исходный режим индикации
- 30 Указатель уровня топлива; Деление F
- 32 Многофункциональный дисплей
- 33 Индикация температуры:; кости
- 34 дающей жидкости
- 35 Показывает скорость движения.
- 37 Цифровые часы; Для установки показаний часов нажмите и
- 39 (1) Регулятор предварительного сжатия пружины
- 40 ляторов с обеих сторон вилки.
- 42 Задняя подвеска
- 43 Поворот регулятора на 20 щелчков против
- 45 ТОРМОЗА
- 48 СЦЕПЛЕНИЕ; Если регулятор вывернут почти до предела,
- 51 Проверка; бачка
- 56 БЕСКАМЕРНЫЕ ШИНЫ; Давление воздуха в шинах
- 57 Чрезмерный износ протектора.
- 58 Износ протектора; Минимальная глубина протектора
- 59 Ремонт шины
- 62 МЕХАНИЗМЫ И ОРГАНЫ УПРАВЛЕНИЯ; ЗАМОК ЗАЖИГАНИЯ; Положение ключа зажигания; нельзя извлечь из замка
- 72 ПРОЧЕЕ ОБОРУДОВАНИЕ; БЛОКИРАТОР РУЛЯ
- 74 Заднее седло
- 75 ДЕРЖАТЕЛЬ ШЛЕМА
- 76 ПАКЕТ ДЛЯ ДОКУМЕНТОВ
- 78 НИЖНИЙ КОЖУХ
- 79 ЦЕНТРАЛЬНЫЙ КОЖУХ; Осторожно отсоедините фиксаторы.
- 81 ЭКСПЛУАТАЦИЯ МОТОЦИКЛА; ОСМОТР ПЕРЕД ПОЕЗДКОЙ; Уровень охлаждающей жидкости > добавьте
- 83 ПУСК ДВИГАТЕЛЯ
- 84 Подготовка к работе; Сигнализатор системы HESD не горит.
- 85 Процедура запуска; закрытой дроссельной заслонке.
- 86 Заливание цилиндров топливом; Полностью откройте дроссельную заслон>; Отключение зажигания
- 87 ОБКАТКА МОТОЦИКЛА
- 88 ЕЗДА НА МОТОЦИКЛЕ; цикл готов к поездке.
- 89 Для плавного снижения скорости коорди>
- 90 ТОРМОЖЕНИЕ; Важная информация по безопасности:
- 91 СТОЯНКА МОТОЦИКЛА; После остановки мотоцикла включите
- 93 ВАЖНОСТЬ ТЕХНИЧЕСКОГО ОБСЛУЖИВАНИЯ
- 96 РЕГЛАМЕНТ ТЕХНИЧЕСКОГО ОБСЛУЖИВАНИЯ
- 99 КОМПЛЕКТ ИНСТРУМЕНТОВ
- 100 ИДЕНТИФИКАЦИОННЫЕ НОМЕРА; РАМА No
- 101 ЭТИКЕТКА С ОБОЗНАЧЕНИЕМ КРАСКИ; ЦВЕТ
- 102 Вязкость; НЕ РЕКОМЕНДУЕТСЯ РЕКОМЕНДУЕТСЯ
- 103 масло
- 104 Моторное масло и масляный фильтр
- 106 С помощью специального ключа для
- 107 (8) Уплотнительное кольцо масляного фильтра
- 109 Выкрутите верхний крепежный болт радиа>
- 110 Снимите защитную панель магистрали сис>; дения
- 112 (15) Зазор между электродами свечи зажигания
- 114 Измерьте свободный ход рукоятки управле>
- 116 ПРИВОДНАЯ ЦЕПЬ; Проверьте прогиб нижней петли приводной
- 120 Приводная цепь для замены:
- 122 НАПРАВЛЯЮЩАЯ ПРИВОДНОЙ ЦЕПИ
- 123 ПРОВЕРКА ПЕРЕДНЕЙ И ЗАДНЕЙ ПОДВЕСКИ; Проверьте состояние узла передней вилки,
- 124 БОКОВОЙ УПОР; Проверка функционирования:
- 125 Приподнимите переднее колесо над опор>
- 126 нее колесо и боковые втулки.
- 127 Установка переднего колеса
- 128 Затяните стяжные болты на правом пере
- 129 Снятие заднего колеса; Приподнимите заднее колесо над опорной
- 132 Задний тормоз
- 134 Проверьте надежность затяжки всех болтов
- 139 ЗАМЕНА ЛАМП
- 140 Лампа фары; вернув ее против часовой стрелки.
- 141 Стояночный фонарь
- 144 Освещение регистрационного знака; (1) Фонарь освещения регистрационного знака
- 146 Мойка мотоцикла
- 147 Промойте мотоцикл холодной водой
- 148 Очистка матовых поверхностей
- 149 Уход за выхлопной трубой и глушителем
- 150 Замените масло в двигателе и масляный
- 153 ТЕХНИЧЕСКИЕ ХАРАКТЕРИСТИКИ МОТОЦИКЛА; РАЗМЕРЫ
- 154 ДВИГАТЕЛЬ
- 155 ШАССИ И ПОДВЕСКА
- 156 ТРАНСМИССИЯ; Первичная понижающая передача
- 158 КАТАЛИТИЧЕСКИЙ НЕЙТРАЛИЗАТОР; Правильно регулируйте двигатель.
 
  
  
  
  
  
  
  
  
  
  
  
  
  
  
  
  
  
  
  
  
  
  
  
  
  
  
  
  
  
  
  
  
  
  
  
  
  
  
  
  
  
  
  
  
  
  
  
  
  
  
  
  
  
  
  
  
  
  
  
  
  
  
  
  
  
  
  
  
  
  
  
  
  
  
  
  
  
  
  
  
  
  
  
  
  
  
  
  
  
  
  
  
  
  
  
  
  
  
  
  
  
  
  
  
  
  
  
  
  
  
  
  
  
  
  
  
  
  
  
  
  
  
  
  
  
  
  
  
  
  
  
  
  
  
  
  
  
  
  
  
  
  
  
  
  
  
  
  
  
  
  
  
  
  
  
  
  
  
  
 