Мотоциклы HONDA FMX650 - инструкция пользователя по применению, эксплуатации и установке на русском языке. Мы надеемся, она поможет вам решить возникшие у вас вопросы при эксплуатации техники.
Если остались вопросы, задайте их в комментариях после инструкции.
"Загружаем инструкцию", означает, что нужно подождать пока файл загрузится и можно будет его читать онлайн. Некоторые инструкции очень большие и время их появления зависит от вашей скорости интернета.

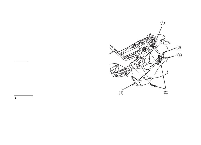
БОКОВАЯ КРЫШКА
Для обслуживания воздушного фильтра необхо
димо снять правую боковую крышку. Для обслу
живания аккумуляторной батареи необходимо
снять левую боковую крышку (1).
Правая и левая боковые крышки снимаются
одинаково.
Снятие:
1. Снимите седло (стр. 35).
2. Выверните болты (2) и извлеките фиксатор (3).
3. Извлеките направляющие (4) из резиновых
втулок (5).
4. Снимите крышку.
Установка:
Установка выполняется в порядке, обратном
процедуре снятия.
(1) Боковая крышка
(2) Болты
(3) Фиксатор
(4) Направляющая
(5) Втулка
39
