Мотоциклы HONDA FMX650 - инструкция пользователя по применению, эксплуатации и установке на русском языке. Мы надеемся, она поможет вам решить возникшие у вас вопросы при эксплуатации техники.
Если остались вопросы, задайте их в комментариях после инструкции.
"Загружаем инструкцию", означает, что нужно подождать пока файл загрузится и можно будет его читать онлайн. Некоторые инструкции очень большие и время их появления зависит от вашей скорости интернета.

32
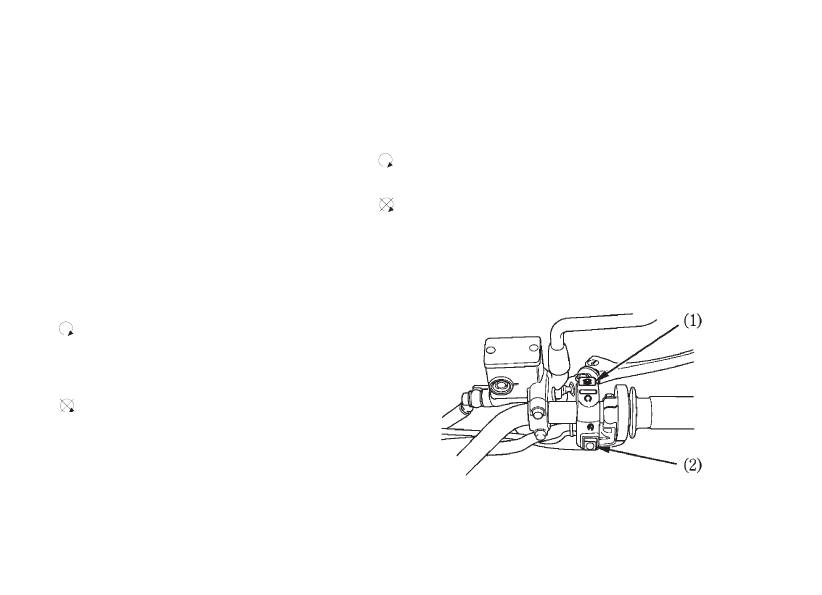
Выключатель двигателя
Выключатель (1) двигателя расположен рядом с
ручкой управления дроссельной заслонкой. Ког
да выключатель находится в положении RUN
_
(РАБОТА), двигатель может работать. Когда
выключатель находится в положении OFF
_
(ВЫКЛ.), двигатель не может работать. Этот
выключатель является, прежде всего, сред
ством безопасности и служит для использова
ния в экстренных случаях. В нормальных усло
виях он должен оставаться в положении RUN
(РАБОТА).
Если двигатель остановится при включённом за
жигании и выключателе двигателя в положении
OFF (ВЫКЛ), фара и задний фонарь останут
ся включены, приводя к разрядке аккумулятор
ной батареи.
Кнопка стартера
Кнопка (2) стартера расположена под выключа
телем (1) двигателя.
Кнопка стартера используется для запуска дви
гателя. Двигатель запускается нажатием на нее.
Процедура запуска описана на стр. 45.
При включении стартера он начинает провора
чивать коленчатый вал двигателя; фара автома
тически выключается, но задний фонарь остаёт
ся включённым.
(1) Выключатель двигателя
(2) Кнопка стартера
ОРГАНЫ УПРАВЛЕНИЯ ПРАВОЙ РУКОЯТКИ РУЛЯ
