Мотоциклы HONDA FMX650 - инструкция пользователя по применению, эксплуатации и установке на русском языке. Мы надеемся, она поможет вам решить возникшие у вас вопросы при эксплуатации техники.
Если остались вопросы, задайте их в комментариях после инструкции.
"Загружаем инструкцию", означает, что нужно подождать пока файл загрузится и можно будет его читать онлайн. Некоторые инструкции очень большие и время их появления зависит от вашей скорости интернета.

105
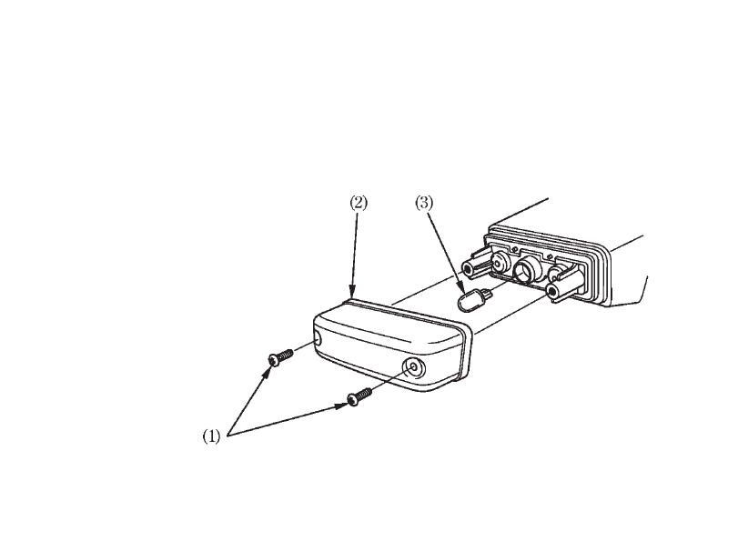
Лампа фонаря освещения номерного
знака
1. Открутите винты (1).
2. Снимите крышку (2) фонаря освещения но
мерного знака.
3. Извлеките лампу (3), не поворачивая её.
4. Установите новую лампу, выполняя опера
ции в обратном порядке.
(1) Винты
(2) Крышка фонаря освещения
номерного знака
(3) Лампа
