HONDA CBF1000F 2010 - Инструкция по эксплуатации - Страница 127

Мотоциклы HONDA CBF1000F 2010 - инструкция пользователя по применению, эксплуатации и установке на русском языке. Мы надеемся, она поможет вам решить возникшие у вас вопросы при эксплуатации техники.

Если остались вопросы, задайте их в комментариях после инструкции.

"Загружаем инструкцию", означает, что нужно подождать пока файл загрузится и можно будет его читать онлайн. Некоторые инструкции очень большие и время их появления зависит от вашей скорости интернета.
Страница:
/ 160
Загружаем инструкцию
background image

118

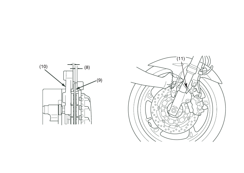
8. Измерьте зазор (8) между каждой из 

поверхностей левого тормозного диска 
(9) и корпусом левого суппорта (10) (не 
тормозными колодками) с помощью щупа на 
0,7 мм (11) (см. рисунок).

(8) Зазор   

(10) Корпус суппорта 

(11) ЩупKкалибр

(9) Тормозной диск

Полезные видео

Характеристики

Оцените статью
tehnopanorama.ru
Остались вопросы?

Не нашли свой ответ в руководстве или возникли другие проблемы? Задайте свой вопрос в форме ниже с подробным описанием вашей ситуации, чтобы другие люди и специалисты смогли дать на него ответ. Если вы знаете как решить проблему другого человека, пожалуйста, подскажите ему :)

Задать вопрос

Часто задаваемые вопросы
Как посмотреть инструкцию к HONDA CBF1000F 2010?
Необходимо подождать полной загрузки инструкции в сером окне на данной странице
Руководство на русском языке?
Все наши руководства представлены на русском языке или схематично, поэтому вы без труда сможете разобраться с вашей моделью
Как скопировать текст из PDF?
Чтобы скопировать текст со страницы инструкции воспользуйтесь вкладкой "HTML"