Мотоциклы HONDA CB900F 2010 - инструкция пользователя по применению, эксплуатации и установке на русском языке. Мы надеемся, она поможет вам решить возникшие у вас вопросы при эксплуатации техники.
Если остались вопросы, задайте их в комментариях после инструкции.
"Загружаем инструкцию", означает, что нужно подождать пока файл загрузится и можно будет его читать онлайн. Некоторые инструкции очень большие и время их появления зависит от вашей скорости интернета.

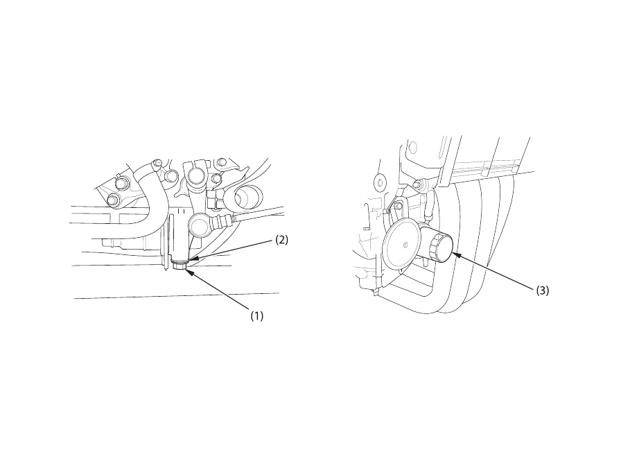
1. Для слива масла выверните крышку заливного
отверстия (1) и болт сливного отверстия с
уплотнительной шайбой (2).
2. С помощью специального ключа для фильтра
отверните масляный фильтр (3) и дайте стечь
остаткам масла. Сдайте использованый
масляный фильтр в утилизацию.
(1) Пробка слива масла из картера (2) Уплотнительная шайба (3) Масляный фильтр
88
