Мотоциклы HONDA CB900F 2010 - инструкция пользователя по применению, эксплуатации и установке на русском языке. Мы надеемся, она поможет вам решить возникшие у вас вопросы при эксплуатации техники.
Если остались вопросы, задайте их в комментариях после инструкции.
"Загружаем инструкцию", означает, что нужно подождать пока файл загрузится и можно будет его читать онлайн. Некоторые инструкции очень большие и время их появления зависит от вашей скорости интернета.

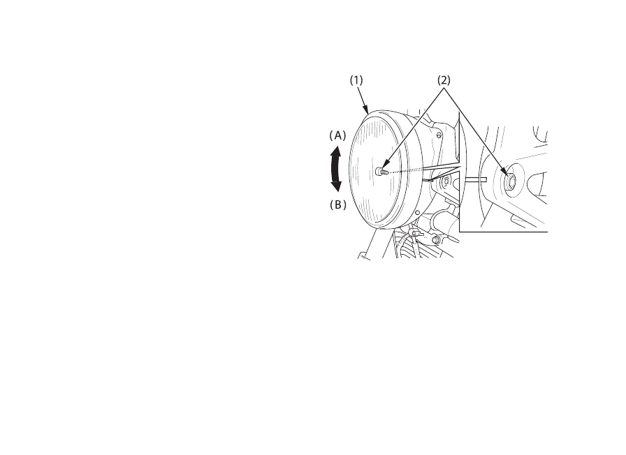
РЕГУЛИРОВКА НАПРАВЛЕНИЯ СВЕТА ФАРЫ
ПО ВЕРТИКАЛИ
Регулировка светового пучка фары по вертикали
производится перемещением корпуса фары в
нужном направлении.
Чтобы переместить корпус фары (1),
необходимо ослабить болты (2).
После завершения регулировок, затяните болты
(2). Соблюдайте требования местного законода+
тельства.
(1) Корпус фары
(2) Болты
(А) Перемещение вверх
(В) Перемещение вниз
62
