Мотопомпы Champion GP52 - инструкция пользователя по применению, эксплуатации и установке на русском языке. Мы надеемся, она поможет вам решить возникшие у вас вопросы при эксплуатации техники.
Если остались вопросы, задайте их в комментариях после инструкции.
"Загружаем инструкцию", означает, что нужно подождать пока файл загрузится и можно будет его читать онлайн. Некоторые инструкции очень большие и время их появления зависит от вашей скорости интернета.

12
ЭКСПЛУАТАЦИЯ МОТОПОМПЫ
РАСПОЛОЖЕНИЕ МОТОПОМПЫ ПРИ ЭКСПЛУАТАЦИИ
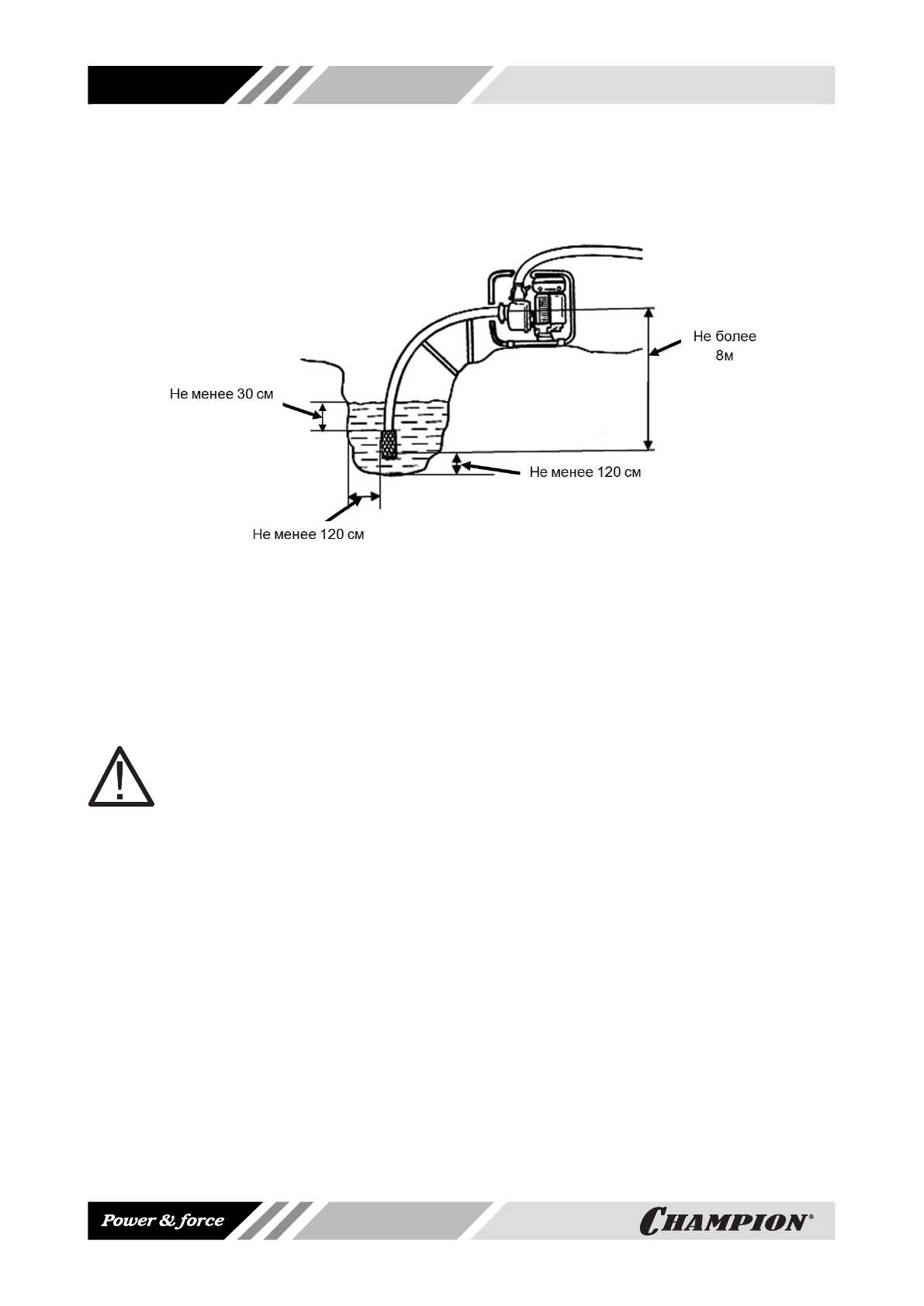
Рис.10
1. Установите мотопомпу вблизи водоема
(емкости) на твердую ровную горизон-
тальную поверхность, опустите фильтр
всасывающего рукава в водоем (ем-
кость), обеспечив вертикальное поло-
жение фильтра. При установке фильтра
соблюдайте все необходимые расстоя-
ния, как показано на Рис. 10.
ВНИМАНИЕ!
Несоблюдение указанных расстоя-
ний приведет к снижению эффек-
тивной работы насоса, либо попа-
данию внутрь насос грязи.
Выход из строя водяного насоса при попада-
нии внутрь ила, грязи, жидкой глины не под-
лежит ремонту по гарантии.
2. Убедитесь, что наклон мотопомпы не
превышает 10º от горизонтали в любом
направлении. Место установки должно
быть очищено от посторонних предме-
тов, хорошо проветриваемым и защи-
щенным от атмосферных воздействий.
При эксплуатации внутри помещения
обеспечьте хорошую вентиляцию.
3. Убедитесь, что мотопомпа стоит устой-
чиво и не имеет возможности для сме-
щения. Не забывайте, что всасывающий
шланг во время работы стремится пере-
местить мотопомпу в направлении ис-
точника воды.
4. Необходимо установить мотопомпу как
можно ближе к источнику воды. Чем
меньше перепад по высоте между мо-
топомпой и поверхностью воды, тем бы-
стрее происходит подача воды и выше
производительность насоса.
5. Не перегружайте мотопомпу длитель-
ной непрерывной работой на полных
оборотах коленчатого вала.
6. Во время работы периодически прове-
ряйте чистоту и положение всасываю-
щего фильтра в точке забора воды. При
необходимости корректируйте положе-
ние фильтра в точке забора, сохраняя
минимально необходимые расстояния
от стенок и дна водоема.
7. Эффективная
работа
мотопомпы
обеспечивается герметичностью со-
единений на всасывающей и напорной
магистрали, поэтому необходимо перио-
дически проверять затяжку хомутов кре-
пления рукавов, затяжку винтов крепле-
ния улитки, патрубков и всасывающего
фильтра.
8. Не допускайте деформации всасыва-
ющего и напорного рукавов при работе
мотопомпы.
Характеристики
Остались вопросы?Не нашли свой ответ в руководстве или возникли другие проблемы? Задайте свой вопрос в форме ниже с подробным описанием вашей ситуации, чтобы другие люди и специалисты смогли дать на него ответ. Если вы знаете как решить проблему другого человека, пожалуйста, подскажите ему :)