Mongoose RKT 11S - Инструкция по эксплуатации

Mongoose RKT 11S

Автосигнализация Mongoose RKT 11S - инструкция пользователя по применению, эксплуатации и установке на русском языке. Мы надеемся, она поможет вам решить возникшие у вас вопросы при эксплуатации техники.

Если остались дополнительные вопросы — свяжитесь с нами через контактную форму.

1 Страница 1
2 Страница 2
3 Страница 3
4 Страница 4
5 Страница 5
6 Страница 6
7 Страница 7
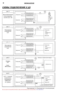
8 Страница 8
9 Страница 9
10 Страница 10
11 Страница 11
12 Страница 12
13 Страница 13
14 Страница 14
15 Страница 15
16 Страница 16
17 Страница 17
Страница: / 17
Загрузка инструкции

РУКОВОДСТВО ПОЛЬЗОВАТЕЛЯ

И ИНСТРУКЦИЯ ПО УСТАНОВКЕ

Подготовлено компанией AutoSet. Автосигнализации и автоэлектроника.

 www.AutoSet.ru

"Загрузка инструкции" означает, что нужно подождать пока файл загрузится и можно будет его читать онлайн. Некоторые инструкции очень большие и время их появления зависит от вашей скорости интернета.

Характеристики

Другие модели - Автосигнализации Mongoose

Все автосигнализации Mongoose