Страница 2 - Основные технические характеристики
Руководство пользователя и инструкция по установке. Model: Smart Screen 2 Ответственность за выбор типов и сечений дополнительных проводов, используемых при мон таже при необходимости, за определение мест и способов подключений к штатной электропроводке, за правильное расположение и за качество креп...
Страница 3 - Использование по назначению; Техническое обслуживание
Автомобильный охранный комплекс “MONGOOSE” Модель Smart Screen. 3 Использование по назначению После установки ознакомтесь с особенностями установки, первичными установками пользо вательских функций и опробируйте СТСТС вне интенсивного дорожного движения во всехрежимах. Пользовательское программирова...
Страница 4 - Вступление
Руководство пользователя и инструкция по установке. Model: Smart Screen 4 Вступление Автомобильная охранная система Mongoose Smart Screen сконструирована для обес печения комплексной охраны Вашего автомобиля на стоянке, в пути и во время кратковременных остановок. При проектировании системы применен...
Страница 5 - При программном включении функции MAwK; Приобретая стандартный комплект Mongoose Smart Screen; с полным комплектом для установки.; FOS; место
Автомобильный охранный комплекс “MONGOOSE” Модель Smart Screen. 5 Выходом для подключения пейджера; Выходом для автоматического закрытия стекол при дистанционной или автомати ческой постановке на охрану; Выходом для управления электрическим замком багажника; Каналом с программным выбором одной из дв...
Страница 6 - Пульты дистанционного управления; Специальные функции ЖКИ пульта управления; Индикация текущего состояния системы; кнопка 1
Руководство пользователя и инструкция по установке. Model: Smart Screen 6 Пульты дистанционного управления Пульт управления с ЖК$дисплеем. Представляет собой миниатюрный радио передатчик с питанием от 3 вольтовой бата рейки (тип CR2032), которой, в зависимости от интенсивности использования пульта,х...
Страница 7 - Таймер обратного отсчета.; Стандартный пульт управления; Представляет собой миниатюрный радио передат; Нажать кнопки 4 и 5
Автомобильный охранный комплекс “MONGOOSE” Модель Smart Screen. 7 Если при снятии с охраны Вы нажмете кнопку 3 или 4 перед нажатием кнопки 2 таймер будет остановлен, и время парковки будет в течение 10 секунд отображаться надисплее пульта. После чего пульт вернется к индикации текущего времени. Вы м...
Страница 8 - Таблица команд брелока.; кратковременно нажать один раз
Руководство пользователя и инструкция по установке. Model: Smart Screen 8 Таблица команд брелока. кратковременно нажать один раз кратковременно нажать два раза в интервале не более 3 секунд 3 сек. нажать и удерживать кнопку в нажатом состоянии не менее 3 секунд 1 2 последовательность нажатия кнопок ...
Страница 9 - Светодиодная индикация состояний системы.; Необходимая информация.; Аварийное отключение сигнализации.; ввод PIN кода. Светодиод при этом будет мигать двойными вспышками.
Автомобильный охранный комплекс “MONGOOSE” Модель Smart Screen. 9 Светодиодная индикация состояний системы. Охрана включена равномерные короткие вспышки Включен пассивный иммобилайзер равномерные длинные вспышки Включен Anti Hi@jack равномерные короткие вспышки Предупредительный режим Anti Hi@jack б...
Страница 10 - Правила пользования; Управление основными режимами охраны; Постановка на охрану.; нительного датчика, прозвучит короткая трель сирены.; Тихая постановка на охрану.
Руководство пользователя и инструкция по установке. Model: Smart Screen 10 Правила пользования Управление основными режимами охраны Постановка на охрану. Чтобы поставить сигнализацию на охрану надо при выключенном зажигании нажать кнопку 1 брелока, если все двери, капот и багажник закрыты, сирена по...
Страница 11 - Тихое снятие с охраны.; При парковке автомобиля в оживленных местах может пригодиться; режим отключе; датчика, который позволит избежать постоянного “чирика; ISF; , что позволит Вам не оставлять ключи в машине, либо без таковой.; если
Автомобильный охранный комплекс “MONGOOSE” Модель Smart Screen. 11 звуковым подтверждением. При тихой постановке на охрану звуковое предупреждениео незакрытых дверях, капоте и багажнике сохраняется, поэтому нет опасности, что Выоставите свой автомобиль незапертым. Тихое снятие с охраны. Если при сня...
Страница 12 - При активированной функции Anti Hijack; Двушаговое снятие с охраны.; Использование дополнительных охранных функций; Функция может быть включена или выключена программированием.; Автоматическое запирание дверей при включении зажигания.; Функция может быть отключена при установке.
Руководство пользователя и инструкция по установке. Model: Smart Screen 12 При активированной функции Anti Hijack , открыв дверь, сначала введите кнопкой аварийного отключения младший разряд PIN кода или нажмите комбинацию кнопок набрелоке, запрограммированную для отключения пассивного иммобилайзера...
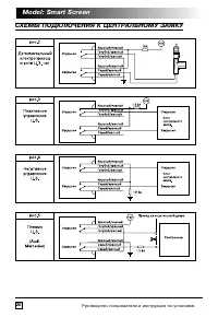
Страница 13 - Дистанционное управление центральным замком.; Режим включается и выключается программированием; DAPS; Кнопка 1; Только ЖКИ пульт
Автомобильный охранный комплекс “MONGOOSE” Модель Smart Screen. 13 течение этих 5 секунд какаялибо из дверей окажется открытой, то автоматическогозапирания не произойдет во избежание запирания ключей внутри автомобиля. Дистанционное управление центральным замком. При включенном зажигании замки двере...
Страница 14 - помните; Включение тревоги в режиме пассивного иммобилайзера (второй; ASL
Руководство пользователя и инструкция по установке. Model: Smart Screen 14 Чтобы отключить иммобилайзер, нажмите при включенном зажигании установлен ную программированием комбинацию кнопок. Отключение пассивного иммобилайзерасистема подтвердит двумя вспышками сигнальных фонарей. Если по какимлибо пр...
Страница 15 - Оба режима можно; режима блоки; SSDA; Если течение
Автомобильный охранный комплекс “MONGOOSE” Модель Smart Screen. 15 2. Тревога включится, если иммобилайзер не отключен в течение 15 секунд после открытия двери. 3. Тревога включится, если иммобилайзер не отключен в течение 30 секунд после открытия двери. 4. Тревога включится, если иммобилайзер не от...
Страница 16 - обязательно
Руководство пользователя и инструкция по установке. Model: Smart Screen 16 Отключение Anti<Hi<Jack: 1. В течение 90 или 30 секундной паузы 1 , а также в течение предупредительного режима 2, AntiHiJack может быть отключен вводом младшего разряда PIN кода кнопкой аварийного отключения или нажати...
Страница 17 - Постановка на охрану штатным ключом.; Для того, чтобы при запирании дверей; Задержка включения тревоги при открытии двери.; Используя функцию 36 в таблице
Автомобильный охранный комплекс “MONGOOSE” Модель Smart Screen. 17 Режимы временного отключения Anti<Hi<Jack. 1. Если после отключения противоугонной процедуры ни одна из дверей автомобиля не открывалась, зажигание можно включать и выключать неограниченное количество раз, AntiHiJack, при этом,...
Страница 18 - Функции диагностики; Предупреждение о неисправности.
Руководство пользователя и инструкция по установке. Model: Smart Screen 18 Функции диагностики Предупреждение о неисправности. Если при постановке на охрану какаялибо дверь, капот или багажник окажутся незакрыты, фонари мигнут 3 раза, и Вы услышите 3 дополнительных коротких звуковых сигнала. Память ...
Страница 19 - Специальные сервисные режимы; Учет задержки салонного света.; Режим включается программированием.; Программирование брелоков.; рийного отключения соответствующее число раз.
Автомобильный охранный комплекс “MONGOOSE” Модель Smart Screen. 19 Специальные сервисные режимы Учет задержки салонного света. Режим включается программированием. Если автомобиль имеет функцию задержки салонного света, и программно включен режим учета задержки, концевики дверей будут взяты под охран...
Страница 20 - дит запись кода брелока в память системы.; Программирование функций.; кнопку аварийного отключения число раз равное этой цифре.
Руководство пользователя и инструкция по установке. Model: Smart Screen 20 5. Нажмите кнопку 1 программируемого брелока. Короткий звуковой сигнал подтвер дит запись кода брелока в память системы. 6. Для выхода из режима программирования брелоков, выключите зажигание и на жмите кнопку аварийного откл...
Страница 21 - Таблица программируемых функций
Автомобильный охранный комплекс “MONGOOSE” Модель Smart Screen. 21 Таблица программируемых функций Функция переключателя Заводская Кнопка 1 Кнопка 2 установка 1@1 Автопостановка на охрану ВЫКЛ. ВКЛ. ВЫКЛ. 1@2 Постановка на охрану при запирании дверей ключом ( MAwK TM ) ВЫКЛ. ВКЛ. ВЫКЛ. 1@3 Запирание...
Страница 22 - ИНСТРУКЦИЯ ПО УСТАНОВКЕ; Перед началом установки отсоедините “; Технические характеристики.
Руководство пользователя и инструкция по установке. Model: Smart Screen 22 ИНСТРУКЦИЯ ПО УСТАНОВКЕ Внимание! Эта часть инструкции предназначена только для профессиональных ус тановщиков. Общие рекомендации. Перед началом установки отсоедините “ ” клемму аккумулятора автомобиля. 1. Центральный блок с...
Страница 23 - Назначение проводов и разъемов центрального блока.
Автомобильный охранный комплекс “MONGOOSE” Модель Smart Screen. 23 Назначение проводов и разъемов центрального блока. N Назначение провода Цвет провода Примечание 1 Выход на сирену Коричневый + 2 А 2 Выход на пейджер “+”300 мА Белый Подключить к + питания пейджера. 3 Выход состояния (программируемый...
Страница 24 - Программируемый выход.; таблице программирования.; переключателем 22 в таблице программирования
Руководство пользователя и инструкция по установке. Model: Smart Screen 24 **) Программируемый выход. Алгоритм работы программируемого выхода задается переключателями 21 и 22 в таблице программирования. 1. При выборе функции “Дистанционный запуск” на выходе будет появляться 1 се кундный импульс при ...
Страница 28 - ГАРАНТИЙНЫЙ ТАЛОН; Модель; Заводской номер; штамп фирмы продавца; Гарантийный срок 12 месяцев со дня продажи.; УСЛОВИЯ ГАРАНТИЙНОГО ОБСЛУЖИВАНИЯ
Руководство пользователя и инструкция по установке. Model: Smart Screen 28 Alliance Marketing Europe Limited ГАРАНТИЙНЫЙ ТАЛОН Модель Заводской номер Дата покупки(установки) Подпись продавца(установщика) штамп фирмы продавца ( установочного центра) Гарантийный срок 12 месяцев со дня продажи. УСЛОВИЯ...
Страница 29 - СВИДЕТЕЛЬСТВО О СООТВЕТСТВИИ И УСТАНОВКЕ; СТСТС MONGOOSE Smart Screen
Автомобильный охранный комплекс “MONGOOSE” Модель Smart Screen. 29 СВИДЕТЕЛЬСТВО О СООТВЕТСТВИИ И УСТАНОВКЕ Документом и гарантийным талоном на СТ СТ С является данное Руководство по эксплуата ции при наличии Инструкции пользователя в полном объеме. При квалифицированной установкеСТ СТ С обеспечивае...
Страница 30 - ЛИСТ ДЛЯ ОСОБЫХ ЗАМЕЧАНИЙ И ЗАМЕТОК.
Руководство пользователя и инструкция по установке. Model: Smart Screen 30 ЛИСТ ДЛЯ ОСОБЫХ ЗАМЕЧАНИЙ И ЗАМЕТОК. Особые замечания при установке: ____________________________________________________________________________________________________________________________________________________________...