Mongoose Matrica - Инструкция по эксплуатации

Mongoose Matrica

Автосигнализация Mongoose Matrica - инструкция пользователя по применению, эксплуатации и установке на русском языке. Мы надеемся, она поможет вам решить возникшие у вас вопросы при эксплуатации техники.

Если остались дополнительные вопросы — свяжитесь с нами через контактную форму.

1 Страница 1
2 Страница 2
3 Страница 3
4 Страница 4
5 Страница 5
6 Страница 6
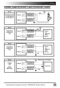
7 Страница 7
8 Страница 8
9 Страница 9
10 Страница 10
11 Страница 11
12 Страница 12
13 Страница 13
14 Страница 14
15 Страница 15
16 Страница 16
17 Страница 17
18 Страница 18
19 Страница 19
20 Страница 20
21 Страница 21
22 Страница 22
23 Страница 23
24 Страница 24
Страница: / 24
Загрузка инструкции

Автомобильный охранный комплекс “MONGOOSE” Модель Matrica.

1

Вступление

Автомобильная охранная система Mongoose Matrica сконструирована для обеспече

ния комплексной охраны Вашего автомобиля на стоянке, в пути и во время кратковре
менных остановок. При проектировании системы

применен принцип многоуровневой за

щиты от несанкционированного проникновения и угона

, основанный на сочетании кодиро

ванных команд дистанционного управления с программируемой многоступенчатой
процедурой отключения блокировок двигателя и включением тревожного оповещения
при отсутствии дополнительных идентификационных действий после снятия с охраны,
информировании пользователя о количестве пультов дистанционного управления, за
писанных в память системы, а также возможности управления постановкой снятием с
охраны без использования пульта дистанционного управления.

Тревожное оповещение в режиме охраны будет включено в случае открытия любой

двери, капота и багажника автомобиля, а также при срабатывании датчика удара, вхо
дящего в комплект охранной системы. При попытке в режиме охраны включить зажи
гание, электрические цепи управления двигателем будут заблокированы. При дополни
тельно установленном датчике объема, для подключения которого система имеет спе
циальный вход, Matrica будет контролировать внутренний объем салона и пространство
около автомобиля.

Для охраны автомобиля в пути предусмотрена автоматическая противоразбойная фун

кция Anti HiJack, и режим пассивного иммобилайзера для блокировки двигателя при
кратковременных остановках и после снятия с охраны до момента получения системой
команды, подтверждающей, что отключение охраны произведено владельцем автомо
биля.

Для предотвращения несанкционированного доступа в систему предусмотрена

за

щита кода радиокоманд

на базе технологии кодирования

KeeLoq

TM

, успешно противосто

ящая попыткам перехвата кодов с помощью кодграббера, встроенная

функция антиска

нирования

, исключающая возможность отключения сигнализации простым подбором

случайных кодов и

функция памяти состояний

, не позволяющая обезвредить стоящую на

охране сигнализацию просто сняв и надев клемму автомобильного аккумулятора, так
как в этом случае включится тревога и сохранится блокировка двигателя.

Прерывание и восстановление питания при отключенной охране не вызовет сраба

тывания сигнализации, чтобы не создавать трудностей, например, при ремонте.

Если питание было отключено, когда сигнализация находилась в режиме Valet, то

последующая его подача вернет сигнализацию в это же состояние.

Во избежание запирания ключей внутри автомобиля, при восстановлении питания от

автомобильного аккумулятора не происходит изменения состояния дверных замков.

Избежать ложных тревог позволит функция

обхода неисправной зоны

, которая отклю

чит неисправный датчик до конца цикла охраны, если он вызвал включение тревоги 8
раз.

Все остальные контролируемые зоны и блокировки останутся включенными.
Программируемая функция

учета задержки салонного света

дает возможность ис

пользовать Matrica на любых типах автомобилей.

"Загрузка инструкции" означает, что нужно подождать пока файл загрузится и можно будет его читать онлайн. Некоторые инструкции очень большие и время их появления зависит от вашей скорости интернета.

Характеристики

Другие модели - Автосигнализации Mongoose

Все автосигнализации Mongoose