Mongoose Immobilizer Card - Инструкция по эксплуатации

Mongoose Immobilizer Card

Автосигнализация Mongoose Immobilizer Card - инструкция пользователя по применению, эксплуатации и установке на русском языке. Мы надеемся, она поможет вам решить возникшие у вас вопросы при эксплуатации техники.

Если остались дополнительные вопросы — свяжитесь с нами через контактную форму.

1 Страница 1
2 Страница 2
3 Страница 3
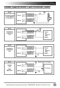
4 Страница 4
5 Страница 5
6 Страница 6
7 Страница 7
8 Страница 8
9 Страница 9
10 Страница 10
11 Страница 11
12 Страница 12
13 Страница 13
14 Страница 14
15 Страница 15
16 Страница 16
17 Страница 17
18 Страница 18
19 Страница 19
20 Страница 20
21 Страница 21
22 Страница 22
23 Страница 23
24 Страница 24
Страница: / 24
Загрузка инструкции

Автомобильный охранный комплекс “MONGOOSE” Модель Immobilizer Card.

1

Вступление

Автомобильная охранная система Mongoose IMMOBILIZER CARD сконструирова

на для обеспечения комплексной охраны Вашего автомобиля на стоянке, в пути и во
время кратковременных остановок. При проектировании системы

применен принцип мно

гоуровневой защиты от несанкционированного проникновения и угона

, основанный на со

четании кодированных команд дистанционного управления с программируемой много
ступенчатой процедурой отключения блокировок двигателя, включением тревожного
оповещения при отсутствии дополнительных идентификационных действий после сня
тия с охраны и информировании пользователя о количестве пультов дистанционного
управления, записанных в память системы.

Тревожное оповещение в режиме охраны будет включено в случае открытия любой

двери, капота и багажника автомобиля, а также при срабатывании датчика удара, вхо
дящего в комплект охранной системы. При попытке в режиме охраны включить зажи
гание, электрические цепи управления двигателем будут заблокированы. При дополни
тельно установленном датчике объема, для подключения которого система имеет спе
циальный вход, Mongoose IMMOBILIZER CARD будет контролировать внутренний
объем салона и пространство около автомобиля.

Для охраны автомобиля в пути предусмотрена автоматическая противоразбойная фун

кция Anti HiJack, и режим пассивного иммобилайзера для блокировки двигателя при
кратковременных остановках и после снятия с охраны до момента получения системой
команды, подтверждающей, что отключение охраны произведено владельцем автомо
биля.

Для предотвращения несанкционированного доступа в систему предусмотрена

за

щита кода радиокоманд

на базе технологии кодирования

KeeLoq

TM

, успешно противосто

ящая попыткам перехвата кодов с помощью кодграббера, встроенная

функция антиска

нирования

, исключающая возможность отключения сигнализации простым подбором

случайных кодов и

функция памяти состояний

, не позволяющая обезвредить стоящую на

охране сигнализацию просто сняв и надев клемму автомобильного аккумулятора, так
как в этом случае включится тревога и сохранится блокировка двигателя.

Прерывание и восстановление питания при отключенной охране не вызовет сраба

тывания сигнализации, чтобы не создавать трудностей, например, при ремонте.

Если питание было отключено, когда сигнализация находилась в режиме Valet, то

последующая его подача вернет сигнализацию в это же состояние.

Во избежание запирания ключей внутри автомобиля, при восстановлении питания от

автомобильного аккумулятора не происходит изменения состояния дверных замков.

Избежать ложных тревог позволит функция

обхода неисправной зоны

, которая отклю

чит неисправный датчик до конца цикла охраны, если он вызвал включение тревоги 8
раз. Все остальные контролируемые зоны и блокировки останутся включенными.

Программируемая функция

учета задержки салонного света

дает возможность ис

пользовать Mongoose IMMOBILIZER CARD на любых типах автомобилей.

"Загрузка инструкции" означает, что нужно подождать пока файл загрузится и можно будет его читать онлайн. Некоторые инструкции очень большие и время их появления зависит от вашей скорости интернета.

Характеристики

Другие модели - Автосигнализации Mongoose

Все автосигнализации Mongoose