Mongoose Duplex 2.1 - Инструкция по эксплуатации

Mongoose Duplex 2.1

Автосигнализация Mongoose Duplex 2.1 - инструкция пользователя по применению, эксплуатации и установке на русском языке. Мы надеемся, она поможет вам решить возникшие у вас вопросы при эксплуатации техники.

Если остались дополнительные вопросы — свяжитесь с нами через контактную форму.

1 Страница 1
2 Страница 2
3 Страница 3
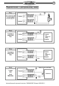
4 Страница 4
5 Страница 5
6 Страница 6
7 Страница 7
8 Страница 8
9 Страница 9
10 Страница 10
11 Страница 11
12 Страница 12
13 Страница 13
14 Страница 14
15 Страница 15
16 Страница 16
17 Страница 17
18 Страница 18
19 Страница 19
20 Страница 20
Страница: / 20
Загрузка инструкции

Автомобильный охранный комплекс “MONGOOSE” Модель DUPLEX 2.1

1

KeeLoq

зарегистрированная торговая марка

Вступление

Сигнализация Mongoose DUPLEX 2.1 сконструирована для охраны дверей,

капота и багажника автомобиля, пространства внутри салона и в непосредствен
ной близости от автомобиля. Для индикации тревоги предусмотрена звуковая и
световая сигнализация. Сигнал тревоги передается также по радиоканалу на Ваш
персональный пейджер, совмещенный с пультом управления сигнализацией.
Кроме этого, Mongoose DUPLEX 2.1 предотвращает несанкционированный за
пуск двигателя.

Перечисленные выше функции могут быть реализованы в большей или мень

шей степени в зависимости от подключенных стандартных или дополнительных
охранных средств.

Проконсультируйтесь с установщиком!!!

Для предотвращения несанкционированного доступа в систему предусмот

рена

защита кода радиокоманд

на базе технологии кодирования

KeeLoq

TM

, успеш

но противостоящая попыткам перехвата кодов с помощью кодграббера, встро
енная

функция антисканирования

, запрещающая отключение сигнализации про

стым подбором случайных кодов и

функция памяти состояний

, не позволяющая

обезвредить стоящую на охране сигнализацию просто сняв и надев клемму авто
мобильного аккумулятора, так как в этом случае включится тревога и сохранится
блокировка двигателя.

Прерывание и восстановление питания при отключенной охране не вызовет

срабатывания сигнализации, чтобы не создавать трудностей, например, при ре
монте.

Если питание было отключено, когда сигнализация находилась в режиме Valet,

то последующая его подача вернет сигнализацию в это же состояние.

Во избежание запирания ключей внутри автомобиля, при восстановлении

питания от автомобильного аккумулятора не происходит изменения состояния
дверных замков.

Избежать ложных тревог позволит функция

обхода неисправной зоны

, кото

рая отключит неисправный датчик до конца цикла охраны, если он вызвал вклю
чение тревоги 8 раз.

Все остальные контролируемые зоны и блокировки останутся включенными.
Программируемая функция

учета задержки салонного света

дает возможность

использовать Mongoose DUPLEX 2.1 на любых типах автомобилей. Если же Ваш
автомобиль не имеет такой функции Mongoose DUPLEX 2.1 будет на 20 секунд
включать свет в салоне при снятии с охраны, открывании двери и выключении
зажигания. При постановке на охрану и включении зажигания свет будет немед
ленно гаснуть.

Для повышения охранных свойств системы и удобства пользования автомо

билем Mongoose DUPLEX 2.1 оснащен

дополнительными каналами с программ

ным выбором опций

:

1. Для управления электрическим замком багажника или другим электричес

ким устройством.

2. Для управления внешним устройством дистанционного запуска двигателя или

организации внешней нормальноразомкнутой блокировки.

"Загрузка инструкции" означает, что нужно подождать пока файл загрузится и можно будет его читать онлайн. Некоторые инструкции очень большие и время их появления зависит от вашей скорости интернета.

Характеристики

Другие модели - Автосигнализации Mongoose

Все автосигнализации Mongoose