Mongoose AMG 750_1 - Инструкция по эксплуатации

Mongoose AMG 750_1

Автосигнализация Mongoose AMG 750_1 - инструкция пользователя по применению, эксплуатации и установке на русском языке. Мы надеемся, она поможет вам решить возникшие у вас вопросы при эксплуатации техники.

Если остались дополнительные вопросы — свяжитесь с нами через контактную форму.

1 Страница 1
2 Страница 2
3 Страница 3
4 Страница 4
5 Страница 5
6 Страница 6
7 Страница 7
8 Страница 8
9 Страница 9
10 Страница 10
11 Страница 11
12 Страница 12
13 Страница 13
14 Страница 14
15 Страница 15
16 Страница 16
17 Страница 17
18 Страница 18
19 Страница 19
20 Страница 20
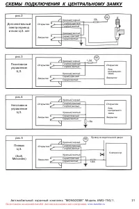
21 Страница 21
22 Страница 22
23 Страница 23
Страница: / 23
Загрузка инструкции

Подготовлено компанией AutoSet. Автосигнализации и автоэлектроника.

 www.AutoSet.ru

"Загрузка инструкции" означает, что нужно подождать пока файл загрузится и можно будет его читать онлайн. Некоторые инструкции очень большие и время их появления зависит от вашей скорости интернета.

Характеристики

Другие модели - Автосигнализации Mongoose

Все автосигнализации Mongoose