Микроволновые печи Midea AG823A4J - инструкция пользователя по применению, эксплуатации и установке на русском языке. Мы надеемся, она поможет вам решить возникшие у вас вопросы при эксплуатации техники.
Если остались вопросы, задайте их в комментариях после инструкции.
"Загружаем инструкцию", означает, что нужно подождать пока файл загрузится и можно будет его читать онлайн. Некоторые инструкции очень большие и время их появления зависит от вашей скорости интернета.

10
ПОРЯДОК РАБОТЫ
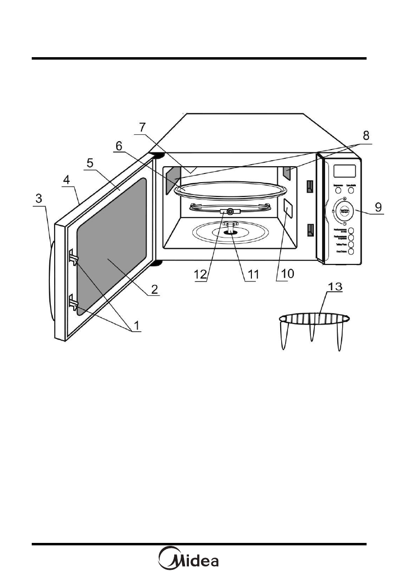
УСТРОЙСТВО ПЕЧИ
Устройство печи приведено на рисунке
2.
1
Защелки дверцы
2
Окно печи
3
Ручка
дверцы
4
Дверца
5
Уплотнительная прокладка дверцы
6
Стеклянное блюдо
7
Нагревательный элемент гриля
8
Вентиляционные отверстия
9
Панель управления
10
Слюдяная пластина.
НЕ УДАЛЯТЬ!
11
Муфта вала мотора
12
Кольцо роликовое
13
Решетка для гриля
Рисунок
2