Микроволновые печи Gorenje MO 17 MS - инструкция пользователя по применению, эксплуатации и установке на русском языке. Мы надеемся, она поможет вам решить возникшие у вас вопросы при эксплуатации техники.
Если остались вопросы, задайте их в комментариях после инструкции.
"Загружаем инструкцию", означает, что нужно подождать пока файл загрузится и можно будет его читать онлайн. Некоторые инструкции очень большие и время их появления зависит от вашей скорости интернета.

85
OVLÁDACÍ PANEL
RÝCHLY SPRIEVODCA
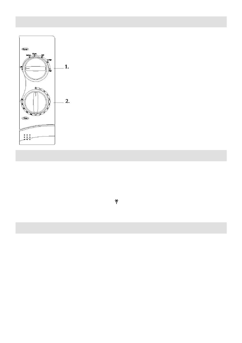
1.
Vloţte jedlo do rúry. Zvoľte úroveņ výkonu otoţením
Voliĉa výkonu varenia
.
2.
Zvoľte dobu varenia otoţením
Ĉasovaĉa
.
Ak chcete rozmraziş nejaké jedlo
1.
Otoţte
voliĉ výkonu varenia
na "
".
2.
Otoţte
ĉasovaĉ
, aby ste zvolili vhodnú dobu.
AKO PRACUJE MIKROVLNNÁ RÚRA
Mikr
ovlny sú vysoko-frekvenţné elektromagnetické vlny; vyţarovaná energia
umoţní uvarenie a ohrievanie jedla bez zmeny tvaru alebo farby.
Vašu mikrovlnnú rúru môţete pouţiş na:
-
Rozmrazovanie
-
Rýchle ohriatie
-
Varenie
Princíp varenia
1.
Mikrovlny vytvárané magnetrónom sa šíria rovnomerne, pretoţe sa jedlo
otáţa na otoţnom tanieri. Jedlo sa teda uvarí rovnomerne.
2.
Mikrovlny jedlo absorbuje do hĺbky pribliţne 2,5 cm. Varenie potom pokraţuje,
pretoţe teplo sa rozptýli vo vnútri jedla.
1
Ţasovaţ 0 – 30 minút
2
Ovládaţ výkonu
Содержание
- 128 ПРЕДОСТЕРЕЖЕНИЕ
- 129 ВАЖНЫЕ ПРЕДУПРЕЖДЕНИЯ
- 131 ОПИСАНИЕ ПРИБОРА
- 132 ПРИНЦИП РАБОТЫ
- 133 Что делать, если у Вас возникли сомнения или проблемы
- 134 УРОВНИ МОЩНОСТИ; Руководство по использованию; РАЗМОРАЖИВАНИЕ; ПРИГОТОВЛЕНИЕ/РАЗОГРЕВАНИЕ
- 135 Остановка процесса приготовления
- 136 Размораживание; Очистка микроволновой печи