Страница 2 - Содержание
Содержание 2 Указания по безопасности и предупреждения .......................................... 6 Ваш вклад в охрану окружающей среды .................................................... 16 Обзор .........................................................................................................
Страница 3 - Главное меню и подменю
Содержание 3 Освещение ......................................................................................................... 42Стартовый экран .............................................................................................. 42Дисплей ...................................................
Страница 6 - Указания по безопасности и предупреждения; Надлежащее использование; Этот духовой шкаф предназначен для использования в до-
Указания по безопасности и предупреждения 6 Данный духовой шкаф отвечает предписанным нормам техни-ческой безопасности. Тем не менее, ненадлежащая эксплуата-ция может привести к травмам и материальному ущербу. Внимательно прочтите инструкцию по эксплуатации и мон-тажу, прежде чем вводить в эксплуата...
Страница 7 - Если у вас есть дети
Указания по безопасности и предупреждения 7 Лица, которые по состоянию здоровья или из-за отсутствия опыта и соответствующих знаний не могут уверенно управлятьдуховым шкафом, должны при его эксплуатации находиться подприсмотром.Эти лица могут управлять духовым шкафом без надзора лишь втом случае, ...
Страница 8 - Опасность удушья из-за упаковочного материала. При игре с; Техническая безопасность; Вследствие неправильно выполненных работ по монтажу, тех-
Указания по безопасности и предупреждения 8 Опасность удушья из-за упаковочного материала. При игре с упаковкой (например, плёнкой) дети могут завернуться в неё илинатянуть на голову, что приведёт к удушью.Храните упаковочный материал в недоступном для детей месте. Опасность получения травм из-з...
Страница 11 - Если духовой шкаф встроен за мебельным фронтом (напри-; Правильная эксплуатация; Опасность получения травм из-за горячих поверхностей. При
Указания по безопасности и предупреждения 11 Если духовой шкаф встроен за мебельным фронтом (напри- мер, дверцей), то им можно пользоваться только при открытомположении мебельного фронта (дверцы). При закрытой дверцевозможен застой нагретого влажного воздуха. При этом могутбыть повреждены сам духо...
Страница 14 - Для поверхностей из нержавеющей стали:; Чистка и уход
Указания по безопасности и предупреждения 14 Нагрузка на дверцу составляет максимум 15 кг. Не вставайте и не садитесь на открытую дверцу прибора, а также не кладитена нее тяжелые предметы. Следите, чтобы никакие посторонниепредметы не защемились между дверцей и рабочей камерой.Возможно повреждение...
Страница 15 - В странах с влажным и тёплым климатом существует повы-; Принадлежности; Используйте исключительно оригинальные принадлежности
Указания по безопасности и предупреждения 15 В странах с влажным и тёплым климатом существует повы- шенная опасность поражения паразитами (например, чёрные та-раканы). Содержите духовой шкаф и рабочую зону в чистоте.Гарантия не действует в отношении повреждений, возникающихиз-за паразитов. Принадл...
Страница 16 - Ваш вклад в охрану окружающей среды; Утилизация прибора
Ваш вклад в охрану окружающей среды 16 Утилизация транспортнойупаковки Упаковка защищает прибор от по-вреждений при транспортировке.Материалы упаковки безопасны дляокружающей среды и легко утилизи-руются, поэтому они подлежат пере-работке. Возвращение упаковки для ee вто-ричной переработки приводит ...
Страница 17 - Обзор; Духовой шкаф
Обзор 17 Духовой шкаф a Передняя панель с индикацией и элементами управления b Замок дверцы c ТЭН верхнего жара/гриля с приёмной антенной для беспроводного термо-щупа d Отверстия для подачи пара e Всасывающая трубка для наполнения системы парообразования f Беспроводной термощуп g Камера h Боковые на...
Страница 18 - Элементы управления; в углублении
Элементы управления 18 a Кнопка Вкл./Выкл. в углублении Для включения и выключения ду-хового шкафа b Сенсорная кнопка Для управления духовым шкафомс мобильного устройства c Датчик приближенияДля включения подсветки рабочейкамеры и дисплея, а также под-тверждения звуковых сигналовпри приближени...
Страница 19 - находится в; Датчик приближения
Элементы управления 19 Кнопка Вкл./Выкл. Кнопка Вкл./Выкл. находится в углублении и реагирует на прикосно-вение пальца. Эта кнопка включает и выключает ду-ховой шкаф. Датчик приближения Датчик приближения расположен влевой верхней части панели управле-ния. Датчик приближения распознаёт,когда вы п...
Страница 20 - Сенсорные кнопки; Сенсорная
Элементы управления 20 Сенсорные кнопки Сенсорные кнопки реагируют на касание пальцем. Каждое касание подтвер-ждается звуковым сигналом. Вы можете отключить этот звуковой сигнал, вы-брав установку Громкость звука | Звук нажатия кнопок | Выкл. . Если вы хотите, чтобы сенсорные кнопки реагировали на...
Страница 21 - Сенсорный дисплей; Сенсорный дисплей состоит из нескольких областей.; центре дисплея; или
Элементы управления 21 Сенсорный дисплей Чувствительную поверхность сенсорного дисплея можно поцарапать ост-рыми предметами, например, карандашом.Прикасайтесь к сенсорному дисплею только пальцами.Следите за тем, чтобы за дисплей не попадала вода. Сенсорный дисплей состоит из нескольких областей. Реж...
Страница 22 - Символы; На экране дисплея могут появиться следующие символы:
Элементы управления 22 Символы На экране дисплея могут появиться следующие символы: Символ Значение Этот символ обозначает дополнительную информацию и ука-зания по управлению. Подтвердите эти информационные ок-на с помощью сенсорной кнопки OK . … Указание на наличие вышестоящих пунктов меню, кот...
Страница 23 - Принцип управления; оранжевым цветом; Выбор пункта меню; ОК
Принцип управления 23 Для управления духовым шкафом ис-пользуется сенсорный дисплей, в ко-тором вы будете касаться нужныхпунктов меню. Каждое касание в ряду возможноговыбора окрашивает соответству-ющие знаки (слово и/или символ) оранжевым цветом . Кнопки для подтверждения этапа уп-равления выделены ...
Страница 24 - OK; Ввод букв
Принцип управления 24 Изменение установок с помощьюсегментной шкалы Некоторые установки представлены ввиде сегментной шкалы . Если заполнены все сегменты, то вы-брано максимальное значение. Если не заполнен ни один или толькоодин сегмент, то выбрано минималь-ное значение или установк...
Страница 25 - Индикация поля Помощник; Активация MobileStart
Принцип управления 25 Открытие выпадающего ме-ню Во время приготовления можновключать и выключать установки, на-пример, Booster или Предварит. на- грев , а также включать и выключать функцию Wi-Fi . Вытяните вниз выпадающее менюза оранжевую линию под заголов-ком. Выберите установку, которую на...
Страница 26 - Оснащение; Типовая табличка
Оснащение 26 С обратной стороны указаны модели,описываемые в данной инструкциипо эксплуатации и монтажу. Типовая табличка Типовая табличка видна при откры-той дверце на фронтальной рамке. На ней указаны модель, заводскойномер, а также данные подключения(сетевое напряжение/частота/макси-мальная потре...
Страница 27 - Боковые направляющие
Оснащение 27 Боковые направляющие В рабочей камере с правой и с левойстороны имеются боковые направля-ющие с уровнями для размеще- ния принадлежностей. Обозначение уровней можно прочи-тать на фронтальной раме. Каждый уровень состоит из 2 опор,расположенных одна над другой. Принадлежности (наприме...
Страница 28 - Вращающийся вертел
Оснащение 28 При задвигании сторона с фиксато-рами против выскальзывания долж-на быть ближе к задней стенке ка-меры. При использовании универсальногопротивня с лежащей на нем решёт-кой противень вставляется междуопорами одного уровня, а решёткаавтоматически размещается сверху. Вращающийся вертел Так...
Страница 29 - Опасность получения травм
Оснащение 29 Телескопические направляющиеFlexiClip HFC 92 Вы можете использовать телескопи-ческие направляющие FlexiClip науровнях 1–3. Полностью задвиньте телескопичес-кие направляющие FlexiClip внутрьрабочей камеры до установки наних принадлежностей. В этом случае принадлежности бу-дут автоматичес...
Страница 30 - Круглые формы для выпечки
Оснащение 30 Зафиксируйте телескопическуюнаправляющую FlexiClip на нижнейопоре уровня (3.). Если телескопические направля-ющие FlexiClip заблокировались по-сле монтажа, их следует один развыдвинуть с усилием. Для демонтажа телескопической на-правляющей FlexiClip выполните сле-дующие действия. По...
Страница 31 - Камень для выпечки HBS 60
Оснащение 31 Камень для выпечки HBS 60 Камень для выпечки позволяет дос-тичь оптимального результата выпеч-ки для блюд, которые должны иметьподжаристое пропеченное дно, как,например, пицца, киш, хлеб, булочки,пикантная выпечка и т. п.Камень для выпечки изготовлениз огнеупорной керамики и покрытглазу...
Страница 32 - фибры Miele; Функции безопасности; для пиролиза
Оснащение 32 Термощуп Ваш духовой шкаф оснащён беспро-водным термощупом, с помощью ко-торого можно контролировать процес-сы приготовления с точным соблюде-нием температурного режима (см. гла-ву «Запекания», раздел «Термощуп»).Термощуп хранится в дверце. Если термощуп вставлен в гильзу дляхранения не...
Страница 33 - выпечки Гурмэ
Оснащение 33 Поверхности с покрытиемPerfectClean Поверхности с покрытием PerfectCleanобладают прекрасными антипригарны-ми свойствами и очень легко чистятся.Приготовленное блюдо легко выни-мается из формы. Загрязнения, об-разованные после выпекания или об-жаривания, удаляются без труда.На поверхностя...
Страница 34 - Ввод в эксплуатацию; Доступность соединения Wi-Fi
Ввод в эксплуатацию 34 Miele@home Ваш духовой шкаф оснащён инте-грированным модулем Wi-Fi. Для использования Вам потребуется: - сеть Wi-Fi - приложение Miele@mobile - учётная запись Miele. Учётную за- пись вы можете создать в прило-жении Miele@mobile. Приложение Miele@mobile поможетвам установить со...
Страница 35 - Основные установки; Установка языка; Установка даты
Ввод в эксплуатацию 35 Основные установки Во время первого ввода в эксплуата-цию вам необходимо осуществитьследующие настройки. Эти установкипозднее вы можете снова изменить(см. главу «Установки»). Опасность получения травм из-за горячих поверхностей.При работе духовой шкаф нагре-вается.Используйт...
Страница 37 - Опасность травмирования из-
Ввод в эксплуатацию 37 Вы ещё раз услышите короткий звукработающего насоса. Выполняетсязабор воды, оставшейся во всасыва-ющей трубке. Включаются нагрев и подсветка ра-бочей камеры, а также вентиляторохлаждения. Через некоторое время автоматиче-ски будет выполнен паровой удар. Опасность травмирован...
Страница 38 - Установки; Обзор установок; Пункт меню
Установки 38 Обзор установок Пункт меню Возможные настройки Язык ... | deutsch | english | ... Страна Текущее время Индикация Вкл. * | Выкл. | Ночное отключение Отображение Аналоговое * | Цифровое Формат времени 24 ч * | 12 ч (am/pm) Установить ДатаОсвещение Вкл."Вкл." на 15 секунд * Вы...
Страница 40 - * Заводская настройка
Установки 40 Пункт меню Возможные настройки RemoteUpdate Вкл. * Выкл. Версия ПОПравовая информация Лицензии Open Source Демо-режим Демо-режим Вкл. | Выкл. * Заводские настройки Установки прибораПерсональные программыMyMieleРекомендуем. температуры * Заводская настройка
Страница 41 - Открытие меню «Установки»; Индикация
Установки 41 Открытие меню «Установки» В меню Установки можно изме- нить заводские установки своего ду-хового шкафа и настроить его сучётом личных потребностей.Вы находитесь в главном меню. Выберите Установки . Выберите нужную установку. Вы можете проверить или изменитьустановки. Изменят...
Страница 42 - Дата; Освещение; подсветка рабочей камеры сно-; Стартовый экран; брав путь меню в верхней строке.; Дисплей; Яркость
Установки 42 После отказа сетевого питания инди-кация актуального текущего временипоявляется снова. Текущее время со-храняется прибл. на 150 часов. Если духовой шкаф объединён с се-тью Wi-Fi и зарегистрирован в мо-бильном приложении Miele@mobile,то время суток синхронизируется снастройкой по часовом...
Страница 43 - QuickTouch; Громкость звука; Звуковые сигналы; Единицы измерения; Температура
Установки 43 QuickTouch Выберите реакцию сенсорных кно-пок и датчика приближения при вы-ключенном духовом шкафе: - Вкл. Если дополнительно выбрана уста-новка Текущее время | Индикация | Вкл. или Ночное отключение , сен- сорные кнопки и датчик приближе-ния будут реагировать даже привыключенном духо...
Страница 44 - Функцию; Рекомендуем. температуры; Выберите нужный режим работы.; Пиролиз; не поддерживайте тепло
Установки 44 ществляется только относящимисяк данному режиму нагреватель-ными элементами. Функцию Booster для процесса при- готовления также можно включать ивыключать из выпадающего меню. Рекомендуем. температуры Целесообразно менять рекоменду-емые температуры, если вы часто го-товите при температур...
Страница 45 - Камера в рабочей камере; После выбора настройки; во время процесса
Установки 45 Камера в рабочей камере После выбора настройки Камера в ра- бочей камере | Вкл. во время процесса приготовления можно получать изо-бражения из рабочей камеры на мо-бильное устройство. Для этого необходимо предвари-тельно установить приложениеMiele@mobile на мобильное устрой-ство и имет...
Страница 46 - Безопасность; Блокировка включения
Установки 46 Вкл. дисплей при приближ. - Вкл. Если отображается время, духовойшкаф включится и появится глав-ное меню, как только вы приблизи-тесь к сенсорному дисплею. - Выкл. Датчик приближения не реагируетна ваше приближение к сенсорно-му дисплею. Включите духовойшкаф кнопкой Вкл./Выкл. . Выкл...
Страница 47 - Распознавание меб. фронта; Если вы хотите использовать
Установки 47 Распознавание меб. фронта - Вкл. Активирована функция распозна-вания мебельного фронта. Благо-даря датчику приближения духовойшкаф автоматически распознаёт,закрыта ли мебельная дверца. После закрытия мебельной дверцыдуховой шкаф выключается авто-матически спустя определённоевремя. - Вык...
Страница 48 - Дистанционное управление
Установки 48 - в исх. состоян. Эта установка отображается толь-ко в том случае, если сеть Wi-Fiуже настроена. Функция Wi-Fi вы-ключается, и настройки соедине-ния с сетью Wi-Fi сбрасываются дозаводских. Вы должны заново на-строить соединение с сетью Wi-Fi,чтобы иметь возможность исполь-зовать функцию...
Страница 49 - Индикация SuperVision
Установки 49 SuperVision Духовой шкаф поддерживает функ-цию Miele@home и оснащён функци-ей SuperVision для контроля за дру- гими бытовыми приборами, входя-щими в сеть Miele@home. Функцию SuperVision можно активи- ровать только в том случае, если на-строена система Miele@home. Индикация SuperVision -...
Страница 50 - - Установленное обновление нельзя
Установки 50 RemoteUpdate Пункт меню RemoteUpdate отобра- жается и доступен для выбора толь-ко в том случае, если выполненыусловия для использования функ-ции Miele@home (см. главу «Первыйввод в эксплуатацию», раздел«Miele@home»). С помощью функции RemoteUpdate(удаленное обновление) можно об-новлять ...
Страница 51 - Версия ПО; Правовая информация; Заводские настройки
Установки 51 Версия ПО Пункт меню «Версия программногообеспечения» предназначен для сер-висной службы Miele. Для личногоиспользования эта информация вамне потребуется. Подтвердите с помощью OK . Правовая информация В пункте Лицензии Open Source вы найдёте обзор всех интегрированныхкомпонентов лице...
Страница 52 - Использование функции Сигнал
Сигнал + таймер 52 С помощью сенсорной кнопки Вы можете настроить таймер (например,для варки яиц) или установить преду-преждающий сигнал, т.е. фиксиро-ванное время. Вы можете одновременно настро-ить два предупреждающих сигналаи два времени таймера или одинпредупреждающий сигнал и одновремя таймер...
Страница 54 - Меню
Главное меню и подменю 54 Меню Рекомен- дованное значение Область Режимы работы Конвекция плюс 160 °C 30–250 °C Верхний / нижний жар 180 °C 30–280 °C Конвекция с паром Конв. с паром и Авт. жарения 160 °C 130–230 °C Конв. с паром и Конв. плюс 160 °C 130–250 °C Конв. с паром и ...
Страница 56 - Советы по экономии электроэнергии; Процессы приготовления; - Вынимайте из рабочей камеры все; возможности используйте режим
Советы по экономии электроэнергии 56 Процессы приготовления - По возможности используйте авто- матические программы для приго-товления блюд. - Вынимайте из рабочей камеры все принадлежности, которые не нуж-ны для процесса приготовления. - Выбирайте более низкую темпера- туру из диапазона в рецепте и...
Страница 57 - - Если вы ввели время для процесса; Настройки; ния настройку; - Выберите для подсветки рабочей; Энергосберегающий режим
Советы по экономии электроэнергии 57 Использование остаточноготепла - При приготовлении при темпера- турах выше 140 °C в течение более30 минут можно прим. за 5 минутдо окончания процесса снизитьтемпературу до минимальной уста-новки. Имеющегося остаточноготепла будет достаточно, чтобы до-вести блюдо ...
Страница 58 - Управление прибором
Управление прибором 58 Включите духовой шкаф. Появится главное меню. Поместите приготавливаемую пищув рабочую камеру. Выберите Режимы работы . Выберите нужный режим работы. Появляется режим работы и реко-мендуемая температура. При необходимости измените реко-мендуемую температуру. Реко...
Страница 59 - Установка времени приготовления
Управление прибором 59 Установка времени приготовления На результате приготовления мо-жет негативно сказаться, еслимежду размещением продукта врабочую камеру и началом приго-товления пройдёт много времени.Свежие продукты могут изменитьцвет или даже испортиться.При выпекании тесто может вы-сохнуть, а...
Страница 60 - Изменить время приготовления
Управление прибором 60 Изменить время приготовления Выберите , ввод времени или Таймер . Выберите нужное время и измени-те его. Подтвердите с помощью OK . При нарушении электроснабжениянастройки удаляются. Удалить время приготовления Выберите , ввод времени или Таймер . Выберите нужное...
Страница 62 - Предварительный нагрев
Управление прибором 62 Предварительный нагрев Предварительный нагрев рабочей ка-меры необходим только для некото-рых видов приготовления. В большинстве случаев блюда можноначинать готовить в холодной рабо-чей камере и использовать тепло ужево время нагрева. Если вы установили время приго-товления, о...
Страница 63 - Crisp function; Включение Crisp function; Изменение режима работы
Управление прибором 63 Crisp function Функция Crisp function (уменьшение влажности) подходит для приготов-ления кишей, пиццы, открытых пи-рогов с сочной начинкой и маффи-нов. Эта функция особенно хорошо под-ходит для получения хрустящей ко-рочки у приготавливаемой птицы. Включение Crisp function Фун...
Страница 64 - - Наиболее оптимальный процесс
Конвекция с паром 64 Ваш духовой шкаф оборудован испа-рительной системой для приготов-ления с использованием пара. Привыпекании, запекании или приготов-лении в режиме Конвекция с паром оптимизированная подача пара и на-правление воздуха гарантируют рав-номерное приготовление и подрумя-нивание. В...
Страница 65 - Установка температуры
Конвекция с паром 65 Запуск процесса приготов-ления с Конвекция с паром Выступание влаги на внутреннейповерхности стекла во время паро-вого удара является нормой. Этотосадок испаряется в процессе при-готовления. Подготовьте продукт и поместитеего в рабочую камеру. Выберите Режимы работы . ...
Страница 66 - Подтвердите нажатием; Если вы выбрали
Конвекция с паром 66 Подача воды и запуск процессавсасывания Заполните ёмкость требуемым ко-личеством водопроводной воды. Откройте дверцу. Откиньте вперёд всасывающуютрубку, расположенную слева подпанелью управления. Опустите всасывающую трубку вёмкость с водопроводной водой. Подтвердите н...
Страница 67 - Запуск паровых ударов; автоматически
Конвекция с паром 67 Запуск паровых ударов Опасность получения травм от водяного пара.Водяной пар может сильно ошпа-рить.Кроме того, осаждение водяногопара на панели управления ведет кзамедлению реакции на нажатиесенсорных кнопок и сенсорногодисплея.Не открывайте дверцу во времяпаровых ударов. авт...
Страница 68 - Выпарить остатки воды
Конвекция с паром 68 Выпарить остатки воды В процессе приготовления с исполь-зованием пара, который протекаетбез прерывания, в системе не остаёт-ся воды. Вода полностью испаряетсяпропорционально числу паровых уда-ров. Если приготовление с использова-нием пара будет прервано вручнуюили при отключении...
Страница 69 - Выберите; Появится
Конвекция с паром 69 процессе выпаривания в зависимос-ти от фактически имеющегося коли-чества воды. По окончании выпаривания остатковводы на дисплее появится Готово . Выберите закрыть . Вы можете выполнить процесс при-готовления в каком-либо режиме илив автоматической программе с ис-пользованием в...
Страница 70 - Категории; Указания по использованию
Автоматич. программы 70 Разнообразные автоматические про-граммы гарантируют превосходныерезультаты приготовления. Категории Для лучшего обзора автоматическиепрограммы разделены по катего- риям. Вы просто выбираете автома-тическую программу, подходящую квашему продукту, и следуете указа-ниям на ди...
Страница 71 - Поиск
Автоматич. программы 71 - При использовании термощупа время приготовления зависит отдостижения внутренней темпера-туры. - Если по окончании автоматической программы у продукта не будетнужной вам степени готовности,выберите пункт Довести до готовн. или Допечь . После этого продукт будет готовиться до...
Страница 72 - Специальные программы; Размораживание; Рекомендации
Специальные программы 72 В этой главе вы найдёте информациюпо следующим вариантам использо-вания: - Размораживание - Сушка - Подогрев посуды - Подъём дрожжевого теста - Низкотемпер. приготовление - Режим "Шаббат" - Поддержание тепла - Консервирование - Замороженные продукты/готовые блюда Раз...
Страница 73 - Сушка; Продукт; Извлечение продуктов для сушки
Специальные программы 73 Сушка Сушка (вяление) является традицион-ным способом консервированияфруктов, некоторых видов овощей изелени. Главным условием является то, чтобыфрукты и овощи были свежими, вы-зревшими и без помятостей. При необходимости удалите кожу-ру и косточки из продукта и из-мельчит...
Страница 74 - Подогрев посуды
Специальные программы 74 Подогрев посуды При предварительном нагреве по-суды продукты питания остывают нетак быстро. Используйте термостойкую посуду. Задвиньте решётку на уровень 1 ипоставьте на неё подогреваемуюпосуду. В зависимости от размеровпосуды можно поставить её такжена дно рабочей камеры ...
Страница 75 - Режим; Опасность получения ожогов
Специальные программы 75 Низкотемпер. приготовление Режим Низкотемпер. приготовление идеально подходит для нежных кус-ков говядины, свинины, телятины илимяса ягненка, которые должны гото-виться до определённой степени го-товности.Сначала кусок мяса в течение корот-кого времени обжаривается присильно...
Страница 77 - не
Специальные программы 77 Режим "Шаббат" Специальные программы Режим "Шаббат" и Йом-Киппур помогают пользователю в соблюдении религи-озных обычаев. Духовой шкаф нагревается до уста-новленной температуры и сохраняетеё максимум 24 часа ( Режим "Шаб- бат" ) или 76 часов ( Йом-Кип...
Страница 78 - Консервирование; Опасность заражения из-за
Специальные программы 78 Консервирование Опасность заражения из-за образования бактерий.После однократного консервиро-вания бобовых и мяса споры боту-линического токсина не уничтожа-ются полностью. При этом могутобразовываться токсины, приво-дящие к тяжёлым отравлениям.Эти споры убиваются только п...
Страница 79 - Консервирование овощей; Обязательно
Специальные программы 79 Консервирование фруктов и огур-цов Как только бурление в банках ста-нет заметным, установите указан-ную температуру для повторногонагрева и дайте банкам повторнонагреться в рабочей камере в тече-ние указанного времени. Консервирование овощей Как только бурление в банках ...
Страница 80 - - Несколько раз переворачивайте
Специальные программы 80 Замороженные продукты/готовые блюда Рекомендации по приготовлениюпирогов, пиццы и багетов - Выпекайте пироги, пиццу и багеты на решётке, покрытой бумагой длявыпечки.При приготовлении этих быстроза-мороженных продуктов универ-сальный противень может настоль-ко сильно деформир...
Страница 81 - MyMiele; Добавление записей; Удаление записей
MyMiele 81 В MyMiele вы можете сохранять наиболее часто используемые про-граммы. При использовании автоматическихпрограмм больше не требуется про-ходить через все уровни меню, чтобызапустить выполнение программы. Совет: Внесённые в MyMiele пункты меню MyMiele вы можете также вы- брать для включе...
Страница 85 - Выпекание; Рекомендации по выпеканию; - Всегда ставьте формы для выпечки
Выпекание 85 Бережная обработка продуктовблагоприятна для вашегоздоро-вья.Поэтому пироги, пиццу, картофельфри и выпечку следует готовитьтолько до золотистого цвета, а недо коричневого. Рекомендации по выпеканию - Установите длительность приготов- ления. Процесс выпекания не дол-жен настраиваться зад...
Страница 86 - Выбор температуры; Указания по режимам работы; Следуйте указаниям на дисплее.
Выпекание 86 Указания по таблицам приго-товления Таблицы приготовления можно найтив конце этого документа. Выбор температуры В основном рекомендуется выби-рать более низкую температуру.Разумеется, при более высокихтемпературах время выпекания со-кращается, однако подрумянива-ние может быть очень...
Страница 87 - Не
Выпекание 87 Использование режима Конвекцияс паром Используйте этот режим работы снужным вам режимом нагрева дляприготовления с использованием па-ра. Разместите приготовляемый про-дукт на уровне 1. Использование режима Интенсив-ное выпекание Используйте этот режим работы длявыпекания пирогов...
Страница 88 - Запекание; Советы по запеканию
Запекание 88 Советы по запеканию - Вы можете использовать любую посуду из термостойкого материа-ла, например формы для запека-ния, кастрюлю для жаркого, стек-лянную форму, рукав илипакет для запекания, глиняную по-суду, универсальный противень,решётку и/или брызгозащитныйэкран (при наличии) на униве...
Страница 89 - Выбор времени приготовления; Выбирайте режим; рабочая камера на этапе об-
Запекание 89 Для кусков мяса весом более 3 кгвыбирайте температуру прим. на10 °C ниже, чем указано в таблице.Процесс запекания будет длитьсянемного дольше, но мясо пригото-вится равномернее и корочка небудет слишком толстой. Для запекания на решётке выби-райте температуру примерно на 10°C ниже, ...
Страница 90 - Беспроводной термощуп; Принцип действия
Запекание 90 Использование режима Конвекцияс паром Используйте этот режим работы снужным вам режимом нагрева дляприготовления с использованием па-ра. Разместите приготовляемый про-дукт на уровне 1. Использование режима Верхний /нижний жар Используйте этот режим работы дляприготовления по тра...
Страница 91 - Возможности использования; Важные указания по использованию
Запекание 91 Передача значений внутренней тем-пературы в электронный блок духо-вого шкафа осуществляется посред-ством радиосигналов между пере-датчиком в ручке термощупа иприёмной антенной в задней стенкепосле того, как продукт со вставлен-ным термощупом помещается в ра-бочую камеру. Беспрепятственн...
Страница 92 - - При использовании беспроводного
Запекание 92 - При использовании беспроводного термощупа не размещайте над нимметаллические предметы, напримеркрышки форм, алюминиевую фольгуили решётку для выпечки и запека-ния и универсальный противень нарасположенных выше уровнях при-готовления. Можно использоватьстеклянные крышки. - Не используй...
Страница 93 - Использование термощупа
Запекание 93 Использование термощупа Извлеките термощуп из гильзы дляхранения в дверце. Вставьте металлический наконеч-ник термощупа полностью в про-дукт до ручки. Если необходимо приготовить од-новременно несколько кусков мяса,то вставьте термощуп в самый высо-кий кусок мяса. Ручка должна быть ...
Страница 94 - Индикация остаточного времени
Запекание 94 Индикация остаточного времени Если в каком-либо процессе приго-товления установленная температурабудет превышать 140 °C, то черезопределённое время отобразитсярасчёт оставшейся длительностиприготовления (остаточное время).Это остаточное время также показы-вается при использовании специа...
Страница 95 - Гриль
Гриль 95 Опасность получения травм из-за горячих поверхностей.Если вы готовите на гриле при от-крытой дверце, горячий воздух ра-бочей камеры больше не будет ав-томатически проходить через ох-лаждающий вентилятор и охлаж-даться. Элементы управления на-греваются.При приготовлении на гриле за-крывайт...
Страница 96 - Для
Гриль 96 Указания по таблицам приго-товления Таблицы приготовления можно найтив конце этого документа. Соблюдайте указанные диапазонытемпературы, уровни и длитель-ность приготовления. При этомучитывайте разницу в размерахкусков мяса и индивидуальныхпривычках. Проверяйте готовность блюдаспустя ко...
Страница 97 - щающийся вертел малый
Гриль 97 Указания по режимам работы Обзор всех режимов вместе с соот-ветствующими рекомендуемыми зна-чениями приведен в главе «Главные идополнительные меню». Пластик термощупа может пла-виться при очень высоких темпе-ратурах.Не используйте термощуп в режи-мах гриля.Не храните термощуп в рабочейкамер...
Страница 98 - Опасность получения травмиз-
Гриль 98 Приготовление на гриле свращающимся вертелом Вращающийся вертел можно ис-пользовать в режимах Вращающийся вертел больш. и Вращающийся вертел малый . Максимальная нагрузка на вертелсоставляет 5 кг. Вставьте до щелчка крепления вер-тела в боковые стороны универ-сального противня. ...
Страница 100 - Загрязнения остатками фрук-
Чистка и уход 100 При достаточно длительном воз-действии загрязнений на поверх-ности существует вероятность, чтоих больше не получится устранить.Многократное использование при-бора без проведения промежуточ-ной очистки может значительноусложнить его очистку.Лучше всего удалять загрязнениясразу. Прин...
Страница 102 - - ступень 1 при лёгком загрязнении
Чистка и уход 102 Очистка рабочей камеры спомощью Пиролиз Вместо чистки рабочей камеры вруч-ную ёе можно очистить с помощьюфункции Пиролиз . При пиролизе рабочая камера нагре-вается до температуры более 400 °C.Имеющиеся загрязнения расщепля-ются при высоких температурах ипревращаются в пепел. Им...
Страница 103 - Запуск пиролиза
Чистка и уход 103 Запуск пиролиза Опасность получения травм из-за горячих поверхностей.При пиролизе духовой шкаф разо-гревается больше, чем при нор-мальном режиме работы.Не допускайте, чтобы дети прика-сались к духовому шкафу во вре-мя пиролиза. Выберите Чистка и уход . Выберите Пиролиз . ...
Страница 105 - Удаление накипи; Ход процесса удаления накипи
Чистка и уход 105 Удаление накипи Из системы парообразования в зави-симости от жёсткости воды необхо-димо регулярно удалять накипь. Процесс удаления накипи можнопроводить в любое время. Однако по истечении определённогоколичества процессов приготовленияпоявится автоматическое требованиеудалить накип...
Страница 106 - Дополнительно таблетки мож-
Чистка и уход 106 Подготовка процесса удаления на-кипи Вам потребуется ёмкость вмести-мостью ок. 1 литра. Для того чтобы вам не приходилосьдержать ёмкость со средством дляудаления накипи под всасывающейтрубкой, в комплект поставки вхо-дит пластмассовый шланг с присо-ской. Для достижения оптимального...
Страница 108 - Выпаривание остатков воды
Чистка и уход 108 Выпаривание остатков воды После третьего промывания запуска-ется выпаривание остатков воды. Извлеките ёмкость и шланг из ра-бочей камеры. Закройте дверцу. Подтвердите нажатием OK . Опасность получения травм от водяного пара.Водяной пар может сильно ошпа-рить.Во время выпари...
Страница 109 - Снятие дверцы; Дверца весит около 14 кг.
Чистка и уход 109 Снятие дверцы Дверца весит около 14 кг. Дверца соединена с петлями с по-мощью держателей.Прежде чем снимать дверцу с дер-жателей, необходимо разблокиро-вать фиксирующие скобы обеихдверных петель. Полностью откройте дверцу. Разблокируйте скобы, повернув ихдо упора. Неправильное ...
Страница 110 - Разборка дверцы
Чистка и уход 110 Разборка дверцы Дверца представляет собой откры-тую систему из 4 стеклянных пане-лей, частично покрытых теплоотра-жающим слоем. В ходе эксплуатации через дверцудополнительно подается воздух, бла-годаря чему наружная поверхностьдверцы остаётся холодной. Если в пространстве между сте...
Страница 111 - Опасность получения травм от
Чистка и уход 111 Опасность получения травм от захлопывающейся дверцы.Дверца может захлопнуться, еслиеё разбирать, предварительно несняв.Перед разборкой дверцы всегдаснимайте её со шкафа. Положите внешнее стекло дверцына мягкую поверхность (например,полотенце для посуды) во избежа-ние появления ...
Страница 113 - Теперь дверца вновь собрана.
Чистка и уход 113 Вставьте уплотнение. Задвиньте внутреннее стекло двер-цы в пластмассовую планку так,чтобы оно лежало стороной с ри-сунком вниз, и уложите внутреннеестекло двери между стопорами. Закройте оба стопора стёкол двер-цы, повернув их вовнутрь. Теперь дверца вновь собрана.
Страница 114 - Установка дверцы; Полностью откройте дверцу.
Чистка и уход 114 Установка дверцы Возьмитесь за дверцу по сторонами установите ее на крепления пе-тель.Не допускайте перекоса. Полностью откройте дверцу. Если запорные скобы не заблоки-рованы, дверца может отсоеди-ниться от креплений и получитьповреждения.Обязательно вновь заблокируйтезапорные ...
Страница 122 - При желании выберите установку
Что делать, если ... 122 Проблема Причина и устранение Подсветка рабочей ка-меры выключена илине включается. Вы выбрали установку Освещение | Выкл. | . Включите подсветку рабочей камеры на 15 се-кунд нажатием сенсорной кнопки . При желании выберите установку Освещение | Вкл. или "Вкл.&...
Страница 123 - Сервисная служба; Гарантия; Гарантийный срок составляет 2 года.; Сертификат соответствия; Срок службы прибора: 10 лет
Сервисная служба 123 Контактная информация дляобращений в случае неисп-равностей При возникновении неисправностей,которые вы не можете устранитьсамостоятельно, обращайтесь в сер-висную службу Miele. Вызвать специалиста сервиснойслужбы Miele можно онлайнна сайте https://www.miele.ru/domestic/service-...
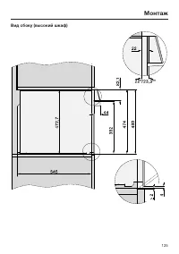
Страница 124 - Монтаж; Размеры для встраивания; Указания размеров приведены в мм.
Монтаж *INSTALLATION* 124 Размеры для встраивания Указания размеров приведены в мм. Встраивание в высокий шкаф или шкаф под столешницей Если духовой шкаф должен быть встроен под панелью конфорок, то учиты-вайте указания по встраиванию, а также высоту встраивания панели конфо-рок. Компенсационная пол...
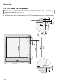
Страница 128 - Встраивание духового шкафа
Монтаж *INSTALLATION* 128 Встраивание духового шкафа Используйте духовой шкаф тольково встроенном виде, чтобы гаран-тировать его надёжную и безопас-ную работу. Для исправной работы духовогошкафа требуется достаточныйприток охлаждающего воздуха.Необходимый охлаждающий воз-дух не должен чрезмерно нагр...
Страница 129 - Подключение к электросети; Опасность получения травм!
Монтаж *INSTALLATION* 129 Подключение к электросети Опасность получения травм! Вследствие неправильно выпол-ненных работ по монтажу, техоб-служиванию или ремонту можетвозникнуть серьезная опасностьдля пользователя, за которуюкомпания Miele ответственность ненесет. Подключение прибора к электро-сет...
Страница 130 - Схема подключения AC 230 V; в точке
Монтаж *INSTALLATION* 130 Схема подключения AC 230 V Этот духовой шкаф предназначендля работы от сети электропитания сполным сопротивлением Z max в точке перехода (домовое присоединение)максимум 0,42 Ом. Пользователь должен убедиться, чтодуховой шкаф подключён к сетиэлектропитания, которая удовлетво...
Страница 131 - Таблицы приготовления; Сдобное тесто; CF
Таблицы приготовления 131 Сдобное тесто Пироги/выпечка (принадлежности) [°C] [мин] CF Маффины (1 противень) 150–160 – 2 25–35 – Маффины (2 противня) 150–160 – 1 + 3 30–40 2 – Небольшие кексы (1 противень)* 140 – 1 30–40 – 160 1 – 2 20–30 – Небольшие кексы (2 противня)* 150 – 1 ...
Страница 132 - Песочное тесто
Таблицы приготовления 132 Песочное тесто Пироги/выпечка (принадлежности) [°C] [мин] CF Печенье (1 противень) 140–150 – 1 20–30 – 150–160 – 2 25–35 – Печенье (2 противня) 140–150 – 1 + 3 25–35 2 – Отсадное печенье (1 противень)* 140 – 1 35–45 – 160 1 – 2 20–30 – Отсадное печенье...
Страница 133 - Дрожжевое тесто
Таблицы приготовления 133 Дрожжевое тесто Пироги/выпечка (принадлежности) [°C] [мин] CF Кекс (форма для кекса 24 см) 160–170 1 45–55 – 160–170 1 50–60 – Рождественский кекс 150–160 – 1 50–60 – 160–170 1 45–55 – Пирог с крошкой и фруктами/безфруктов (противень) 160–170 – ...
Страница 134 - Творожно-сдобное тесто
Таблицы приготовления 134 Творожно-сдобное тесто Пироги/выпечка [°C] [мин] CF Фруктовый пирог (противень) 160–170 – 2 40–50 – 170–180 – 2 40–50 – Яблочные пирожки/улитки с изю-мом (1 противень) 160–170 2 25–35 Яблочные пирожки/улитки с изю-мом (2 противня) 150–160 1 + 3 25–35...
Страница 135 - Бисквитное тесто
Таблицы приготовления 135 Бисквитное тесто Пироги/выпечка [°C] [мин] CF Бисквитный корж (2 яйца, разъём-ная форма, 26 см) 160–170 1 – 1 15–25 – Бисквитный корж (4–6 яиц, разъ-ёмная форма, 26 см) 160–170 1 – 1 35–45 – Бисквит с добавлением воды(разъёмная форма, 26 см)* 170 ...
Страница 136 - Заварное тесто, слоёное тесто, белковая выпечка
Таблицы приготовления 136 Заварное тесто, слоёное тесто, белковая выпечка Пироги/выпечка [°C] [мин] CF Заварное пирожное (1 противень) 170–180 – 1 30–40 – 160–170 – 1 40–50 1 2 Пирожки из слоёного теста (1 про-тивень) 170–180 – 2 20–30 – Пирожки из слоёного теста (2 про-тивня) 1...
Страница 137 - Пикантные блюда
Таблицы приготовления 137 Пикантные блюда Продукт (принадлежности) [°C] [мин] CF Пикантный плоский пирог с начин-кой (противень) 220–230 3 1 30–40 180–190 – 1 40–50 Луковый пирог (противень) 180–190 3 2 25–35 – 170–180 – 2 30–40 Пицца, дрожжевое тесто (про-тивень) 170...
Страница 138 - Говядина
Таблицы приготовления 138 Говядина Продукт (принадлежности) [°C] [мин] [°C] Тушёная говядина, ок. 1 кг(сковорода с крышкой) 2 150–160 3 1 120–130 5 -- 2 170–180 3 1 120–130 5 -- 2 170–180 – 1 160–180 6 -- Филе говядины, ок. 1 кг(универсальный противень) 2 180–190 3 1 ...
Страница 139 - Телятина
Таблицы приготовления 139 Телятина Продукт (принадлежности) [°C] [мин] [°C] Тушёная телятина, ок. 1,5 кг(сковорода с крышкой) 2 160–170 3 1 120–130 4 -- 2 170–180 3 1 120–130 4 -- Телятина (филе), ок. 1 кг(универсальный противень) 2 160–170 3 1 30–60 45–75 Филе телятины,...
Страница 140 - Свинина
Таблицы приготовления 140 Свинина Продукт (принадлежности) [°C] [мин] [°C] Жаркое из свинины/шейно-лопа-точной части корейки,, ок. 1 кг(сковорода с крышкой) 160–170 1 130–140 5 80–90 180–190 1 140–150 5 80–90 Жаркое из свинины на шкурке,ок. 2 кг (форма для запекания) 180–190 ...
Страница 145 - Класс энергоэффективности; - Измерение проводится в режиме работы; - Выберите настройку
Данные для организаций, проводящих испытания и тесты 145 Класс энергоэффективности Согласно Приказу Минпромторга России от 06 ноября 2018 г. № 4404, элект-рические духовые и жарочные шкафы бытовые объёмом более 65 литроввходят в перечень исключений из категорий товаров, на которые распростра-няется ...
Страница 146 - Заявление о соответствии товара
Заявление о соответствии товара 146 Настоящим фирма Miele заявляет,что этот духовой шкаф соответствуетдирективе 2014/53/ЕС. Полный текст заявления о соответ-ствии товара требованиям ЕС можнонайти на одном из следующих интер-нет-сайтов: - Продукты, Скачать, на www.miele.de - Сервис, Запрос информации...
Страница 147 - Авторские права и лицензии; . Изложенные в условиях предоставления свободной лицензии поло-
Авторские права и лицензии 147 Для обслуживания и управления прибором компания Miele использует соб-ственное и стороннее программное обеспечение (ПО), которое не подпадаетпод действие условий так называемой свободной лицензии. Эти программы/компоненты ПО защищены авторским правом. Необходимо соблюда...
Страница 148 - Гарантия качества товара
Гарантия качества товара 148 Уважаемый покупатель! Гарантийный срок на бытовую технику, ввезенную на территорию страны приобретения черезофициальных импортеров составляет 24 месяца, при условии использования изделия исключи-тельно для личных, семейных, домашних и иных нужд, не связанных с осуществле...
Страница 150 - Контактная информация о Miele
Контактная информация о Miele 150 По всем вопросам, связанным с приобретением техники, приобретением дополнительных при-надлежностей и расходных материалов, а также в случае необходимости сервисной поддержкипросим обращаться по телефону“Горячей линии”. Российская Федерация Горячая линия для РФ 8-800...
Страница 151 - Факс
Пpоизводитeль:Mилe & Ци. КГ, Карл-Миле-Штрасе, 29, 33332 Гютерсло, ГерманияMiele & Cie. KG, Carl-Miele-Straße 29, 33332 Gütersloh, Deutschland ООО «Миле»ул. Жилянская 48, 50A01033 Киев, УкраинаТелефон:Телефакс: Internet: www.miele.uaE-mail: info@miele.ua + 38 (044) 496 0300+ 38 (044) 494 228...