Материнские платы GIGABYTE GA MA790XT UD4P - инструкция пользователя по применению, эксплуатации и установке на русском языке. Мы надеемся, она поможет вам решить возникшие у вас вопросы при эксплуатации техники.
Если остались вопросы, задайте их в комментариях после инструкции.
"Загружаем инструкцию", означает, что нужно подождать пока файл загрузится и можно будет его читать онлайн. Некоторые инструкции очень большие и время их появления зависит от вашей скорости интернета.

GA-MA790XT-UD4P Motherboard
- 30 -
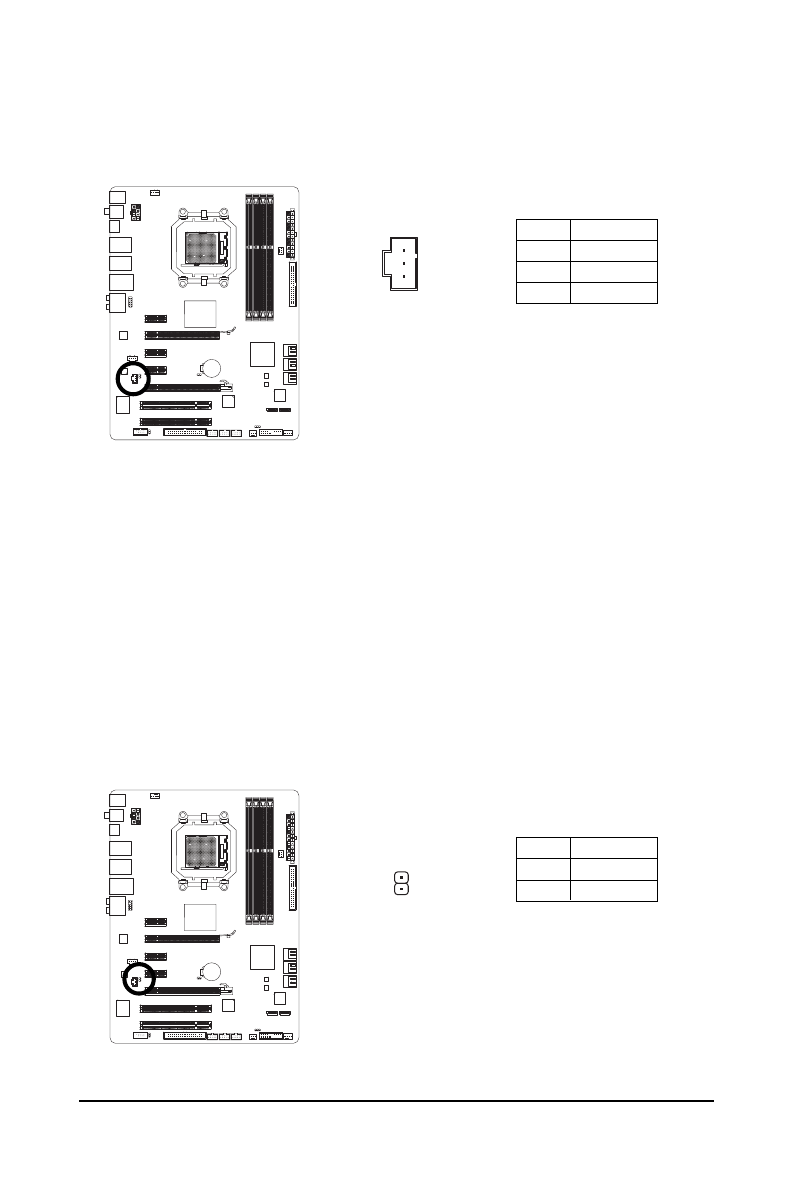
14) SPDIF_IN (S/PDIF In Header)
This header supports digital S/PDIF in and can connect to an audio device that supports digital
audio out via an optional S/PDIF in cable. For purchasing the optional S/PDIF in cable, please
contact the local dealer.
15) SPDIF_OUT (S/PDIF Out Header)
This header supports digital S/PDIF out and connects a S/PDIF digital audio cable (provided by
expansion cards) for digital audio output from your motherboard to certain expansion cards like
graphics cards and sound cards. For example, some graphics cards may require you to use a
S/PDIF digital audio cable for digital audio output from your motherboard to your graphics card if
you wish to connect an HDMI display to the graphics card and have digital audio output from the
HDMI display at the same time. For information about connecting the S/PDIF digital audio cable,
carefully read the manual for your expansion card.
Pin No.
Definition
1
SPDIFO
2
GND
Pin No.
Definition
1
Power
2
SPDIFI
3
GND
1
1