Материнские платы GIGABYTE GA H55 USB3 rev 2 0 - инструкция пользователя по применению, эксплуатации и установке на русском языке. Мы надеемся, она поможет вам решить возникшие у вас вопросы при эксплуатации техники.
Если остались вопросы, задайте их в комментариях после инструкции.
"Загружаем инструкцию", означает, что нужно подождать пока файл загрузится и можно будет его читать онлайн. Некоторые инструкции очень большие и время их появления зависит от вашей скорости интернета.

- 29 -
Hardware Installation
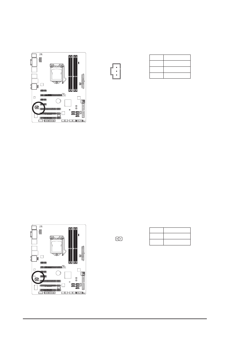
Pin No. Definition
1
Power
2
SPDIFI
3
GND
14) SPDIF_I (S/PDIF In Header)
This header supports digital S/PDIF In and can connect to an audio device that supports digital audio out
via an optional S/PDIF In cable. For purchasing the optional S/PDIF In cable, please contact the local
dealer.
Pin No. Definition
1
SPDIFO
2
GND
15) SPDIF_O (S/PDIF Out Header)
This header supports digital S/PDIF Out and connects a S/PDIF digital audio cable (provided by expan-
sion cards) for digital audio output from your motherboard to certain expansion cards like graphics cards
and sound cards. For example, some graphics cards may require you to use a S/PDIF digital audio cable
for digital audio output from your motherboard to your graphics card if you wish to connect an HDMI
display to the graphics card and have digital audio output from the HDMI display at the same time. For
information about connecting the S/PDIF digital audio cable, carefully read the manual for your expan-
sion card.
1
1