Магнитолы Sony XR-C8220R - инструкция пользователя по применению, эксплуатации и установке на русском языке. Мы надеемся, она поможет вам решить возникшие у вас вопросы при эксплуатации техники.
Если остались вопросы, задайте их в комментариях после инструкции.
"Загружаем инструкцию", означает, что нужно подождать пока файл загрузится и можно будет его читать онлайн. Некоторые инструкции очень большие и время их появления зависит от вашей скорости интернета.

27
RLAY MODE
ENTER
D I S C
T R AC K
RLAY MODE
ENTER
D I S C
T R AC K
Номер позиции участка
µ
RLAY MODE
ENTER
D I S C
T R AC K
S E T U P RLAY MODE
ENTER
D I S C
T R AC K
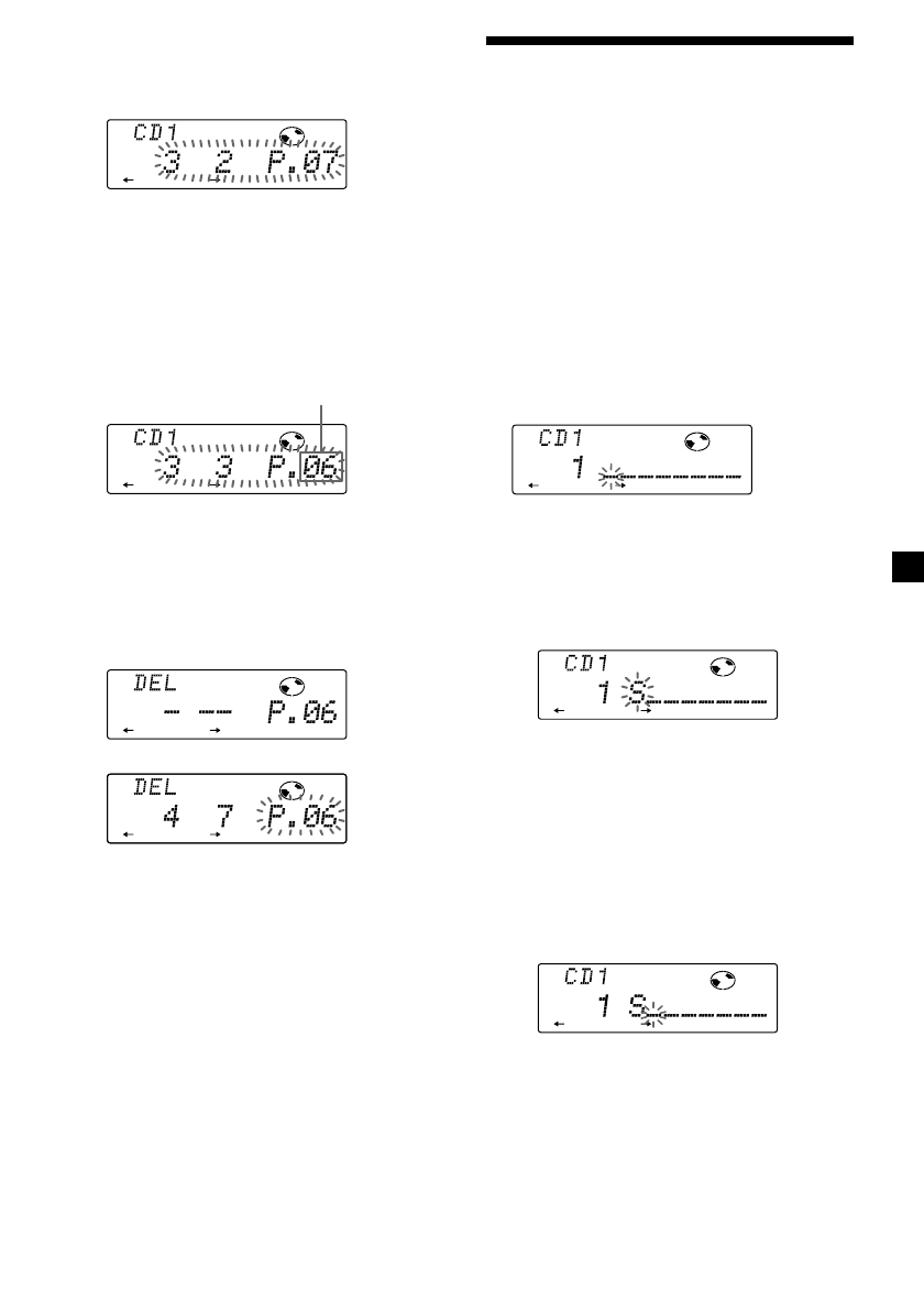
Стирание дорожек из программы
1
Нажмите на две секунды
(SHIFT)
,
затем
(4)
(PLAY MODE).
Если Вы присвоили название диску, на
дисплее появляется режим
редактирования банка. Нажмите
(4)
(PLAY MODE), чтпбы вывести на
дисплей “Р”, как показано выше.
2
Для выбора дорожки, которую Вы
хотите стереть, нажмите
(2)
(
N
) или
(5)
(
n
).
Дорожка, зарегистрированная в настоящий
момент на участке 6.
3
Нажмите на две секунды
(6)
(ENTER).
При стирании дорожки с позиции
участка последующие дорожки
перемещаются на один номер вверх для
заполнения пробела.
4
Чтобы продолжить стирание
дорожек,
повторите
операции
2
и
3.
5
После того как Вы закончили
стирание дорожек, нажмите на две
секунды
(4)
(PLAY MODE).
6
Нажмите
(SHIFT)
.
Присвоение названия
CD
— Программная память дисков
(Для проигрывателя CD с функцией
авторского наименования файлов)
Вы можете присвоить каждому диску
собственное название. Для каждого диска
можно ввести до восьми знаков. Если Вы
присвоите CD название, Вы можете найти
его по этому названию и выбрать
отдельные дорожки для воспроизведения
(стр. 29).
1
Во время воспроизведения CD
нажмите на две секунды
(PTY/LIST)
.
2
Вывод знаков на дисплей.
1
Вращая регулятор по часовой
стрелке, выберите нужные знаки.
(A
n
B
n
C
n
···
Z
n
0
n
1
n
2
n
···
9
n
+
n
–
n
*
n
/
n
\
n
>
n
<
n
.
n
_
)
При вращении регулятора против
часовой стрелки знаки появляются
на дисплее в обратном порядке.
Если Вы хотите сделать пробел
между знаками, нажмите “_” (нижнее
тире).
2
После того, как Вы нашли нужный
знак, нажмите
(5)
(
n
).
Мигающий курсор перемещается к
следующей позиции.
Если Вы нажмете
(2)
(
N
), мигающий
курсор переместится влево.
3
Повторите операции
1
и
2
для
ввода всего названия.
продолжение на следующей странице
n
D I S C
D I S C
D I S C
Содержание
- 37 Содержание
- 38 Расположение органов управления
- 39 Если переключатель POWER SELECT установлен в положение
- 40 Установка передней панели; Наложите отверстие; Нажмите
- 41 Установка часов; Часы имеют 24-часовую индикацию; Предупреждающий сигнал; продолжение на следующей странице
- 42 Прослушивание кассет
- 43 Поиск нужной дорожки; Изменение параметров дисплея; Быстрая перемотка ленты; Во время воспроизведения нажмите; Нажатием
- 44 Радиоприемник; — Функция памяти оптимальной; При каждом нажатии Вами
- 45 Монофонический режим
- 46 Последовательно нажимайте; Обзор функции RDS
- 48 Прием аварийных сообщений; до
- 49 Предустановка времени и станции
- 50 Загорается; Для отмены функции TIR; или переместите
- 52 Прочие функции; Чтобы отменить функцию СT
- 53 • Найти начало записи на пленке.; Прочие операции
- 54 Приглушение звука; Изменение рабочего направления
- 56 Нажмите несколько раз; Каждый раз при нажатии
- 57 В случае нажатия Вами
- 58 Нахождение нужной дорожки; • Shuf 2 – для воспроизведения всех
- 59 Создание программы
- 60 Стирание всей программы; Программа полностью стерта.; Добавление дорожек к программе
- 61 Стирание дорожек из программы; Если Вы нажмете
- 62 При каждом нажатии
- 64 с параметром “Play”; Меры предосторожности; Во избежание ухудшения качества звука
- 65 Примечания о кассетах; Уход за кассетами; Технический уход; Замена плавкого предохранителя; Предупреждение
- 66 Демонтаж аппарата; Передняя крышка снята.; Выньте аппрат из монтажной скобы.; Очистка контактов
- 67 Технические характеристики; Общие параметры; Магнитофонная секция
- 68 Устранение неполадок; Общие проблемы
- 69 Нажимайте последовательно












