Магнитолы Sony XR-C8220R - инструкция пользователя по применению, эксплуатации и установке на русском языке. Мы надеемся, она поможет вам решить возникшие у вас вопросы при эксплуатации техники.
Если остались вопросы, задайте их в комментариях после инструкции.
"Загружаем инструкцию", означает, что нужно подождать пока файл загрузится и можно будет его читать онлайн. Некоторые инструкции очень большие и время их появления зависит от вашей скорости интернета.

27
Benennen einer CD
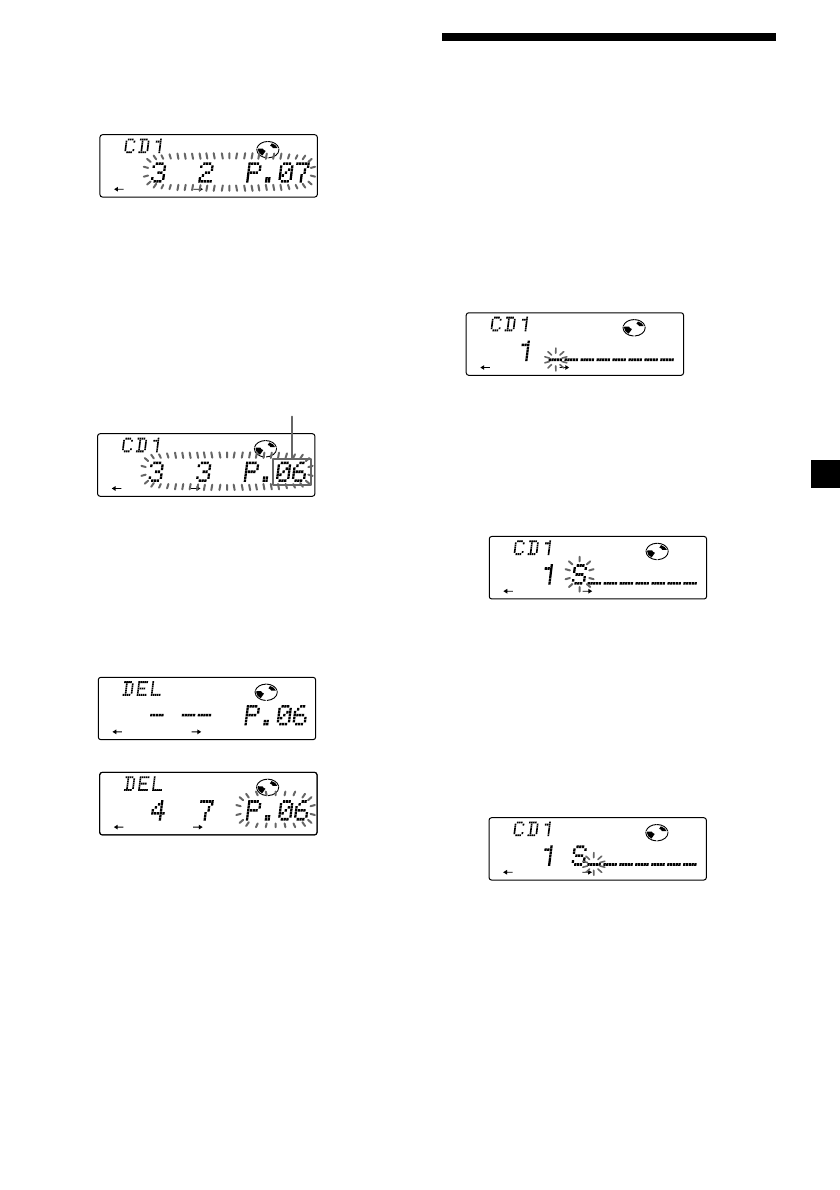
— Disc Memo
(bei CD-Gerät mit Custom-File-Funktion)
Sie können jeder CD einen eigenen Namen
geben. Pro CD können Sie bis zu acht Zeichen
eingeben. Wenn Sie eine CD benannt haben,
können Sie sie nach dem Namen suchen und
bestimmte Titel für die Wiedergabe auswählen
(Seite 29).
1
Drücken Sie während der CD-
Wiedergabe zwei Sekunden lang
(PTY/LIST)
.
2
Geben Sie die Zeichen ein.
1
Drehen Sie die Einstellscheibe im
Uhrzeigersinn, um die gewünschten
Zeichen auszuwählen.
(A
n
B
n
C
n
··· Z
n
0
n
1
n
2
n
··· 9
n
+
n
–
n
*
n
/
n
\
n
>
n
<
n
.
n
_ )
Wenn Sie die Einstellscheibe gegen den
Uhrzeigersinn drehen, erscheinen die
Zeichen in umgekehrter Reihenfolge.
Wenn Sie nach einem Zeichen ein
Leerzeichen setzen wollen, wählen Sie
„_“ (Unterstrich).
2
Drücken Sie
(5)
(
n
), wenn Sie das
gewünschte Zeichen gefunden haben.
Der blinkende Cursor wechselt zur
nächsten Eingabeposition.
Wenn Sie
(2)
(
N
) drücken, bewegt sich
der blinkende Cursor nach links.
3
Geben Sie wie in Schritt
1
und
2
erläutert den ganzen Namen ein.
3
Wenn Sie zum normalen CD-
Wiedergabemodus zurückschalten
möchten, drücken Sie
(PTY/LIST)
zwei
Sekunden lang.
Fortsetzung siehe nächste Seite
n
Löschen von Titeln in einem
Programm
1
Drücken Sie
(SHIFT)
und dann zwei
Sekunden lang
(4)
(PLAY MODE).
Wenn Sie einer CD/MD einen Namen
gegeben haben, erscheint zunächst die
Anzeige für die Bank-Funktion. Drücken
Sie dann
(4)
(PLAY MODE), so daß „P“ im
Display erscheint.
2
Drücken Sie
(2)
(
N
) oder
(5)
(
n
), um
den Titel auszuwählen, den Sie löschen
wollen.
Der an Position 6 registrierte Titel.
3
Drücken Sie zwei Sekunden lang
(6)
(ENTER).
Wenn Sie einen Titel löschen, verschieben
sich die anderen Titel hinter der
betreffenden Positionsnummer um eine
Stelle nach oben, um die Lücke zu füllen.
4
Wollen Sie weitere Titel löschen, gehen
Sie wie in Schritt 2 und 3 erläutert vor.
5
Wenn Sie alle gewünschten Titel
gelöscht haben, drücken Sie zwei
Sekunden lang
(4)
(PLAY MODE).
6
Drücken Sie
(SHIFT)
.
Titelpositionsnummer
D I S C
D I S C
D I S C
µ
RLAY MODE
ENTER
D I S C
T R AC K
RLAY MODE
ENTER
D I S C
T R AC K
RLAY MODE
ENTER
D I S C
T R AC K
S E T U P RLAY MODE
ENTER
D I S C
T R AC K
Содержание
- 37 Содержание
- 38 Расположение органов управления
- 39 Если переключатель POWER SELECT установлен в положение
- 40 Установка передней панели; Наложите отверстие; Нажмите
- 41 Установка часов; Часы имеют 24-часовую индикацию; Предупреждающий сигнал; продолжение на следующей странице
- 42 Прослушивание кассет
- 43 Поиск нужной дорожки; Изменение параметров дисплея; Быстрая перемотка ленты; Во время воспроизведения нажмите; Нажатием
- 44 Радиоприемник; — Функция памяти оптимальной; При каждом нажатии Вами
- 45 Монофонический режим
- 46 Последовательно нажимайте; Обзор функции RDS
- 48 Прием аварийных сообщений; до
- 49 Предустановка времени и станции
- 50 Загорается; Для отмены функции TIR; или переместите
- 52 Прочие функции; Чтобы отменить функцию СT
- 53 • Найти начало записи на пленке.; Прочие операции
- 54 Приглушение звука; Изменение рабочего направления
- 56 Нажмите несколько раз; Каждый раз при нажатии
- 57 В случае нажатия Вами
- 58 Нахождение нужной дорожки; • Shuf 2 – для воспроизведения всех
- 59 Создание программы
- 60 Стирание всей программы; Программа полностью стерта.; Добавление дорожек к программе
- 61 Стирание дорожек из программы; Если Вы нажмете
- 62 При каждом нажатии
- 64 с параметром “Play”; Меры предосторожности; Во избежание ухудшения качества звука
- 65 Примечания о кассетах; Уход за кассетами; Технический уход; Замена плавкого предохранителя; Предупреждение
- 66 Демонтаж аппарата; Передняя крышка снята.; Выньте аппрат из монтажной скобы.; Очистка контактов
- 67 Технические характеристики; Общие параметры; Магнитофонная секция
- 68 Устранение неполадок; Общие проблемы
- 69 Нажимайте последовательно












