Магнитолы Pioneer DEH-2220UB - инструкция пользователя по применению, эксплуатации и установке на русском языке. Мы надеемся, она поможет вам решить возникшие у вас вопросы при эксплуатации техники.
Если остались вопросы, задайте их в комментариях после инструкции.
"Загружаем инструкцию", означает, что нужно подождать пока файл загрузится и можно будет его читать онлайн. Некоторые инструкции очень большие и время их появления зависит от вашей скорости интернета.

Périphérique de stockage USB partitionné : Seule la
première partition peut être lue.
Il peut se produire un léger retard au début de la lec-
ture de fichiers audio sur un périphérique de stoc-
kage USB avec de nombreuses hiérarchies de
dossiers.
PRÉCAUTION
Pioneer n
’
accepte aucune responsabilité en cas
de perte de données sur le périphérique de stoc-
kage USB, même si la perte de données se pro-
duit pendant l
’
utilisation de cet appareil.
Séquence des fichiers audio
Sur cet appareil, l
’
utilisateur ne peut pas affec-
ter de numéros de dossier ni spécifier les sé-
quences de lecture.
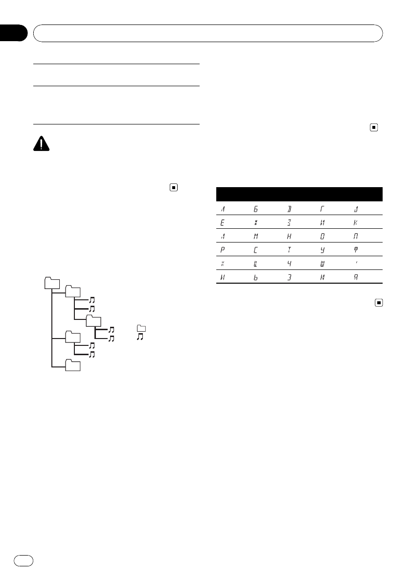
Exemple de hiérarchie
1
2
3
4
5
6
01
02
03
04
05
Niveau 1 Niveau 2 Niveau 3 Niveau 4
: Dossier
: Fichier audio
compressé
01 à 05 : Numéro de
dossier
1
à
6
: Séquence
de lecture
Disque
La séquence de sélection des dossiers ou
d
’
autres opérations peut différer en fonction
du logiciel de codage ou d
’
écriture.
Périphérique de stockage USB
La séquence de lecture est identique à la sé-
quence enregistrée dans le périphérique de
stockage USB.
Pour spécifier la séquence de lecture, la mé-
thode suivante est recommandée.
1
Créez le nom du fichier en incluant des nom-
bres qui spécifient la séquence de lecture (par
exemple, 001xxx.mp3 et 099yyy.mp3).
2
Placez ces fichiers dans un dossier.
3
Enregistrez le dossier contenant les fichiers
sur le périphérique de stockage USB.
Toutefois, avec certains environnements sys-
tème, vous ne pouvez pas spécifier la sé-
quence de lecture.
Pour les lecteurs audio portables USB, la sé-
quence est différente et dépend du lecteur.
Tableau des caractères
cyrilliques
D : C
D : C
D : C
D : C
D : C
:
А
:
Б
:
В
:
Г
:
Д
:
Е
,
Ё
:
Ж
:
З
:
И
,
Й
:
К
:
Л
:
М
:
Н
:
О
:
П
:
Р
:
С
:
Т
:
У
:
Ф
:
Х
:
Ц
:
Ч
:
Ш
,
Щ
:
Ъ
:
Ы
:
Ь
:
Э
:
Ю
:
Я
D
: Affichage
C
: Caractère
Droits d
’
auteur et marques
commerciales
iTunes
Apple et iTunes sont des marques commercia-
les de Apple Inc. déposées aux États-Unis et
dans d
’
autres pays.
Informations complémentaires
Fr
30
Annexe
Содержание
- 98 Благодарим Вас; за покупку этого из; Держите; Сведения об этом устройстве; ВНИМАНИЕ; Pioneer CarStereo-Pass; Перед началом эксплуатации
- 99 Приглушение звука
- 100 Основное устройство; Индикация на дисплее; Управление данным устройством
- 101 Основные операции; Важно
- 102 Примечание; ной настройки
- 103 На дисплее на восемь секунд появится ин; PTY; Выбор альтернативных частот; PI; Прием дорожных сводок
- 104 Настройка функций; FUNCTION; Примечания
- 106 VBR; дорожек из списка
- 107 AUDIO
- 108 Начальные настройки; SRC
- 109 AUX
- 110 Сообщения об ошибках; Прежде чем обратиться к торговому пред; Встроенный проигрыватель компакт; Дополнительная информация
- 113 Диск
- 114 Pioneer
- 115 Технические характеристики; Общие; Аудио