Магнитолы Panasonic CQ-DF302W - инструкция пользователя по применению, эксплуатации и установке на русском языке. Мы надеемся, она поможет вам решить возникшие у вас вопросы при эксплуатации техники.
Если остались вопросы, задайте их в комментариях после инструкции.
"Загружаем инструкцию", означает, что нужно подождать пока файл загрузится и можно будет его читать онлайн. Некоторые инструкции очень большие и время их появления зависит от вашей скорости интернета.

19
CQ-DF302W
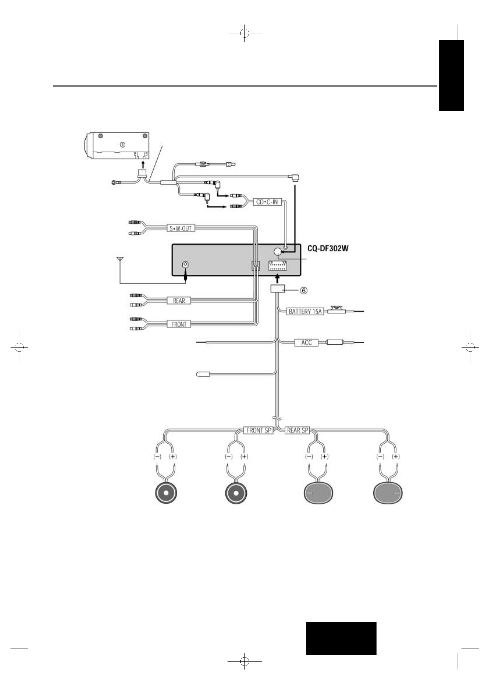
Удлинительный кабель стандарта DIN
(DIN / BATT / RCA / GND)
Черный
Черный
Темно-синий
Белый с
черной
полосой
Серый с
черной
полосой
Зеленый
с черной
полосой
Фиолетовый
с черной
полосой
Фиолетовый
Зеленый
Серый
Белый
Левый динамик
(фронтальный)
Правый динамик
(фронтальный)
Левый динамик
(тыловой)
Правый динамик
(тыловой)
Провода динамиков
Желтый
Желтый Предохранитель (15 А)
Сопротивление (1 кОм)
Красный
Красный
Белый
Красный (П)
Белый (Л)
Красный (П)
Белый (Л)
Антенна
Соединитель выхода предусили-
теля (для тыловых динамиков)
Соединитель выхода предусилите-
ля (для фронтальных динамиков)
Белый (Л)
Красный (П)
Предохранитель (3 А)
Кабель в стандарте DIN
Кабель RCA
Кабель сабвуфера
Соединитель для управления
CD-чейнджером
Разъем питания
Вывод на батарею
К аккумуляторной
батарее +12 В DC
Провод питания
К питанию ACC, +12 В DC.
Провод заземления
К чистому, неизолированному
металлическому элементу
шасси автомобиля.
Провод управления реле электроприводной
антенны
(К моторизованной антенне). (Макс. 500 мА).
Этот вывод не предназначен для использования с активной
антенной, приводимой в действие отдельным переключателем.
Вывод на управляющее реле усилителя мощности
Этот вывод предназначен для подключения к усилителю мощности.
Вывод на батарею
CD-чейнджер CX-DP88
Вывод заземления
Убедитесь, что подключили его к хорошо
заземленному металлическому элементу
Вашего автомобиля, так как в противном
случае могут возникнуть шумы и неис-
правности.
❒
Схема соединения проводов
DF302W.qxd 22.04.02 12:36 ÛÚ
Page 19