Магнитолы Alpine CDA-9885R - инструкция пользователя по применению, эксплуатации и установке на русском языке. Мы надеемся, она поможет вам решить возникшие у вас вопросы при эксплуатации техники.
Если остались вопросы, задайте их в комментариях после инструкции.
"Загружаем инструкцию", означает, что нужно подождать пока файл загрузится и можно будет его читать онлайн. Некоторые инструкции очень большие и время их появления зависит от вашей скорости интернета.

Âû ìîæåòå èçìåíèòü îòîáðàæàåìîå íà äèñïëåå íàçâàíèå ïîäêëþ÷åííîãî óñòðîéñòâà,
âûáðàâ îïöèþ AUX IN ON. Äëÿ ýòîãî íàæìèòå êíîïêó
3
/////
8
/ENT
/ENT
/ENT
/ENT
/ENT
, âûáåðèòå ñ ïîìîùüþ
ðó÷êè óïðàâëåíèÿ
óñòàíîâêó “AUX NAME” è íàæìèòå êíîïêó
3
/////
8
/ENT
/ENT
/ENT
/ENT
/ENT
. Ïîñëå ýòîãî ñ
ïîìîùüþ
ðó÷êè óïðàâëåíèÿ
âûáåðèòå íàçâàíèå äàííîãî óñòðîéñòâà.  ñëó÷àå
ïîäñîåäèíåíèÿ óíèâåðñàëüíîãî òåðìèíàëà ñâÿçè ÊÑÀ-410Ñ âû ìîæåòå âûáðàòü
íàçâàíèÿ äëÿ äâóõ äîïîëíèòåëüíûõ óñòðîéñòâ.
•
Ñ ïîìîùüþ ÊÑÀ-410Ñ äîïóñêàåòñÿ âîçìîæíîñòü ïîäêëþ÷åíèÿ ê RCA âûõîäó 2-õ âíåøíèõ
óñòðîéñòâ. Äëÿ ýòîãî ñ ïîìîùüþ êíîïêè
SOURCE/
âûáåðèòå ðåæèì AUX, à çàòåì ñ
ïîìîùüþ êíîïêè
BAND/ÒÀ
âûáåðèòå òðåáóåìîå óñòðîéñòâî.
Óñòàíîâêà äëÿ âíåøíåãî öèôðîâîãî âõîäà (Digital AUX)
Digital AUX ON / Digital AUX OFF (Çàâîäñêàÿ íàñòðîéêà)
 ñëó÷àå ïîäñîåäèíåíèÿ ê âàøåìó àïïàðàòó ïîääåðæèâàþùåãî Ai-NET öèôðîâîãî
çâóêîâîãî ïðîöåññîðà (PXA-H701) è íå ïîääåðæèâàþùåãî Ai-NET DVD-ïðîèãðûâàòåëÿ
(DVE-5207) âû ìîæåòå íàñëàæäàòüñÿ 5.1-êàíàëüíûì îáúåìíûì çâóêîì, âûáðàâ äëÿ
óñòàíîâêè D-AUX îïöèþ ON.
•
Èñïîëüçóÿ êíîïêó
SOURCE/
, âûáåðèòå ðåæèì D. AUX è îòðåãóëèðóéòå óðîâåíü ãðîìêîñòè
è ò.ï.
•
Ïî çàâåðøåíèè äàííîé óñòàíîâêè âûêëþ÷èòå çàæèãàíèå àâòîìîáèëÿ è âíîâü âêëþ÷èòå
åãî. Ïðîöåäóðà óñòàíîâêè îïòè÷åñêîãî öèôðîâîãî âõîäà çàâåðøåíà.
•
 çàâèñèìîñòè îò òèïà ïîäñîåäèíåííîãî çâóêîâîãî ïðîöåññîðà, íà âûõîä ìîæåò
ïðîäîëæàòü ïîäàâàòüñÿ çâóêîâîé ñèãíàë DVD-ïðîèãðûâàòåëÿ äàæå ïðè ñìåíå èñòî÷íèêà
ñèãíàëà.  ýòîì ñëó÷àå íåîáõîäèìî âûêëþ÷èòü ïèòàíèå DVD-ïðîèãðûâàòåëÿ.
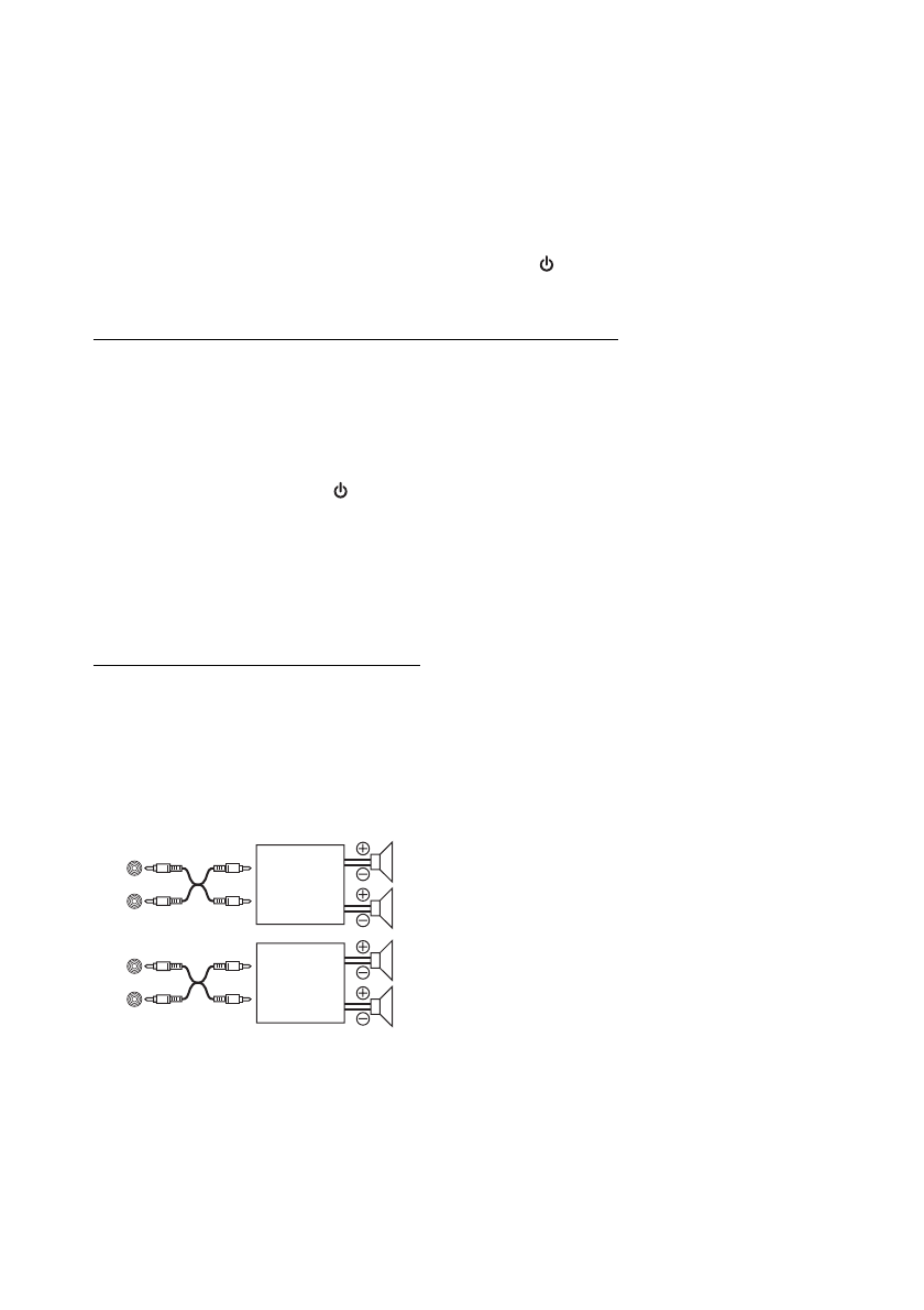
Ïîäêëþ÷åíèå âíåøíåãî óñèëèòåëÿ
Power IC ON (Çàâîäñêàÿ íàñòðîéêà) / Power IC OFF
Ïðè ïîäêëþ÷åíèè âíåøíåãî óñèëèòåëÿ ìîùíîñòè âû ìîæåòå óëó÷øèòü êà÷åñòâî çâóêà,
îòêëþ÷èâ ïèòàíèå âñòðîåííîãî óñèëèòåëÿ ìîùíîñòè.
Power-IC OFF: Äàííàÿ óñòàíîâêà âûáèðàåòñÿ â òîì ñëó÷àå, åñëè ëèíåéíûé âûõîä
äàííîãî àïïàðàòà ïîäñîåäèíÿåòñÿ ê âíåøíåìó óñèëèòåëþ.  ýòîì ñëó÷àå ñèãíàë îò
âñòðîåííîãî â ãîëîâíîé àïïàðàò óñèëèòåëÿ íà äèíàìèêè íå ïîñòóïàåò.
Óñèëèòåëü
Óñèëèòåëü
Ôðîíòàëüíûé ëåâûé
Ôðîíòàëüíûé ïðàâûé
Òûëîâîé ëåâûé
Òûëîâîé ïðàâûé
39