Страница 2 - Содержание
2 Содержание 1. Меры предосторожности ................................................................................................................... 3 2. Назначение .....................................................................................................................................
Страница 3 - Меры предосторожности; При установке
3 1. Меры предосторожности Чтобы избежать получения травм и нанесения ущерба другим людям и имуществу, вниматель- но прочтите и соблюдайте следующие инструк- ции. Данное оборудование не предназначено для использования маленькими детьми и людьми с ограниченной подвижностью, находящимися без надлежаще...
Страница 5 - Правила электробезопасности
5 • не препятствуйте прямому воздушному по- току. Кондиционер может выключиться рань- ше, чем охладит все помещение; • регулярно очищайте фильтры. Загрязнен- ные фильтры ведут к снижению эффектив- ности работы оборудования. Правила электробезопасности • Все подключения должны проводиться ква- лифици...
Страница 6 - Прочтите внимательно перед началом работы; Никогда не делайте этого!
6 Прочтите внимательно перед началом работы Никогда не делайте этого! Всегда делайте так! Удостоверьтесь в правиль- ности электрического напря- жения в сети. Слишком вы- сокое напряжение может привести к выходу из строя электронной платы, слишком низкое — к поломке компрес- сора и вентиляторов. Нико...
Страница 9 - Назначение; Принцип работы кондиционера в режиме охлаждения; Функция защиты от обмерзания
9 2. Назначение Сплит-система состоит из внутреннего и наружного блоков, предназначена для изменения, регу- лирования и поддержания заданной температуры воздуха в помещении. Принцип действия осно- ван на переносе тепла из помещения на улицу (и наоборот). Перенос тепла достигается за счет изменения а...
Страница 10 - Авторестарт
10 Принцип работы системы оттаивания кондиционера в режиме обогрева При работе кондиционера в режиме обогрева при отрицательных температурах наружного воз- духа кондиционер может автоматически останавливаться для оттаивания теплообменника наруж- ного блока. При этом останавливаются вентиляторы наруж...
Страница 11 - Комплектность сплит-системы
11 3. Комплектность сплит-системы Сплит-система поставляется в комплекте с аксессуарами указанными ниже. Для установки конди- ционера воздуха используйте аксессуары, входящие в комплект поставки. Неправильный монтаж может привести к конденсата, поражению электрическим током и возгоранию, а также к в...
Страница 12 - Технические характеристики
12 4. Технические характеристики Внутренний блок LS-HE09KLA2B LS-HE12KLA2B LS-HE18KLA2B LS-HE24KLA2B Наружный блок LU-HE09KLA2B LU-HE12KLA2B LU-HE18KLA2B LU-HE24KLA2B Производитель- ность Охлаждение Втu 9500 (3500–12025) 12000 (4700–15400) 18000 (6500–20900) 24000 (9100–27600) Обогрев Втu 10500 (300...
Страница 14 - Расположение элементов
14 5. Расположение элементов Внутренний блок 1 2 3 4 Вход воздуха Выход воздуха Наружный блок Вход воздуха Выход воздуха 7 6 5 1. Кабель питания 2. Передняя панель 3. Фильтр 4. Жалюзи5. Монтажный скотч6. Соединительные трубы, провода 7. Слив конденсата Внешний вид представленного на иллюстрациях обо...
Страница 15 - Дистанционный инфракрасный пульт; Пульт управления Intellect
15 6. Дистанционный инфракрасный пульт Внимание: не оставляйте пульт управления под прямыми солнечными лучами, не нагревай - те, не мойте пульт жидкими моющими средствами, не бросайте пульт управления. MODE FAN TEMP SLEEP FRESH LED FOLLOW ME TURBO SELF CLEAN ON/OFF TIMER ON TIMER OFF SILENCE FP Повы...
Страница 16 - Кнопки управления; AUTO; FAN; FP; TIMER ON
16 Кнопки управления ON/OFF Нажмите для включения кондиционера; повторное нажатие выключит кондиционер. MODE Кнопка выбора режимов работы. AUTO COOL DRY HEAT FAN FAN Используйте эту кнопку для выбора комфортной скорости работы вентилятора. Всего в кондици- онере 4 режима работы вентилятора: • — низк...
Страница 17 - TURBO
17 TIMER OFF Таймер выключения оборудования. Первое нажатие кнопки приведет ко входу в режим выстав- ления времени. Каждое следующее нажатие будет менять значение выставленного времени на 0,5 часа. При удерживании кнопки в нажатом состоянии время будет меняться быстрее. Если не нажимать кнопки в теч...
Страница 18 - LED
18 SELF CLEAN не очистит фильтры вашего кондиционера, это придется делать самостоятельно. Данная функция является опцией. LED Нажатие приведет к отключению или включению LED-дисплея внутреннего блока. Дисплей полно- стью отключается при нажатии этой кнопки. Повторное нажатие включает дисплей внут ре...
Страница 19 - Индикация на дисплее
19 Индикация на дисплее Индикатор работы кондиционера AUTO Индикатор работы в автоматическом режиме COOL Индикатор работы в режиме охлаждения D RY Индикатор работы в режиме осушения HEAT Индикатор работы в режиме обогрева FA N Индикатор работы в режиме вентиляции Индикатор передачи данных Индикатор ...
Страница 20 - Управление режимами работы; Автоматическая работа
20 Управление режимами работы При выборе режима работы все настройки сохраняются в памяти блока. Поэтому, если вы хотите, чтобы кондиционер работал при таких же условиях, что и раньше, просто включите его кнопкой ON/OFF. Автоматическая работа MODE FAN TEMP SLEEP FRESH LED FOLLOW ME TURBO SELF CLEAN ...
Страница 21 - Осушение; Таймер
21 Осушение MODE FAN TEMP SLEEP FRESH LED FOLLOW ME TURBO SELF CLEAN ON/OFF TIMER ON TIMER OFF 3 1 2 SILENCE FP Перед началом работы убедитесь в наличии электропитания. 1. Нажмите кнопку MODE для выбора режима работы. • DRY для режима осушения. 2. Кнопкой TEMP задайте необходимую тем- пературу. 3. В...
Страница 22 - Пример настройки таймера
22 Пример настройки таймера Таймер включения (TIMER ON) Выключен Начало работы 6 часов спустя Настройка Функция TIMER ON очень удобна, если Вам нужно включить кондиционер автоматически (например, перед возвращением домой). Кондиционер автоматически включится через заданный промежуток времени. Для за...
Страница 24 - Изменение положения жалюзи; Ручной запуск кондиционера
24 Изменение положения жалюзи При включенном кондиционере используй- те кнопку SWING. На пульте дистанционного управления установить направление (горизон- тальный угол) воздушного потока. Внимание! При использовании режимов COOL или DRY не устанавливайте горизонтальные жалю - зи под слишком большим ...
Страница 25 - Замена элементов питания
25 Замена элементов питания Беспроводной пульт управления для работы требует два элемента питания типа LR03. Всегда ис- пользуйте элементы питания одинакового типа, при замене соблюдайте полярность. • После замены элементов питания не используйте старые элементы питания вместе с новыми. • Если пульт...
Страница 26 - Дисплей передней панели
26 7. Дисплей передней панели Внутренний блок оснащен дисплеем скрытого типа, позволяющим проецировать индикацию о работе кондиционера прямо через переднюю панель. В рабочем режиме отображаются настройки температуры. В режиме вентиляции (FAN) отображается текущая температура в помещении. При необход...
Страница 27 - Обслуживание и чистка кондиционера; Очистка фильтра
27 8. Обслуживание и чистка кондиционера Внимание! Перед любыми работами кондиционер необходимо выключить и обесточить. Мойка вклю - ченного кондиционера может привести к поражению электрическим током! Внимание! Если ваш кондиционер оборудован плазменным фильтром, запрещается прикасаться к кор - пус...
Страница 28 - Очистка жалюзи; Крючок
28 Дополнительный фильтр (опция) Установите дополнительные фильтры на свои места. Установите большие фильтры на место. Аккуратно вставьте фильтр в пазы, и двигайте его. Не при- меняйте излишнюю физическую силу при установке, вы можете порвать фильтр. Очистка жалюзи Снимите жалюзи с внутреннего блока...
Страница 32 - Поиск и устранение неисправностей
32 9. Поиск и устранение неисправностей Внимание! • Не пытайтесь самостоятельно ремонтировать кондиционер. • Обращайтесь в авторизованный сервисный центр или к вашему дилеру. Неисправность Причина Что делать? Кондиционер не запускается Отключено электроснабжение Ждите восстановления питания Установк...
Страница 34 - Коды ошибок
34 10. Коды ошибок RUN (Operation) TIMER Индикация на дисплее Неисправность или защита 1 раз х E0 Ошибка EEPROM внутреннего блока 2 раза х Е1 Ошибка связи между блоками 3 раза х Е2 Ошибка несущей частоты 4 раза х Е3 Нет контроля скорости вентилятора внутреннего блока 5 раз х Е4 Ошибка датч...
Страница 35 - Габаритные размеры
35 11. Габаритные размеры Внутренний блок А B C Модель Ширина (А), мм Глубина (С), мм Высота (В), мм LS-HE09KLA2B 722 187 290 LS-HE12KLA2B 802 189 297 LS-HE18KLA2B 965 215 319 LS-HE24KLA2B 1080 226 335
Страница 36 - Наружный блок
36 Наружный блок Ш Г В А В Модель Размеры наружного блока, мм Ш × В × Г Размеры установочные Расстояние A, мм Расстояние B, мм LU-HE09KLA2B 720 × 270 × 495 452 255 LU-HE12KLA2B 800 × 333 × 554 514 340 LU-HE18KLA2B 800 × 333 × 554 514 340 LU-HE24KLA2B 845 × 363 × 702 540 350
Страница 37 - Монтаж внутреннего блока
37 12. Монтаж внутреннего блока Порядок монтажа (краткое описание этапов монтажа) Закрепите монтажную пластину внутреннего блока 1 2 3 12 см 2,3 м 12 см 15 см Выберите место монтажа внутреннего блока Определите положение отверстий для трубопроводов 5 6 Подключите трубопроводы Подключите провода 4 Сд...
Страница 38 - НЕ устанавливайте блок в следующих местах:; Этап 3. Крепление монтажной пластины к стене.
38 Перед установкой внутреннего блока проверьте этикетку на коробке изделия, чтобы убедиться, что модель внутреннего блока совпадает с моделью наружного блока. Этап 1. Выбор места установки. Перед установкой внутреннего блока необходимо выбрать подходящее место. При этом оно долж- но соответствовать...
Страница 39 - Правильное расположение монтажной пластины; Этап 4. Сверление отверстия в стене для коммуникаций.
39 Правильное расположение монтажной пластины Этап 4. Сверление отверстия в стене для коммуникаций. Определите расположение отверстия в стене в зависимости от положения монтажной панели. Просверлите отверстие ∅ 65 мм или ∅ 90 мм (в зависимости от модели). Убедитесь, что отверстие сверлится под небол...
Страница 40 - Монтажная панель
40 Монтажная панель LS-HE09KLA2B 722 205 101 290 49 Отверстие для трубопроводов хладагента Ø65 Отверстие для трубопроводов хладагента Ø65 Контур внутреннего блока обозначен прерывистой линией 179 136 37 49 LS-HE12KLA2B 802 232 192 297 43 Отверстие для трубопроводов хладагента Ø65 Отверстие для трубо...
Страница 41 - Этап 5. Подготовка к монтажу трубопроводов хладагента.
41 LS-HE24KLA2B 335 219 1080 47 300 Отверстие для трубопроводов хладагента Ø 65 Отверстие для трубопроводов хладагента Ø 65 Контур внутреннего блока обозначен прерывистой линией Если соединительная труба со стороны газа имеет ∅ 16 мм или более, отверстие в стене должно быть ∅ 90 мм. Этап 5. Подготов...
Страница 42 - Шаг 1. Закрепите внутренний блок на монтажной пластине.; Шаг 2. Подготовка блока к монтажу труб хладагента.; Wedge
42 После установки трубопровод хладагента в стену, выполните следующие действия: Шаг 1. Закрепите внутренний блок на монтажной пластине. Помните, что крючки на монтажной пластине меньше отверстий на задней стороне блока. Это позволяет перемещать блок влево или вправо примерно на 30–50 мм, в зависимо...
Страница 43 - Шаг 3. Подсоедините трубопровод хладагента.
43 Шаг 3. Подсоедините трубопровод хладагента. Главной причиной утечек хладагента является некачественное соединение трубопроводов. Акку- ратно и тщательно выполняйте подготовку труб. • Замерьте нужное количество трубы. • Отрежьте трубу. Предусмотрите дополнительное расстояние со стороны наружного б...
Страница 44 - ПЕРЕД ВЫПОЛНЕНИЕМ ЛЮБЫХ ЭЛЕКТРИЧЕСКИХ РАБОТ
44 Гайка Фреонопровод Труба внутреннего блока Наружный диаметр, мм Момент усилия, Н·м ∅ 6,35 18–20 ∅ 9,53 32–39 ∅ 12,7 49–59 ∅ 15,88 57–71 Этап 6. Подключение электропроводки. ПЕРЕД ВЫПОЛНЕНИЕМ ЛЮБЫХ ЭЛЕКТРИЧЕСКИХ РАБОТ ОЗНАКОМЬТЕСЬ С НАСТОЯЩИМИ ПРАВИЛАМИ 1. Все провода должны соответствовать местны...
Страница 45 - Подключите сигнальный кабель.; Защитная крышка
45 Подключите сигнальный кабель. Сигнальный кабель обеспечивает связь между внутренним и внешним блоками. Перед подготов- кой кабеля к подключению необходимо выбрать правильный размер кабеля. • Откройте переднюю панель внутреннего блока, как показано на рисунке ниже, которые обеспе- чивают большее п...
Страница 46 - Подсоедините дренажный шланг.; Этап 9. Установка внутреннего блока
46 Этап 7. Подсоединение дренажного шланга. Подсоедините дренажный шланг. Внутренний блок имеет два отверстия для удаления конденсата. При необходимости изменить сторону выхода конденсата снимите заглушку с противоположной стороны дренажной ванночки, снимите дренажный шланг и установите его на место...
Страница 47 - Монтаж наружного блока
47 13. Монтаж наружного блока Установка блока осуществляется в соответствии с локальными нормами и правилами, которые могут несколько отличаться в разных регионах. • Устанавливайте наружный блок на дополнительных опорах для предотвращения вибрации и шумов. Опоры не поставляются в комплекте (опция). ...
Страница 48 - ЗАПРЕЩАЕТСЯ устанавливать агрегат в следующих местах:; Установка ветрозащитного экрана
48 ЗАПРЕЩАЕТСЯ устанавливать агрегат в следующих местах: • рядом с препятствиями, которые будут блокировать воздухозаборники и розетки; • вблизи улицы общего пользования, переполненных районов или там, где шум от оборудования будет мешать окружающим; • возле животных или растений, которые могут пост...
Страница 49 - При установке на крышу
49 Выясните, возможна ли установка на крышу или фасадные стены в вашем регионе. Установка в труднодоступном месте может затруднить дальнейшее обслуживание блока. Соединение между стеной и кронштейнами, а также между кронштейнами и кондиционером должно быть устойчивым, надежным и проверенным. При уст...
Страница 50 - Электрические соединения; Подключение кабеля к внутреннему блоку
50 14. Электрические соединения Напряжение питания должно быть в диапазоне 90–110% от указанной в спецификации оборудо- вания. Все подключения должны выполняться согласно государственным и местным требованиям, высо- коквалифицированным персоналом. Оборудование должно быть подключено к индивидуальной...
Страница 51 - Подключение кабеля к наружному блоку
51 Подключение кабеля к наружному блоку • Снимите крышку клеммной колодки наружного блока. • Подключите межблочный кабель согласно маркировке, нанесенной на клеммные колодки вну- треннего и наружного блока. • Для предотвращения затекания воды по кабелю в клеммную колодку сделайте небольшую петлю ряд...
Страница 52 - Заправка хладагентом; Удаление воздуха вакуумным насосом; Порядок действий
52 15. Заправка хладагентом Внимание! Перед запуском кондиционера обязательно удалите воздух из кондиционера! В против ном случае воздух, оставшийся в системе, может вызвать сбои в работе кондиционера и при - вести к серьезным неисправностям! При работе с хладагентом R410A рекоменду ется ис - пользо...
Страница 55 - Дозаправка системы; Последовательность операций
55 Дозаправка системы Наружные блоки заправлены на заводе и рассчитаны на 5 м длины трассы. ДОПОЛНИТЕЛЬНОЕ КОЛИЧЕСТВО ХЛАДАГЕНТА В ЗАВИСИМОСТИ ОТ ДЛИНЫ ТРУБЫ Хладагент Жидкостная труба ∅ 6,35 > 5 м Жидкостная труба ∅ 9,52 > 5 м R410А 15 г/м 30 г/м Произведите дозаправку системы расчетным колич...
Страница 56 - Процедура проверки
56 Процедура проверки Порядок действий 1. Плотно закройте (завинтите) заглушки на всех портах наружного блока. 2. Проверьте с помощью течеискателя или мыльной пены отсутствие утечек в точках проверки. Точки проверки обозначены на рисунке ниже. • Точка проверки 1: место соединения трубопроводов с вну...
Страница 57 - Проверка утечек электроэнергии и хладагента; Проверка электрических соединений перед тестовым запуском
57 16. Проверка утечек электроэнергии и хладагента Тестовый запуск выполняется только после выполнения следующих шагов: • проверка электробезопасности — проверьте все электрические соединения системы; • проверка утечки газа — проверьте все соединения фреонопроводов и убедитесь, что в сис теме отсутс...
Страница 58 - Тестовый запуск; ЕСЛИ ТЕМПЕРАТУРА В ПОМЕЩЕНИИ НИЖЕ 17 °C
58 17. Тестовый запуск Тестовый запуск должен выполняться 30 минут. – Подключите питание к блоку. – Нажмите кнопку ON/OFF (ВКЛ/ВЫКЛ) на пульте дистанционного управления для включения кондиционера. – Нажмите кнопку MODE (режим) для просмотра следующих режимов: 1. COOL — установите на пульте наименьшу...
Страница 59 - Регламент технического обслуживания
59 18. Регламент технического обслуживания Каждый кондиционер нуждается в периодическом техническом обслуживании. Указанное обслу- живание может выполнить специально обученный персонал согласно данному регламенту. Внимание! Отсутствие периодического квалифицированного технического обслуживания либо ...
Страница 60 - Электрические схемы; Внутренние блоки
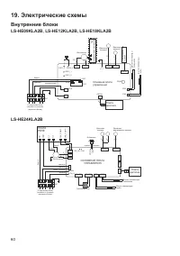
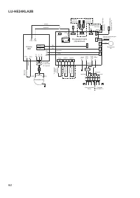
60 19. Электрические схемы Внутренние блоки LS-HE09KLA2B, LS-HE12KLA2B, LS-HE18KLA2B JX1 P_1 W 2(N) 1(L) S CN13_1 CN13_2 CN12_1 CN12_2 К наружному блоку (питание со стороны наружного блока) ж/з белый красный черный/синий желтый S CN16 CN11 AC-N L-IN L-OUT RY1 3 4 3 3(2) Вентилятор Пла та конденса то...
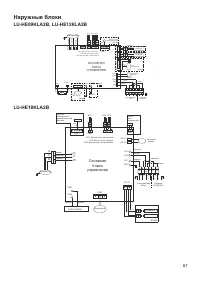
Страница 61 - Наружные блоки
61 Наружные блоки LU-HE09KLA2B, LU-HE12КLA2B CN2 CN16 CN1 CN3-1 CN9-1 CN32-1 CN7 CN27 S W 2(N) L N 1(L) CN3 ОСНОВНАЯ ПЛАТА УПРАВЛЕНИЯ Компрессор черный красный синий CN28 CN29 CN30 ОПЦИЯ Электронный расширительный вентиль 5(6) RT1 RT2 RT3 RT1: Датчик темп. нагнетания RT2: Датчик темп. воздуха RT3: Д...
Страница 63 - Класс энергоэффективности оборудования; EER; SEER
63 20. Класс энергоэффективности оборудования Модель EER / COP (класс энергоэффективности) LS/LU-HE09KLA2B 3,49 (A) / 3,64 (A) LS/LU-HE12KLA2B 3,23 (A) / 3,71 (A) LS/LU-HE18KLA2B 3,20 (А) / 3,60 (А) LS/LU-HE24KLA2B 3,10 (В) / 3,40 (В) EER ( E nergy E fficiency R atio) — отношение мощности охлаждения...
Страница 64 - Дата производства сплит-системы
64 21. Дата производства сплит-системы На внутреннем и наружном блоках под шильдой с наименованием и техническими параметрами блока имеется информация с серийным номером данного блока. Данные серийного номера по- зволяют определить дату производства и прочие данные. 2411321290793290165004 где xxxxxx...
Страница 65 - Место производства оборудования
65 22. Место производства оборудования Производитель — GD Midea Air-Conditioning Equipment Co., Ltd., импортер — ООО «ТРЕЙДКОН» (ИНН 7838058932), информация для связи: GD Midea Air-Conditioning Equipment Co., Ltd. Китай, Midea headquarter building, №6 Midea Avenue, Beijiao, Shunde, Foshan, Guangdong