Котел ZOTA LUX ZL 80 - инструкция пользователя по применению, эксплуатации и установке на русском языке. Мы надеемся, она поможет вам решить возникшие у вас вопросы при эксплуатации техники.
Если остались вопросы, задайте их в комментариях после инструкции.
"Загружаем инструкцию", означает, что нужно подождать пока файл загрузится и можно будет его читать онлайн. Некоторые инструкции очень большие и время их появления зависит от вашей скорости интернета.

стр.14
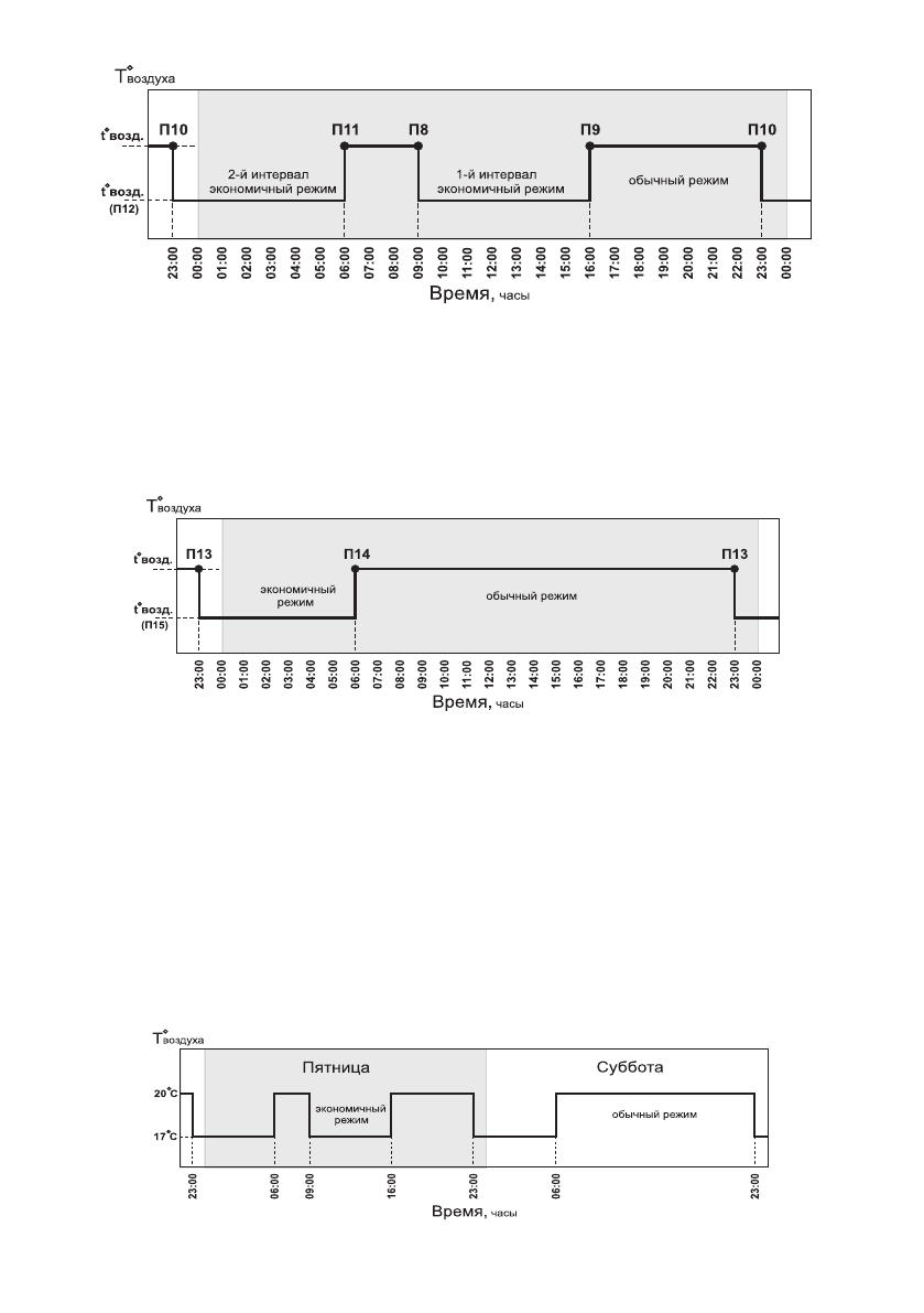
Режим 2 (выходной день)
- режим состоит из одного запрограммированного
интервала, который повторяется каждые сутки. В этом интервале температура
воздуха в помещении понижается на три градуса и электроводонагреватель
работает в экономичном режиме. На заводе-изготовителе запрограммирован
интервал, который показан на графике температуры воздуха в помещении
при работе термостата в Режиме 2 (см.Рис.7).
Рис.8 График температуры воздуха в помещении для Режима 3
Рис.7 График температуры воздуха в помещении для Режима 2
В случае необходимости можно изменить интервал в пользовательском
меню (см. Прил. 1).
* Интервал задается в пунктах П13, П14.
* Температура воздуха в помещении, которую будет поддерживать котел в
экономичном режиме задается в П15.
Режим 3 (недельный цикл).
В этом режиме первый и второй режимы
совмещены. Режим 1 работает в рабочие дни с понедельника по пятницу
включительно (день недели 1-5). Режим 2 работает в субботу и воскресенье
(день недели 6-7).
Пример графика температуры воздуха в помещении при работе термостата
в Режиме 3 и уставке температуры воздуха в помещении 20°С показан на
рисунке 8.
Рис.6 График температуры воздуха в помещении для Режима 1





