Котел ZOTA Дымок-12М - инструкция пользователя по применению, эксплуатации и установке на русском языке. Мы надеемся, она поможет вам решить возникшие у вас вопросы при эксплуатации техники.
Если остались вопросы, задайте их в комментариях после инструкции.
"Загружаем инструкцию", означает, что нужно подождать пока файл загрузится и можно будет его читать онлайн. Некоторые инструкции очень большие и время их появления зависит от вашей скорости интернета.

ñòð.5
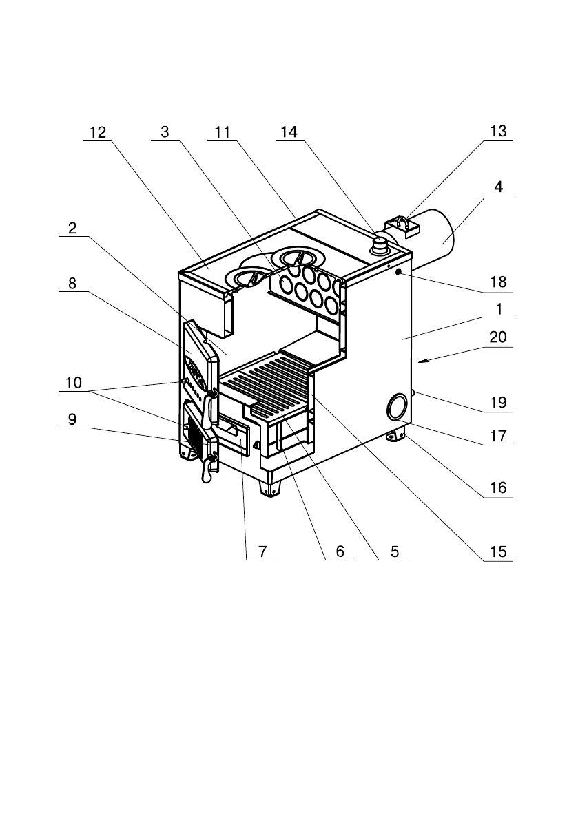
Рис.1 Конструкция отопительного аппарата АОТВ
1 - Коðпуñ аппаðаòа
2 - Òопка
3 - Ãазоход
4 - Äымоход
5 - Колоñник
6 - Опоðа
7 - Зольник
8 - Äвеðца загðузочная
9 - Äвеðца поддувальная
10 - Задвижка
11 - Рамка
12 - ×угунная плиòа
13 - Заñлонка
14 - Паòðубок подачи
15 - Водяная камеðа
16 - Ножка
17 - Заглушка оòвеðñòия под блок ÒЭН
18 - Ãнездо для уñòановки даòчика
19 - Ñливной дðенажный паòðубок
20 - Паòðубок обðаòки
Содержание
- 4 Òаблица 1
- 7 Рис.1 Конструкция отопительного аппарата АОТВ
- 9 Рис.2 Ñõема установки аппарата
- 10 Рис.3 Ñõема закрытой системы отопления
- 11 Рис.4 Ñõема открытой системы отопления
- 12 Рис.5 Варианты установки дымовой труáы
- 14 Характерные неисправности и методы иõ устранения.
- 16 Ñведения оá установке; Äля вñех видов аппаðаòов незавиñимо оò вида ñжигаемого òоплива:
- 17 ПРИЛОÆЕНИЕ 1





