Котел ZOTA Bulat 28 кВт - инструкция пользователя по применению, эксплуатации и установке на русском языке. Мы надеемся, она поможет вам решить возникшие у вас вопросы при эксплуатации техники.
Если остались вопросы, задайте их в комментариях после инструкции.
"Загружаем инструкцию", означает, что нужно подождать пока файл загрузится и можно будет его читать онлайн. Некоторые инструкции очень большие и время их появления зависит от вашей скорости интернета.

стр. 6
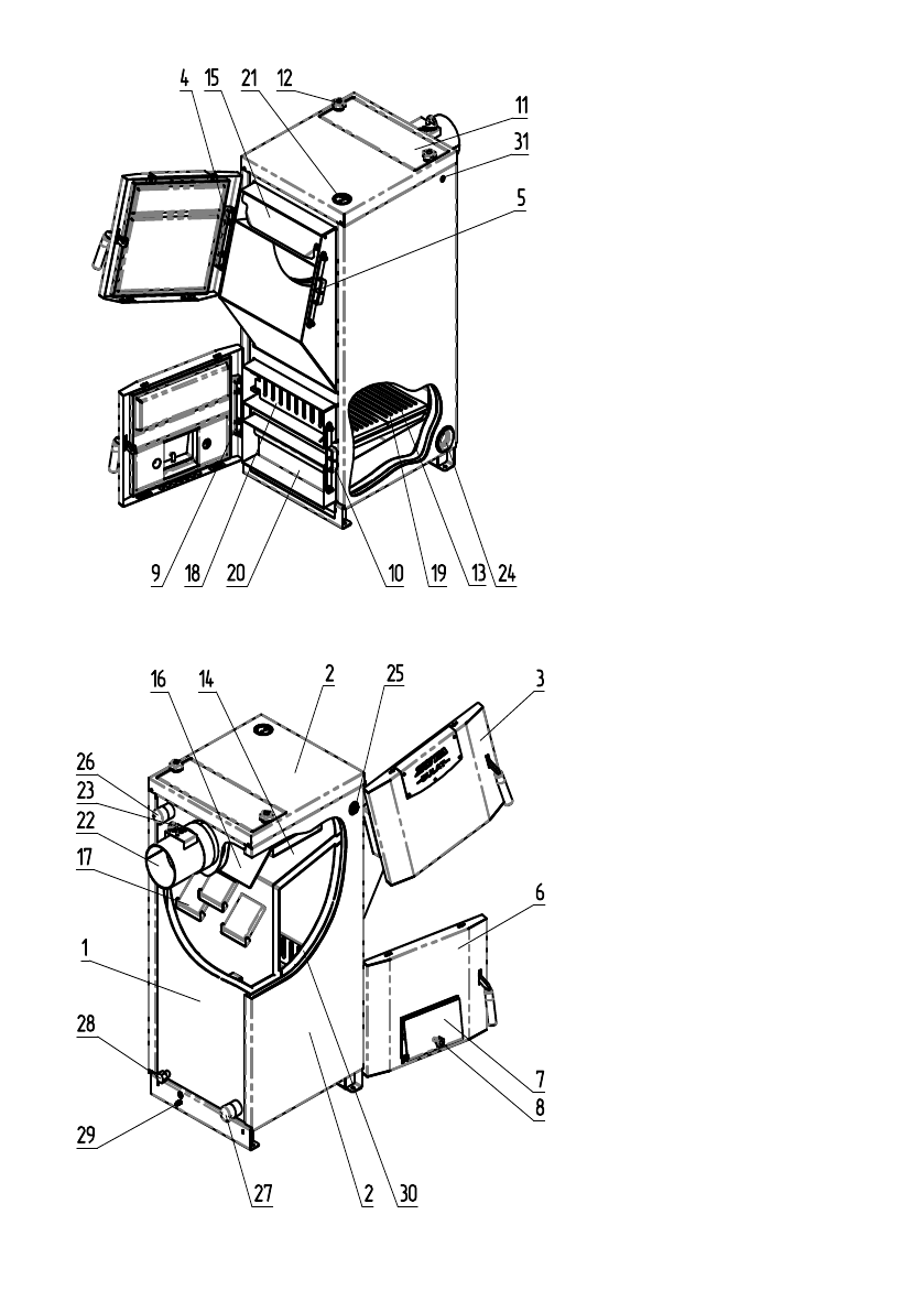
Рис.1 Конструкция отопительного котла
1 – Корпус котла
2 – Кожух
3 – Дверца загрузочная
4 – Регулируемая петля
дверцы загрузочной
4 – Регулируемый замок
дверцы загрузочной
5 – Дверца поддувальная
6 – Заслонка подачи воздуха
7 – Заслонка подачи воздуха
8 – Ручка заслонки подачи
воздуха
9 – Регулируемая петля
дверцы поддувальной
10 – Регулируемый замок
дверцы поддувальной
11 – Заглушка
вертикального канала
теплообменника
12 – Ручка заглушки
вертикального канала
теплообменника
13 – Топка
14 – Газоход
15 – Заслонка
теплообменника
16 – Заслонка 2
дымоотводная
17 – Вставка из шамота
18 – Решетка шуровочная
19 – Решетка колосниковая
20 - Зольный ящик
21 – Термоманометр
22 – Дымоход
23 – Заслонка дымохода
24 – Заглушка отверстия под
блок ТЭН
25 – Заглушка отверстия
тягорегулятора
26 – Патрубок подачи
27 – Патрубок обратки
28 – Патрубок сливной
29 – Болт заземления
30 – Водяная камера
31 – Отверстие под датчик
температуры
Характеристики
Остались вопросы?Не нашли свой ответ в руководстве или возникли другие проблемы? Задайте свой вопрос в форме ниже с подробным описанием вашей ситуации, чтобы другие люди и специалисты смогли дать на него ответ. Если вы знаете как решить проблему другого человека, пожалуйста, подскажите ему :)





