Котел Wolf CGG-3-28 28.0 кВт, природный газ E - инструкция пользователя по применению, эксплуатации и установке на русском языке. Мы надеемся, она поможет вам решить возникшие у вас вопросы при эксплуатации техники.
Если остались вопросы, задайте их в комментариях после инструкции.
"Загружаем инструкцию", означает, что нужно подождать пока файл загрузится и можно будет его читать онлайн. Некоторые инструкции очень большие и время их появления зависит от вашей скорости интернета.

14
3066239_201810
330
60/100
142
97
42.5
330
60/100
142
97
42.5
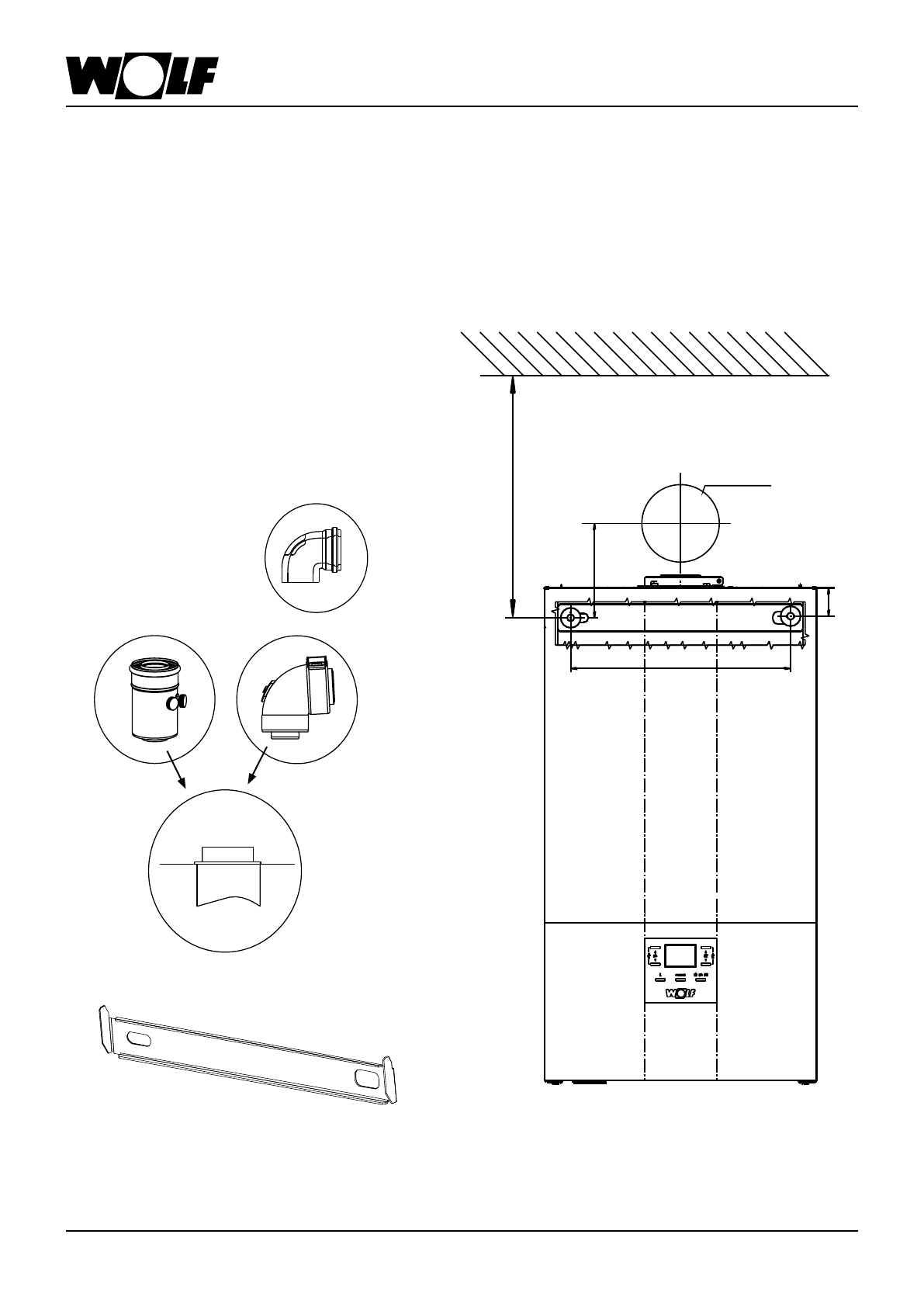
Защита устройства, кронштейн подвески/система
отвода дымовых газов
Во время монтажа устройства убедитесь, что все
крепления имеет достаточную грузоподъемность.
Также оцените состояние используемой стены, чтобы
предотвратить возможную утечку газа или воды, которая
может привести к взрыву или затоплению.
1. Проделайте отверстия
Ø12
для кронштейна подвески
с учетом необходимых минимальных зазоров.
2. Вставьте дюбели и закрепите кронштейн с помощью
двух поставляемых винтов.
3. Установите котел на кронштейн на стойку крепления.
Детали системы отвода
дымовых газов
60/100
552
мм (мин.)
Расположение/
размеры для монтажа