Котел Termomax C-10E - инструкция пользователя по применению, эксплуатации и установке на русском языке. Мы надеемся, она поможет вам решить возникшие у вас вопросы при эксплуатации техники.
Если остались вопросы, задайте их в комментариях после инструкции.
"Загружаем инструкцию", означает, что нужно подождать пока файл загрузится и можно будет его читать онлайн. Некоторые инструкции очень большие и время их появления зависит от вашей скорости интернета.

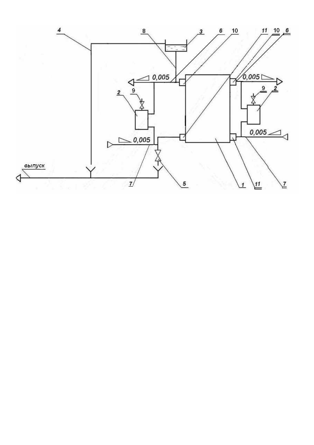
1-
котел
; 2-
отопительные приборы (радиаторы
); 3-
расширительный
бак; 4
-
переливная
труба;
5-
выпускной вентиль;
6-
подающий
трубопровод;
7-
обратный трубопровод;
8-
главный стояк;
9 -
краны для выпуска
воздуха
; 10-
обратные
патрубки
теплоносителя
;
11-
подающие
патрубки
теплоносителя
.
Рисунок
4.
Схема установки котла подключения в системе отопления на два
крыла (рекомендуемая)
7.7.
В системе водного отопления с естественной циркуляцией нижнюю точку
расширительного бака следует установить выше наивысшей точки отопительной
системы. Расширительный бак должен быть защищен от замерзания.
7.8.
Подающий и обратный трубопровод системы водного отопления прокладывают
под наклоном, что обеспечивает естественную циркуляцию и удаление воздуха.
7.9.
При невозможности соблюдения наклонов в верхних точках трубопроводов
необходимо установить краны для выпуска воздуха (краны Маевского).
Подключение
котла к системе с расширительным баком закрытого типа
необходимо обеспечить предохранительным клапаном с рабочим давлением указанным в
таблице 2 п. 9.
7.10.
При большом гидравлическом сопротивлении (большая длина ветви системы
отопления, использование старой засоренной системы), рекомендуется использовать
циркуляционный насос.
Подключение котла к системе с принудительной циркуляцией теплоносителя,
выполняется согласно проекту, разработанному специализированной организацией,
насос устанавливается на выходе из котла, также необходима установка
вентилей для
регулирования сопротивления отопительных приборов.
7.11.
Работы по установлению котла должны проводиться работниками
специализированных предприятий газового хозяйства.
7.12.
Котел должен располагаться в нежилых (неслужебных) помещениях у
наружных стен здания. Минимально допустимые расстояния от элементов фасада дома
до края патрубка отвода продуктов сгорания следует принимать по таблице
5.
13