Котел KITURAMI World Alpha-15 - инструкция пользователя по применению, эксплуатации и установке на русском языке. Мы надеемся, она поможет вам решить возникшие у вас вопросы при эксплуатации техники.
Если остались вопросы, задайте их в комментариях после инструкции.
"Загружаем инструкцию", означает, что нужно подождать пока файл загрузится и можно будет его читать онлайн. Некоторые инструкции очень большие и время их появления зависит от вашей скорости интернета.

kituramirus.com
11
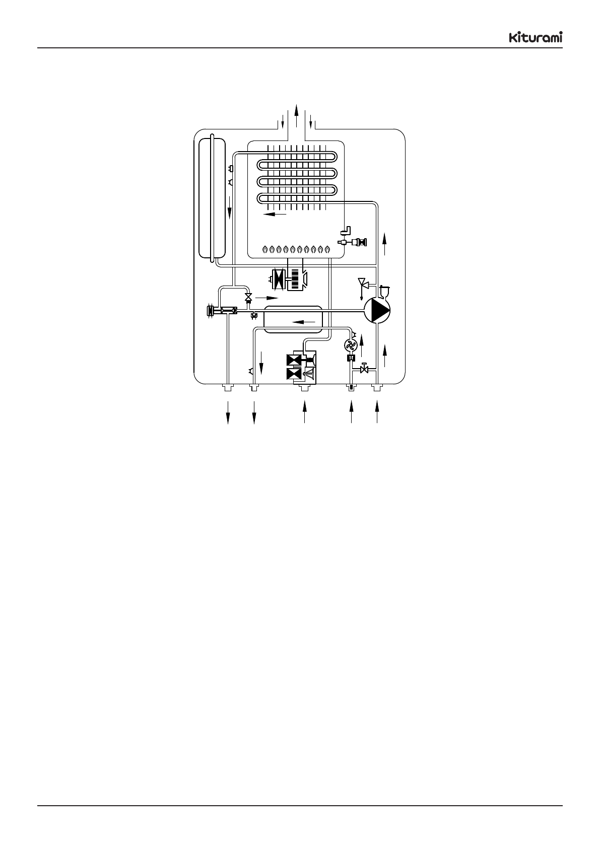
7.2. Принцип работы котла.
7.2.1. Функциональная схема котла.
8
9
7
11
16
17
18
15
19
10
14
13
12
24
6
20
25
22
23
21
26
1
2
3
4
5
Рисунок 3. Функциональная схема котла.
1. Выход теплоносителя (
«подача»
)
2. Выход ГВС (горячей воды)
3. Вход газа
4. Вход ХВС (холодной воды)
5. Вход теплоносителя (
«обратка»
)
6. Клапан газовый
7. Горелка
8. Электроды розжига
9. Датчик пламени (фотоэлемент)
10. Вентилятор
11. Выход продуктов сгорания/забор воздуха
12. Насос циркуляционный
13. Воздухоотводчик
14. Клапан предохранительный
15. Расширительный бак
16. Теплообменник первичный
17. Датчик перегрева теплообменника
18. Датчик температуры теплоносителя
19. Трехходовой клапан
20. Датчик давления теплоносителя
21. Ограничитель протока
22. Датчик протока ГВС
23. Датчик температуры ХВС вход
24. Теплообменник ГВС
25. Датчик температуры ГВС выход
26. Кран подпитки
7.2.2. Описание работы контура отопления.
Котел автоматически запустится если с датчика температуры теплоносителя (18) или с датчика темпе
-
ратуры воздуха, встроенного в пульт управления, на блок управления поступает сигнал о падении темпе
-
ратуры ниже заданной.
Далее запускается циркуляционный насос (12) и теплоноситель начинает циркулировать в контуре
отопления со следующей очередностью прохождения узлов: циркуляционный насос (12), первичный те
-
плообменник (16), трехходовой клапан (19), система отопления, циркуляционный насос.
После запускается вентилятор (10), создающий избыточное давление в камере сгорания и обеспечи
-












У меня китурами WORLD ALPHA C-15 с дисплеем подключаю комнатный термостат CTR 5900 режим работы устанавливаю по темпиратуре воздуха но котел все равно работает по темпиратуре теплоносителя. В чем проблема может подскажите
Добрый день!
Котел китурами WORLD ALPHA -15 почему после отключения горелки он постоянно шумит. Это что так работает насос или вентилятор, он же должен отключаться полностью