Котел Ferroli New Elite C24 - инструкция пользователя по применению, эксплуатации и установке на русском языке. Мы надеемся, она поможет вам решить возникшие у вас вопросы при эксплуатации техники.
Если остались вопросы, задайте их в комментариях после инструкции.
"Загружаем инструкцию", означает, что нужно подождать пока файл загрузится и можно будет его читать онлайн. Некоторые инструкции очень большие и время их появления зависит от вашей скорости интернета.

NEW ELITE C 24 E
14
2.3
Гидравлические
подключения
Расчет
требуемой
тепловой
мощности
котла
производится
предварительно
исходя
из
потребности
здания
в
тепле
,
рассчитываемой
по
действующим
нормам
.
Для
обеспечения
хорошего
функциониро
-
вания
и
продолжительного
срока
службы
котла
гидравлическая
система
должна
иметь
соответствующие
размеры
и
включать
в
себя
принадлежности
,
необходимые
для
правильной
работы
и
бесперебойного
тока
воды
.
В
случаях
,
когда
трубы
подачи
воды
в
систему
отопления
и
"
обратки
"
проложены
таким
образом
,
что
в
некоторых
местах
могут
образоваться
воздушные
пузыри
,
целесообразно
установить
в
этих
местах
автоматические
воздухоотводчики
.
Кроме
того
,
в
самой
нижней
точке
системы
следует
установить
сливной
кран
для
обеспечения
возможности
полного
слива
воды
из
нее
.
Если
котел
установлен
ниже
уровня
системы
,
рекомендуется
установить
запорный
кран
для
предотвра
-
щения
естественной
циркуляции
воды
в
системе
.
Рекомендуется
,
чтобы
разность
температур
воды
в
прямом
и
обратном
трубопроводах
не
превышала
20 0
С
.
Не
используйте
трубы
гидравлической
системы
для
заземления
электроустановок
.
Перед
монтажом
тщательно
промойте
все
трубы
системы
для
удаления
остаточных
загрязнений
или
посторонних
включений
,
которые
могут
помешать
правильной
работе
агрегата
.
Выполните
подключения
к
соответствующим
точкам
подсоединений
,
как
показано
на
рис
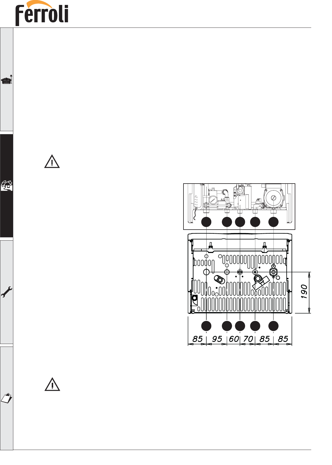
. 7.
Условные
обозначения
1
Подача
воды
в
систему
отопления
,
диам
. 3/4"
2
Выход
горячей
воды
для
ГВС
,
диам
. 1/2"
3
Подача
газа
,
диам
. 1/2"
4
Вход
холодной
воды
для
ГВС
,
диам
. 1/2"
5
Возврат
из
системы
отопления
, 3/4"
Рекомендуется
установить
между
котлом
и
системой
отопления
отсечные
клапаны
,
которые
позволили
бы
в
случае
необходимости
изолировать
котел
от
системы
.
Сливное
отверстие
предохранительного
клапана
должно
быть
соединено
с
воронкой
или
с
канализацией
во
избежание
попадания
воды
на
пол
в
случае
срабатывании
клапана
при
превышении
давления
в
отопительной
системе
.
В
противном
случае
изготовитель
котла
не
несет
никакой
ответственности
за
затопление
помещения
при
срабатывании
предохрани
-
тельного
клапана
.
Соединения
следует
выполнять
так
,
чтобы
трубы
,
находящиеся
внутри
котла
,
не
подвергались
механическим
нагрузкам
.
В
случае
установки
клапана
также
и
на
контуре
ГВС
(
если
таковой
предусмотрен
),
необходимо
установить
предохранительный
клапан
между
котлом
и
самим
контуром
.
Рис
. 7
1
2
3
4
5
1
2
3
4
5
Содержание
- 2 NEW ELITE C 24 E; Декларация
- 4 Введение
- 5 Панель
- 7 MENU
- 8 Регулирование; помощью; CO; Запуск
- 10 Закрыто
- 11 Техническое
- 12 Общие
- 13 Крепление
- 14 Гидравлические
- 16 NEW ELITE C 24; Подключение
- 17 Электрические
- 20 ЭКСПЛУАТАЦИЯ; ОБСЛУЖИВАНИЕ
- 21 Метан
- 22 Ввод
- 23 Отлючение; Сезонные
- 24 Воздух
- 25 Устранение; Диагностика
- 27 Габаритные
- 28 Общий
- 29 Гидравлическая
- 31 Диаграммы
- 32 Электрическая