Котел Federica Bugatti 24 TECH 2-х контурный 2036400 - инструкция пользователя по применению, эксплуатации и установке на русском языке. Мы надеемся, она поможет вам решить возникшие у вас вопросы при эксплуатации техники.
Если остались вопросы, задайте их в комментариях после инструкции.
"Загружаем инструкцию", означает, что нужно подождать пока файл загрузится и можно будет его читать онлайн. Некоторые инструкции очень большие и время их появления зависит от вашей скорости интернета.

18
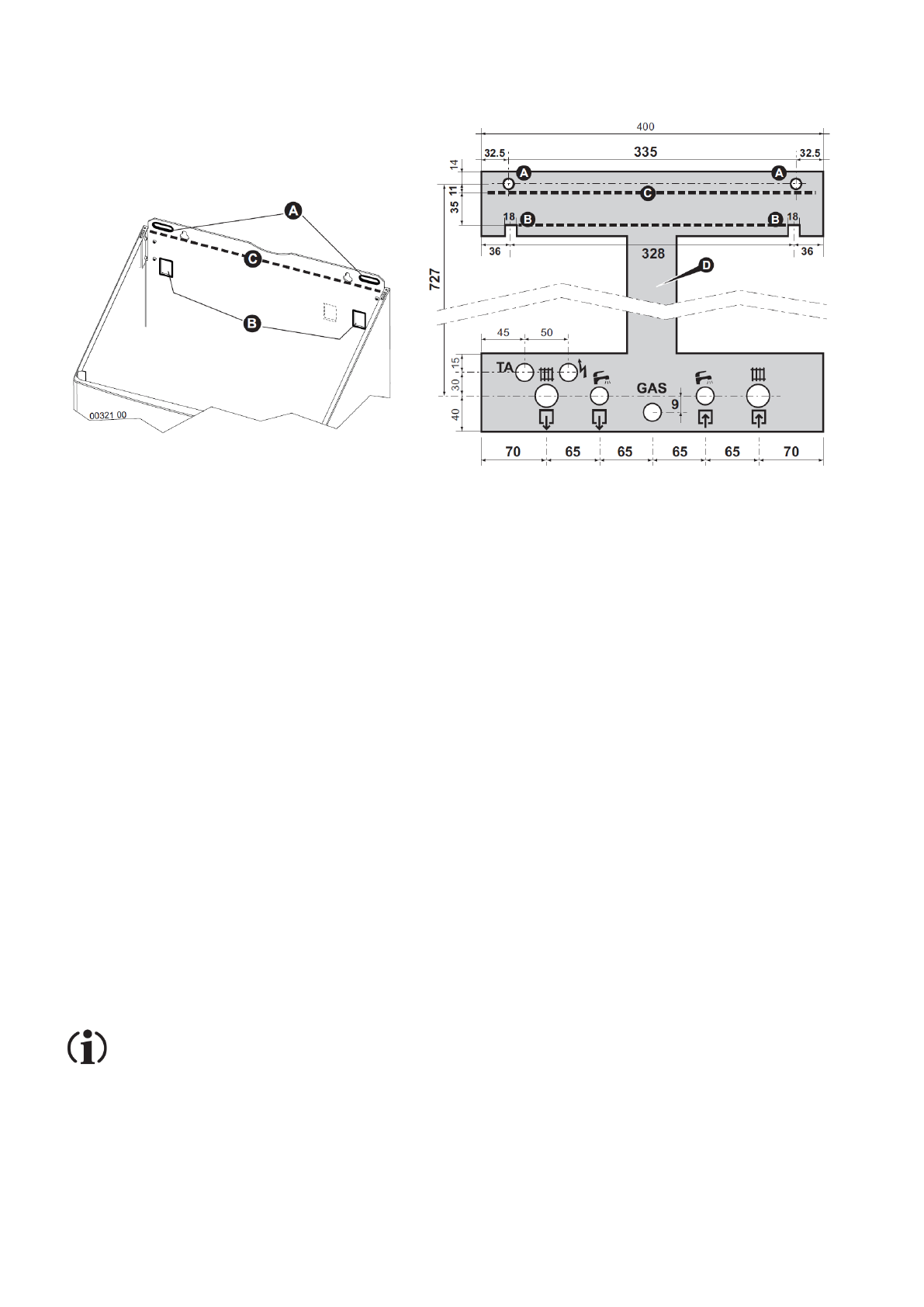
Позиционирование и навеска котла
Примечание:
Как дополнительная опция предлагается специальный бумажный шаблон одноразового использования
(D
на рисунке), облегчающий позиционирование точек крепления. Если не используется бумажный шаблон
одноразового использования и / или оригинальный Комплект подсоединения, о позиции гидравлических подключений
котла можно прочитать в параграфе «Габаритные и присоединительные размеры».
Для навески котла выберите его месторасположение таким образом, чтобы от боковых и нижних поверхностей
котла было достаточно места для проведения сервисных работ: не менее 50 мм от боковых поверхностей и не
менее 300 мм от нижней части котла.
Точки фиксирования/навески котла необходимо выбрать из вариантов А или В, в зависимости от используемых
фиксирующих элементов или возможно уже существующих (открытые крюки, винтовые дюбеля и т.д).
Если используете бумажный шаблон, приложите его к стене, используя те же фиксирующие элементы и
отверстия А или В, предназначенные для котла.
Разместить трубы системы отопления, холодной, горячей воды и газа, электрические соединения так, чтобы
они проходили через отверстия металлического шаблона или с соблюдением размеров, указанных на рисунке
или в параграфе «Габаритные и присоединительные размеры». Верхняя кромка котла, используемая как
отправная точка для размеров согласно параграфа «Виды систем дымоудаления и воздухозабора»,
соответствует штриховой линии С на рисунке.
Удалите металлический шаблон (если он есть) и повесьте котел на фиксирующие элементы, используя
выбранные отверстия А или В.
Удалите пластиковые заглушки гидравлических фитингов котла.
Затем осуществите гидравлические подключения, подключения газа, электропитания и электрических
компонентов, подключения системы дымоудаления и воздухозабора, следуя инструкциям в соответствующих
параграфах.
Соединения котла спроектированы для выполнения подключений с использованием прокладки надлежащих
размеров из материалов, которые гарантируют надежную фиксацию без излишнего затягивания. Для
уплотнения не рекомендуется использование пакли, тефлона и других подобного рода материалов.
Содержание
- 6 Перечень безопасных обозначений; Ссылки на законы и нормы; Персонал, ответственный за установку
- 7 Предупреждения пользователю; В случае запаха газа; Первый пуск и использование
- 9 Если обозначения
- 10 Двухзначный дисплей под символом; Отображает температуру подачи; Трехзначный дисплей под символом; Сообщает об установке уличного датчика температуры (аксессуары).
- 11 Нижняя панель котла; Манометр системы отопления; Внешние органы управления котлом; Federica Bugatti; Стандартные операции с панелью управления; OFF; Включение котла
- 12 Установка температуры; Регулирование отопления:; Возможный сбой в работе котла; Отсутствие пламени на горелке
- 14 RESET; SERVICE; Функция «Антизамерзание помещения»
- 15 Расположение; Минимальные расстояния; Габаритные и присоединительные размеры
- 16 Диаграмма мощности циркуляционного насоса; Напольные системы
- 17 Защита от замерзания; Производитель не
- 18 Позиционирование и навеска котла
- 19 Гидравлические системы (ГВС и отопление); В случае очень грязной или старой системы; специальные; Система отопления
- 20 Заполнение и регулирование давления системы отопления
- 21 Подключение газа; оригинальные части.
- 22 Подключение к электросети; Ни в коем случае не
- 23 Подсоединение к дымоходу; Общие рекомендации; Диафрагма для коротких систем
- 24 Виды систем дымоудаления и воздухозабора; AS
- 25 Регулирование Макс. мощности в режиме отопления; Закрутите винт на выходе; убидитесь в отсутствии утечки газа.
- 26 Возможные конфигурации дымохода
- 27 Регулирование и техническое обслуживание; Операции по первому запуску котла.
- 28 проверьте отсутствие утечки газа
- 29 Установка параметров котла (Техническое меню)
- 30 Основные параметры котла
- 32 Контроль горения
- 33 Снять с котла напряжение.; Переход на другой тип газа; Активируйте параметр 01
- 34 Убедитесь в отсутствии утечек газа.; Опорожнение системы
- 35 Ошибки в работе котла и способы их устранения
- 38 Меры предосторожности при обслуживании
- 39 Внутренние компоненты котла
- 40 Схема электрических соединений; ● NC
- 41 Гидравлическая схема
- 42 Датчик внешней температуры; Установка и программирование; высокой термической дисперсии и менее эффективной изоляции
- 43 Технические характеристики
- 44 Tec; Тепловая мощность
- 45 Техническое обслуживание; Плановое обслуживание
- 46 Акт сдачи прибора в эксплуатацию; Содержание CO
- 47 Пример: параметр Р1 изменен с 0 на 1; Регулирование отопления
- 48 Здесь приклеить протокол замеров.
- 49 Гарантийные обязательства
- 51 Гарантийный талон; Заводской и; пуск и наладку; Подпись покупателя:; Замечания при запуске:
- 53 Периодическое техобслуживание
Здравствуйте. На дисплее котла стоит ошибка E 08. Что это означает и как исправить?
Здравствуйте, перепускает предохранительный клапан, Бугатти 24 ???