Котел BAXI SLIM 1.300 i WSB43130301 - инструкция пользователя по применению, эксплуатации и установке на русском языке. Мы надеемся, она поможет вам решить возникшие у вас вопросы при эксплуатации техники.
Если остались вопросы, задайте их в комментариях после инструкции.
"Загружаем инструкцию", означает, что нужно подождать пока файл загрузится и можно будет его читать онлайн. Некоторые инструкции очень большие и время их появления зависит от вашей скорости интернета.

SLIM i – iN
руководство
для
технического
персонала
14
газовые
напольные
котлы
5.1
ДОСТУП
К
КЛЕММНОЙ
КОЛОДКЕ
ЭЛЕКТРОПИТАНИЯ
•
Обесточить
котел
при
помощи
двухполюсного выключателя.
•
Снять крышку, потянув ее вверх.
•
Открыть  переднюю  дверцу,  потянув  ее  за
верхние углы.
•
Отвинтить  два  крепежных  винта  панели
управления.
•
Наклонить панель управления вперед.
•
Отвинтить  винты  и  получить  доступ  к
клеммной электрической колодке.
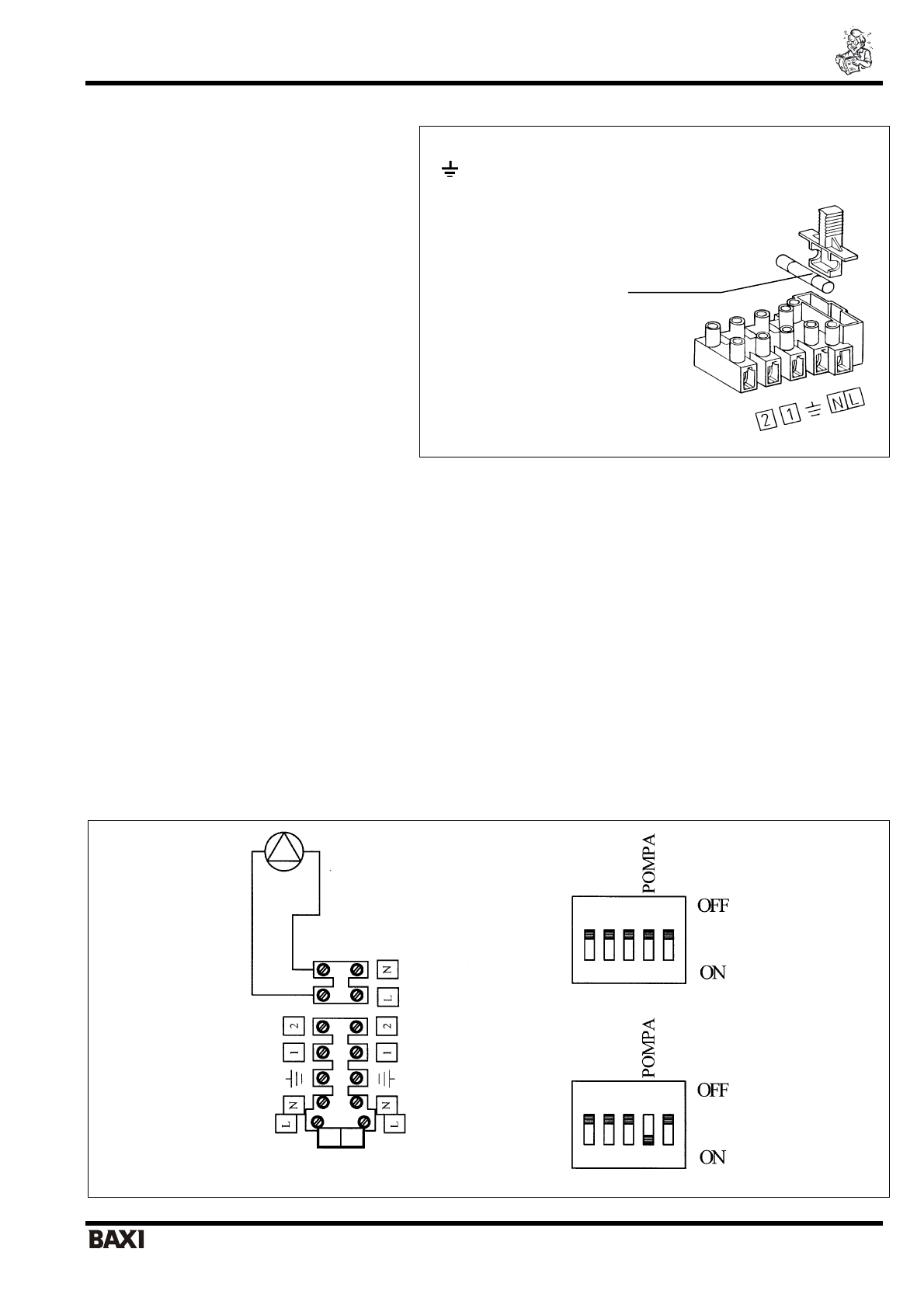
•
В клеммной колодке имеется также плавкий
предохранитель  быстрого  срабатывания  на
2А (рис. 7).
(L) =
фаза
,
коричневый
(
Т
) =
нейтраль
,
голубой
=
земля
,
желто
-
зеленый
(1) (2) =
контакты
для
присоединения
комнатного
термостата
Рис
. 7:
Клеммная
колодка
электропитания
5.2.
ПРИСОЕДИНЕНИЕ
ДАТЧИКА
ТЯГИ
(
для
моделей
1.400 iN, 1.490 iN, 1.620 iN)
Для  нормальной  работы  данных  моделей  необходимо  выполнить  электрическое  присоединение  датчика  тяги, 
установленного на устройстве противотяги. 
Установите переключатель  датчика тяги и зафиксируйте его в соответствии с прилагаемыми инструкциями при помощи 
соответствующих пружины и зажима, поставляемых в комплекте. 
5.3.
ПРИСОЕДИНЕНИЕ
ЦИРКУЛЯЦИОННОГО
НАСОСА
(
только
для
моделей
iN)
Модели  iN  поставляются  без  циркуляционного  насоса.  Для  включения  насоса  напрямую  от  котла  необходимо 
выполнить следующие операции по присоединению насоса: 
•
Отключить котел от электросети при помощи двухполюсного выключателя.
•
Открыть и снять переднюю дверцу и верхнюю панель котла.
•
Провести  кабель  электропитания  насоса  через  кабеледержатели  (необходимо  использовать  кабель  с  медными
жилами  3x1  мм
2
с максимальным внешним диаметром 8 мм или кабель с аналогичными характеристиками).
Получить  доступ  к  клеммной  колодке  электропитания  в  соответствии  с  разделом  «Электрическое  присоединение
котла. Доступ к клеммной колодке электропитания».
•
Выполнить электрическое присоединение в соответствии с электрической схемой § 6.
Рис
. 8:
Присоединение
насоса
плавкий
предохранитель
Постциркуляция 
насоса – 
3
мин
(при выключении 
по сигналу 
комнатного 
термостата)  
Постциркуляция 
насоса – 
4
часа
(при выключении 
по сигналу 
комнатного 
термостата)  
 
  
  
  
  
  
  
  
  
  
  
  
  
  
  
  
  
  
  
  
  
  
  
  
  
  
  
  
  
  
  
  
  
  
  
  
 











