Baxi POWER HT (45-65 кВт) - Инструкция по эксплуатации - Страница 5

Котел Baxi POWER HT (45-65 кВт) - инструкция пользователя по применению, эксплуатации и установке на русском языке. Мы надеемся, она поможет вам решить возникшие у вас вопросы при эксплуатации техники.

Если остались вопросы, задайте их в комментариях после инструкции.

"Загружаем инструкцию", означает, что нужно подождать пока файл загрузится и можно будет его читать онлайн. Некоторые инструкции очень большие и время их появления зависит от вашей скорости интернета.
Страница:
/ 34
Загружаем инструкцию
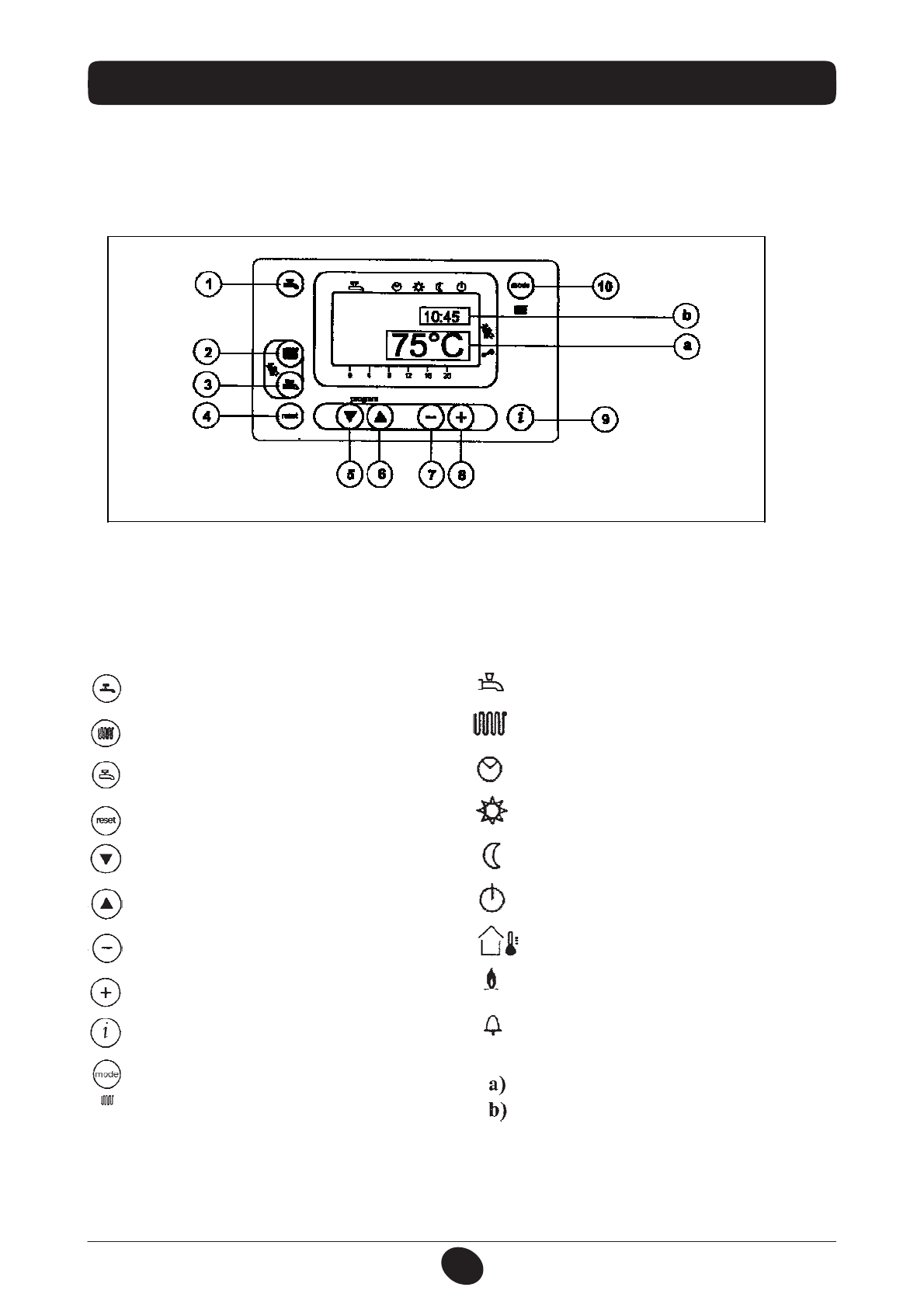
background image

 

 

 

910.000.1 - 

 

69

 

 

3. 

 

 

 

 

 

 

 

1) 

 

   

2) 

 

 

3) 

 

 

 

 

 

 

 

   

 

 
 

 

 

 

 1

 

 

   

 

   

 

 

 

 

   

 

.

 

 

 

 

 

 

 

 

  

                                                                                                      

:  

     

 

 

 

 

 

/

 

 

 

 

 

 

 

 

 

 

 

 

 

 

 

 (

 

   

 

   

 

 

 (

 

   

 

   

 

 

 (

 

 

  

(

 

 

 

  

 

 

 

 

 

 

 

 

 

 

 

 

 

 

 

 

 

 

 

 

 

 

   

 

 

 

 

   

 

 

 

 

 

 

 

   

 

 

 

 

 

 

 

 

 

 

 

 

 

 

 

 (

 

)  

 

 

 

 

 

 

 

 

Полезные видео

Характеристики

Оцените статью
tehnopanorama.ru
Остались вопросы?

Не нашли свой ответ в руководстве или возникли другие проблемы? Задайте свой вопрос в форме ниже с подробным описанием вашей ситуации, чтобы другие люди и специалисты смогли дать на него ответ. Если вы знаете как решить проблему другого человека, пожалуйста, подскажите ему :)

Задать вопрос

Часто задаваемые вопросы
Как посмотреть инструкцию к Baxi POWER HT (45-65 кВт)?
Необходимо подождать полной загрузки инструкции в сером окне на данной странице
Руководство на русском языке?
Все наши руководства представлены на русском языке или схематично, поэтому вы без труда сможете разобраться с вашей моделью
Как скопировать текст из PDF?
Чтобы скопировать текст со страницы инструкции воспользуйтесь вкладкой "HTML"